8 800 700-05-95 Все контакты

C 9:00 до 20:00. Звонок по РФ бесплатный

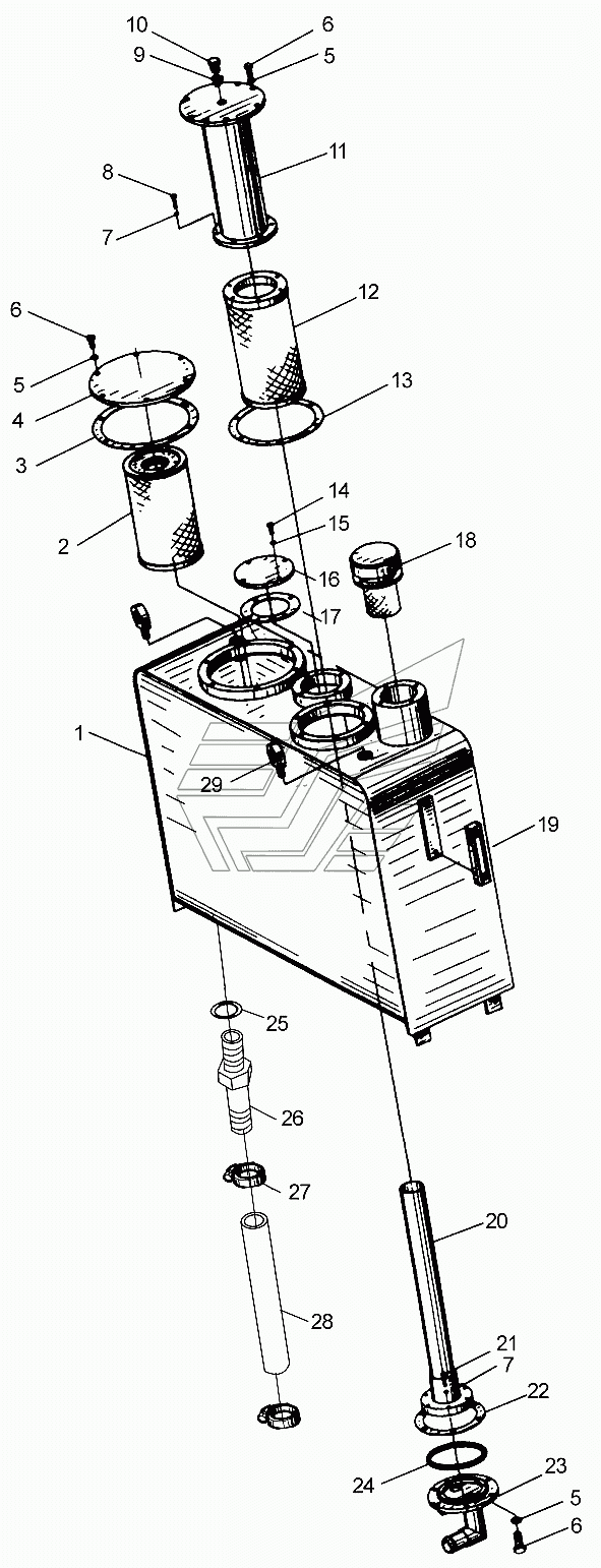
Гидробак LW300FN. Каталог 2013г.

ВниманиеЭлектронный автокаталог запчастей предназначен для справочных целей! Наша компания продает только те товары, у которых есть цены в списке.

Вид отображения:

Детали справа
1

Номер детали на чертеже: 

1

Корпус маслобака

Заводской номер: 251700372 Количество на модель: 1
251700372
1
2

Номер детали на чертеже: 

2

Фильтроэлемент возвратного масла гидравлического масла

Заводской номер: 803164959 Количество на модель: 1
803164959
1
3

Номер детали на чертеже: 

3

Шайба

Заводской номер: 250100457 Количество на модель: 1
250100457
1
4

Номер детали на чертеже: 

4

Фланцевая крышка

Заводской номер: 250100781 Количество на модель: 1
250100781
1
5

Номер детали на чертеже: 

5

Шайба 10

Заводской номер: 805300014 Количество на модель: 22
805300014
22
6

Номер детали на чертеже: 

6

Болт М10х25

Заводской номер: 805000727 Количество на модель: 18
805000727
18
7

Номер детали на чертеже: 

7

Шайба М6

Заводской номер: 805300030 Количество на модель: 12
805300030
12
8

Номер детали на чертеже: 

8

Болт М6х18

Заводской номер: 805002022 Количество на модель: 6
805002022
6
9

Номер детали на чертеже: 

9

Шайба 14

Заводской номер: 805301410 Количество на модель: 1
805301410
1
10

Номер детали на чертеже: 

10

Пробка M14x1.5

Заводской номер: 803107807 Количество на модель: 1
803107807
1
11

Номер детали на чертеже: 

11

Всасывающая перекрышка

Заводской номер: 250100784 Количество на модель: 1
250100784
1
12

Номер детали на чертеже: 

12

Всасывающий фильтрующий элемент

Заводской номер: 803164960 Количество на модель: 1
803164960
1
13

Номер детали на чертеже: 

13

Шайба

Заводской номер: 250100439 Количество на модель: 1
250100439
1
14

Номер детали на чертеже: 

14

Болт М8х20

Заводской номер: 805000018 Количество на модель: 4
805000018
4
15

Номер детали на чертеже: 

15

Шайба 8

Заводской номер: 805300010 Количество на модель: 10
805300010
10
16

Номер детали на чертеже: 

16

Перекрышка

Заводской номер: 250100786 Количество на модель: 1
250100786
1
17

Номер детали на чертеже: 

17

Шайба

Заводской номер: 250100451 Количество на модель: 1
250100451
1
18

Номер детали на чертеже: 

18

Фильтр заправочного гидравлического масла

Заводской номер: 803164217 Количество на модель: 1
803164217
1
19

Номер детали на чертеже: 

19

Указатель уровня

Заводской номер: 803164214 Количество на модель: 1
803164214
1
20

Номер детали на чертеже: 

20

Всасывающее соединение

Заводской номер: 250100785 Количество на модель: 1
250100785
1
21

Номер детали на чертеже: 

21

Болт М6х30

Заводской номер: 805000126 Количество на модель: 6
805000126
6
22

Номер детали на чертеже: 

22

Шайба

Заводской номер: 251900318 Количество на модель: 1
251900318
1
23

Номер детали на чертеже: 

23

Фланцевое соединение

Заводской номер: 251700376 Количество на модель: 1
251700376
1
24

Номер детали на чертеже: 

24

О-образное уплотнительное кольцо 115x3.55

Заводской номер: 801100112 Количество на модель: 1
801100112
1
25

Номер детали на чертеже: 

25

Шайба 27

Заводской номер: 805301416 Количество на модель: 1
805301416
1
26

Номер детали на чертеже: 

26

Соединение

Заводской номер: 250900255 Количество на модель: 1
250900255
1
27

Номер детали на чертеже: 

27

Кольцевой хомут из двух стальных проловок 28-32

Заводской номер: 801902699 Количество на модель: 1
801902699
1
28

Номер детали на чертеже: 

28

Шланг низкого давления

Заводской номер: 250900257 Количество на модель: 1
250900257
1
29

Номер детали на чертеже: 

29

Винт M16

Заводской номер: 805100348 Количество на модель: 2
805100348
2