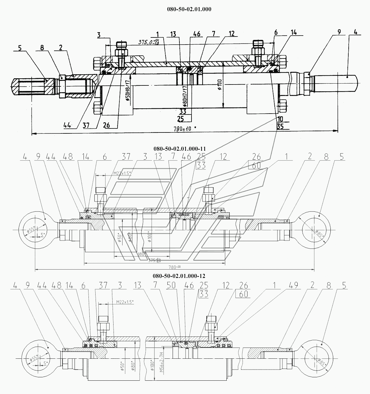
080-50-02.01.000 Гидроцилиндр рулевой для модификаций с опорой-отвалом и стабилизаторами с уплотнениями «Элконт», 080-50-02.01.000-11 (с уплотнениями «ПолиПак»), 080-50-02.01.000-12 (с уплотнениями «Элконт») ЕК-12 (2013). Каталог 2013г.

ВниманиеЭлектронный автокаталог запчастей предназначен для справочных целей! Наша компания продает только те товары, у которых есть цены в списке.

Вид отображения:

Детали справа
1

Номер детали на чертеже: 

1

Цилиндр

Заводской номер: 080-50-02.01.001 Количество на модель: 1
080-50-02.01.001
1
2

Номер детали на чертеже: 

2

Шток

Заводской номер: 080-50-02.01.002 Количество на модель: 1
080-50-02.01.002
1
3

Номер детали на чертеже: 

3

Букса

Заводской номер: 080-50-02.01.003 Количество на модель: 2
080-50-02.01.003
2
3

Номер детали на чертеже: 

3

Букса

Заводской номер: 080-50-02.01.003-11 Количество на модель: 2
080-50-02.01.003-11
2
3

Номер детали на чертеже: 

3

Букса

Заводской номер: 080-50-02.01.003-12 Количество на модель: 2
080-50-02.01.003-12
2
4

Номер детали на чертеже: 

4

Проушина правая

Заводской номер: 080-50-02.01.004 Количество на модель: 1
080-50-02.01.004
1
5

Номер детали на чертеже: 

5

Проушина левая

Заводской номер: 080-50-02.01.005 Количество на модель: 1
080-50-02.01.005
1
6

Номер детали на чертеже: 

6

Кольцо стопорное

Заводской номер: 080-50-02.01.006 Количество на модель: 2
080-50-02.01.006
2
7

Номер детали на чертеже: 

7

Поршень

Заводской номер: 080-50-02.01.007-12 Количество на модель: 1
080-50-02.01.007-12
1
7

Номер детали на чертеже: 

7

Поршень

Заводской номер: 080-50-02.01.007-11 Количество на модель: 1
080-50-02.01.007-11
1
7

Номер детали на чертеже: 

7

Поршень

Заводской номер: 080-50-02.01.007 Количество на модель: 1
080-50-02.01.007
1
8

Номер детали на чертеже: 

8

Гайка левая

Заводской номер: 080-50-02.01.008 Количество на модель: 1
080-50-02.01.008
1
9

Номер детали на чертеже: 

9

Гайка правая

Заводской номер: 080-50-02.01.009 Количество на модель: 1
080-50-02.01.009
1
10

Номер детали на чертеже: 

10

Шайба защитная

Заводской номер: 080-50-02.01.010 Количество на модель: 2
080-50-02.01.010
2
12

Номер детали на чертеже: 

12

Полукольцо

Заводской номер: 080-50-02.01.012 Количество на модель: 2
080-50-02.01.012
2
13

Номер детали на чертеже: 

13

Кольцо

Заводской номер: 080-50-02.01.013 Количество на модель: 1
080-50-02.01.013
1
14

Номер детали на чертеже: 

14

Втулка

Заводской номер: 080-50-02.01.014 Количество на модель: 2
080-50-02.01.014
2
25

Номер детали на чертеже: 

25

Шайба защитная

Заводской номер: 080-50-02.00.010 Количество на модель: 2
080-50-02.00.010
2
26

Номер детали на чертеже: 

26

Штуцер

Заводской номер: 080-50-02.00.013 Количество на модель: 2
080-50-02.00.013
2
33

Номер детали на чертеже: 

33

Кольцо

Заводской номер: 045-050-30 Количество на модель: 1
045-050-30
1
042932
Не указан
045-050-30
Производитель: Не указан
235270
БЕЛАРУСЬРЕЗИНОТЕХНИКА
045-050-30-2-2
Код: 235270
Артикул: 045-050-30-2-2,
Производитель: БЕЛАРУСЬРЕЗИНОТЕХНИКА
35

Номер детали на чертеже: 

35

Кольцо

Заводской номер: 050-060-58 Количество на модель: 2
050-060-58
2
405790
ВИТЯЗЬ
Ц125*РК 3016
Код: 405790
Артикул: Ц125*РК, 3016
Производитель: ВИТЯЗЬ
405839
ВИТЯЗЬ
Ц125*РК 3015
Код: 405839
Артикул: Ц125*РК, 3015
Производитель: ВИТЯЗЬ
405840
ВИТЯЗЬ
Ц125хРК 3014
Код: 405840
Артикул: Ц125хРК, 3014
Производитель: ВИТЯЗЬ
235275
БЕЛАРУСЬРЕЗИНОТЕХНИКА
050-060-58-2-2
Код: 235275
Артикул: 050-060-58-2-2,
Производитель: БЕЛАРУСЬРЕЗИНОТЕХНИКА
37

Номер детали на чертеже: 

37

Кольцо

Заводской номер: 075-080-30 Количество на модель: 2
075-080-30
2
510212
Не указан
8.32.112 075х080-30
Код: 510212
Артикул: 8.32.112, 075х080-30
Под заказ

На складах : Под заказ

Производитель: Не указан
864135
МУРОМТЕПЛОВОЗ
8.32.112
Код: 864135
Артикул: 8.32.112,
Производитель: МУРОМТЕПЛОВОЗ
405617
ВИТЯЗЬ
Ц125*РК 3064
Код: 405617
Артикул: Ц125*РК, 3064
Производитель: ВИТЯЗЬ
405996
ВИТЯЗЬ
54.31*РК 1708
Код: 405996
Артикул: 54.31*РК, 1708
Производитель: ВИТЯЗЬ
607811
ВИТЯЗЬ
24-21*РК 3604
Код: 607811
Артикул: 24-21*РК, 3604
Производитель: ВИТЯЗЬ
44

Номер детали на чертеже: 

44

Грязесъёмник

Заводской номер: Е50-А-050-5 Количество на модель: 2
Е50-А-050-5
2
44

Номер детали на чертеже: 

44

Грязесъёмник

Заводской номер: PW50 Количество на модель: 2
PW50
2
44

Номер детали на чертеже: 

44

Грязесъёмник

Заводской номер: 01-050 Количество на модель: 2
01-050
2
44

Номер детали на чертеже: 

44

Грязесъёмник

Заводской номер: Е52-50 Количество на модель: 2
Е52-50
2
46

Номер детали на чертеже: 

46

Уплотнение поршня

Заводской номер: Е15М-080-5 Количество на модель: 1
Е15М-080-5
1
46

Номер детали на чертеже: 

46

Уплотнение поршня

Заводской номер: DPS8066 Количество на модель: 1
DPS8066
1
46

Номер детали на чертеже: 

46

Уплотнение поршня

Заводской номер: 02-080 Количество на модель: 1
02-080
1
46

Номер детали на чертеже: 

46

Уплотнение поршня

Заводской номер: Е13-80 Количество на модель: 1
Е13-80
1
48

Номер детали на чертеже: 

48

Уплотнение штока

Заводской номер: TS506510/LA Количество на модель: 2
TS506510/LA
2
48

Номер детали на чертеже: 

48

Уплотнение штока

Заводской номер: Е06-050-5 Количество на модель: 4
Е06-050-5
4
49

Номер детали на чертеже: 

49

Кольцо

Заводской номер: Е20-050-055 Количество на модель: 2
Е20-050-055
2
50

Номер детали на чертеже: 

50

Кольцо

Заводской номер: Е20-075-080 Количество на модель: 2
Е20-075-080
2