КамАЗ-740.14-300 (Евро 1)
Четырёхтактный восьмицилиндровый V-образный дизельный двигатель 740.14-300 выпускается с 2002 года. Устанавливается на автомобили КамАЗ.
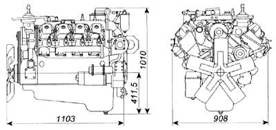
Число тактов: 4
Число цилиндров: 8
Расположение цилиндров: V-образное
Угол развала: 90°
Порядок работы цилиндров: 1-5-4-2-6-3-7-8
Диаметр цилиндра и ход поршня, мм: 120x120
Рабочий объем, л: 10,85
Номинальная мощность брутто, кВт (л.с.): 220 (300)
Максимальный крутящий момент, брутто, Н·м (кгс·м): 951 (97)
Частота вращения коленвала, мин:
- номинальная: 2600±50
- при максимальном крутящем моменте: 1500-1800
- на холостом ходу, не более:
минимальная: 600±50
максимальная: 2930
Модель ТНВД: 373-80.01
Модель форсунки: 273-51
Минимальный удельный расход топлива (по внешней скоростной характеристике), г/кВт·ч (г/л.с.·ч): 211 (155)

Запчасти в продаже