8 800 700-05-95 Все контакты

C 9:00 до 20:00. Звонок по РФ бесплатный

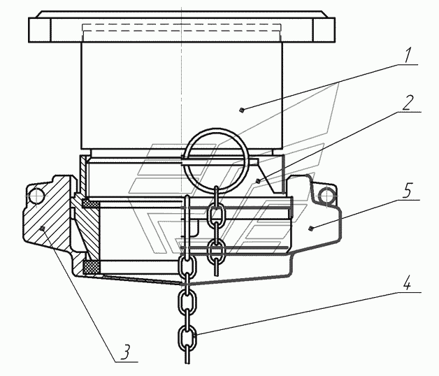
66061-8000250 Патрубок в сборе НефАЗ-96894. Каталог 2011г.

ВниманиеЭлектронный автокаталог запчастей предназначен для справочных целей! Наша компания продает только те товары, у которых есть цены в списке.

Вид отображения:

Детали справа
1
2
3
4
5
1

Номер детали на чертеже: 

1

Патрубок

Заводской номер: 66061-8000255 Количество на модель: 1
66061-8000255
1
2

Номер детали на чертеже: 

2

Адаптер VK-80 BR30

Заводской номер: 833.310300.130 Количество на модель: 1
833.310300.130
1
3

Номер детали на чертеже: 

3

Крышка МВ-80 AL30

Заводской номер: 832.310000.040 Количество на модель: 1
832.310000.040
1
4

Номер детали на чертеже: 

4

Цепочка KN300 SS

Заводской номер: 000.310000.060 Количество на модель: 1
000.310000.060
1
5

Номер детали на чертеже: 

5

Быстроразъемное соединение 3-80-0-0

Заводской номер: 794.00.00.00-07 Количество на модель: 1
794.00.00.00-07
1