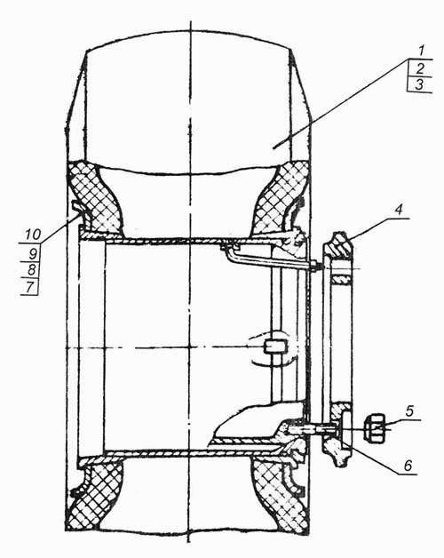
Установка колес 7505-3101001 МоАЗ-7505
АЗ "УРАЛ" входит в состав "Группы ГАЗ". Дата образования АЗ "УРАЛ" - 2001 год. Автомобильный завод Урал появился в результате перестройки производственного комплекса "УралАЗ". На сегодняшний день АЗ "УРАЛ" является основным звеном в структуре дивизиона "Грузовые автомобили" и занимает ведущие позиции на российском рынке полноприводных большегрузных автомобилей.
Основное назначение завода: Производство полноприводных грузовых автомобилей, дорожных грузовиков, вахтовых автобусов. На базе шасси "УРАЛ" работают более 400 видов спецтехники: вахтовые автобусы, автоцистерны, подъемные краны, топливозаправщики, пожарные автомобили, разнообразные агрегаты для лесопромышленного и нефтегазового комплекса, горной промышленности и коммунального хозяйства.
Автомобильная техника УРАЛ используется, как государственными предприятиями, так и крупными частными компаниями. В нефтегазодобывающей отрасли востребованы: бортовые автомобили, трубовозы, седельные тягачи, топливозаправщики. В начале 90-х годов на шасси "УРАЛ" изготовили спецтехнику для газодобывающей отрасли: цементировочные агрегаты, агрегаты ремонта скважин, ремонтные мастерские и др.
Основными заказчиками являются нефтяные гиганты ОАО "Газпром", ОАО "НК "Роснефть", ОАО "Сургутнефтегаз, "ТНК-ВP", энергокомпания РАО "ЕЭС", а также ряд министерств Российской Федерации: Министерство обороны, Министерство по чрезвычайным ситуациям, Министерство внутренних дел.
С 2005 года Автомобильный завод УРАЛ освоил серийное производство таких автомобилей, как седельный тягач "УРАЛ-63674" и самосвалов с грузоподъёмностью более 20 тонн "УРАЛ-63685" и "УРАЛ-6563". В 2007-2008 году на Автомобильном заводе "УРАЛ" внедряют передовые технологии:
- внедрение новой производственной системы "lean production".
- внедрение современной автоматизированной ERP-системы
- внедрение системы "Ворота Качества".
- внедрение системы менеджмента качества в соответствии с требованиями стандартов ISO 9001:2000 и ISO 9001:2008.
- внедрение СМК соответствующей требованиям ИСО/ТУ 16949:2002.
АЗ "УРАЛ" постоянно работает на расширение модельного ряда. Так в 2010 году в серийное производство был запущен вахтовый автобус Урал-32552-3011-59 и самосвал Урал-6370. А уже в 2011 году на заводе разработали вахтовый автобус на пневмоподвеске, которая обеспечит высокую плавность хода даже в условиях бездорожья.
"АвтоАльянс" активно развивает направление запчастей для автомобилей УРАЛ. В продаже широкий ассортимент продукции АЗ "УРАЛ" по оптимальным ценам. Для Вас всегда работает группа специалистов по запчастям на автомобили УРАЛ.
На складах : 1600 шт.
АЗ "УРАЛ" входит в состав "Группы ГАЗ". Дата образования АЗ "УРАЛ" - 2001 год. Автомобильный завод Урал появился в результате перестройки производственного комплекса "УралАЗ". На сегодняшний день АЗ "УРАЛ" является основным звеном в структуре дивизиона "Грузовые автомобили" и занимает ведущие позиции на российском рынке полноприводных большегрузных автомобилей.
Основное назначение завода: Производство полноприводных грузовых автомобилей, дорожных грузовиков, вахтовых автобусов. На базе шасси "УРАЛ" работают более 400 видов спецтехники: вахтовые автобусы, автоцистерны, подъемные краны, топливозаправщики, пожарные автомобили, разнообразные агрегаты для лесопромышленного и нефтегазового комплекса, горной промышленности и коммунального хозяйства.
Автомобильная техника УРАЛ используется, как государственными предприятиями, так и крупными частными компаниями. В нефтегазодобывающей отрасли востребованы: бортовые автомобили, трубовозы, седельные тягачи, топливозаправщики. В начале 90-х годов на шасси "УРАЛ" изготовили спецтехнику для газодобывающей отрасли: цементировочные агрегаты, агрегаты ремонта скважин, ремонтные мастерские и др.
Основными заказчиками являются нефтяные гиганты ОАО "Газпром", ОАО "НК "Роснефть", ОАО "Сургутнефтегаз, "ТНК-ВP", энергокомпания РАО "ЕЭС", а также ряд министерств Российской Федерации: Министерство обороны, Министерство по чрезвычайным ситуациям, Министерство внутренних дел.
С 2005 года Автомобильный завод УРАЛ освоил серийное производство таких автомобилей, как седельный тягач "УРАЛ-63674" и самосвалов с грузоподъёмностью более 20 тонн "УРАЛ-63685" и "УРАЛ-6563". В 2007-2008 году на Автомобильном заводе "УРАЛ" внедряют передовые технологии:
- внедрение новой производственной системы "lean production".
- внедрение современной автоматизированной ERP-системы
- внедрение системы "Ворота Качества".
- внедрение системы менеджмента качества в соответствии с требованиями стандартов ISO 9001:2000 и ISO 9001:2008.
- внедрение СМК соответствующей требованиям ИСО/ТУ 16949:2002.
АЗ "УРАЛ" постоянно работает на расширение модельного ряда. Так в 2010 году в серийное производство был запущен вахтовый автобус Урал-32552-3011-59 и самосвал Урал-6370. А уже в 2011 году на заводе разработали вахтовый автобус на пневмоподвеске, которая обеспечит высокую плавность хода даже в условиях бездорожья.
"АвтоАльянс" активно развивает направление запчастей для автомобилей УРАЛ. В продаже широкий ассортимент продукции АЗ "УРАЛ" по оптимальным ценам. Для Вас всегда работает группа специалистов по запчастям на автомобили УРАЛ.
СПЕЦМАШ — имя, ставшее синонимом надежности в сфере спецтехники и комплектующих. С момента основания в 1932 году в Ленинграде компания прошла путь от конструкторского бюро до ведущего производителя энергонасыщенных машин, востребованных в дорожном строительстве, нефтегазовой отрасли и других сферах.
За почти столетие инженеры СПЕЦМАШ разработали более 140 моделей техники, 75 из которых выпущены серийно. В их числе — уникальные гусеничные краны, самоходные установки на базе «Кировца» и другие решения, подтвержденные сотнями патентов и государственных наград.
Сегодня СПЕЦМАШ — это не просто завод, а полноценный инновационный холдинг с собственным КБ, исследовательским центром и испытательной базой. Такая структура позволяет не только создавать технику, но и внедрять прорывные технологии, гарантируя качество и долговечность продукции.
Ответом на современные вызовы стал запуск производства запчастей для грузовиков. Это снизило зависимость от импорта, укрепило контроль качества и расширило ассортимент для рынков России и ЕАЭС. Компания активно сотрудничает со странами СНГ, соблюдая строгие стандарты Таможенного союза.
В планах до 2030 года — цифровая трансформация: внедрение AI, IoT и роботизации. Акцент делается на экологичность и энергоэффективность, что соответствует глобальным трендам. Опытная команда СПЕЦМАШ сочетает техническое мастерство с клиентоориентированностью, предлагая не просто машины, а комплексные решения. Это делает компанию trusted-партнером в транспортном машиностроении.
Ассортимент:
- Ремкомплект трубки тормозной
- Болт-штуцер
- Болт
- Трубка тормозная
- Палец
- Фильтр масляный
- Кольцо
- Трубка топливная
- Ось
- Шланг подкачки колеса
- Втулка
- Замок двери
- Опора
СПЕЦМАШ — имя, ставшее синонимом надежности в сфере спецтехники и комплектующих. С момента основания в 1932 году в Ленинграде компания прошла путь от конструкторского бюро до ведущего производителя энергонасыщенных машин, востребованных в дорожном строительстве, нефтегазовой отрасли и других сферах.
За почти столетие инженеры СПЕЦМАШ разработали более 140 моделей техники, 75 из которых выпущены серийно. В их числе — уникальные гусеничные краны, самоходные установки на базе «Кировца» и другие решения, подтвержденные сотнями патентов и государственных наград.
Сегодня СПЕЦМАШ — это не просто завод, а полноценный инновационный холдинг с собственным КБ, исследовательским центром и испытательной базой. Такая структура позволяет не только создавать технику, но и внедрять прорывные технологии, гарантируя качество и долговечность продукции.
Ответом на современные вызовы стал запуск производства запчастей для грузовиков. Это снизило зависимость от импорта, укрепило контроль качества и расширило ассортимент для рынков России и ЕАЭС. Компания активно сотрудничает со странами СНГ, соблюдая строгие стандарты Таможенного союза.
В планах до 2030 года — цифровая трансформация: внедрение AI, IoT и роботизации. Акцент делается на экологичность и энергоэффективность, что соответствует глобальным трендам. Опытная команда СПЕЦМАШ сочетает техническое мастерство с клиентоориентированностью, предлагая не просто машины, а комплексные решения. Это делает компанию trusted-партнером в транспортном машиностроении.
Ассортимент:
- Ремкомплект трубки тормозной
- Болт-штуцер
- Болт
- Трубка тормозная
- Палец
- Фильтр масляный
- Кольцо
- Трубка топливная
- Ось
- Шланг подкачки колеса
- Втулка
- Замок двери
- Опора
MEGAPOWER Automotive – бренд с почти 30-летней историей.
История производства автомобильных компонентов MEGAPOWER Automotive началась в 1995 году. Бренд MEGAPOWER Automotive стал одним из первых на рынке, кто предложил автомобилистам светодиодные лампы в качестве достойной и технологичной альтернативы традиционным лампочкам накаливания. На протяжении второй половины 90-х и начала 2000х годов к ассортименту выпускаемой MEGAPOWER продукции добавились компрессоры для шин, безотказно работающие при любой погоде и обстоятельствах, щетки стеклоочистителя для широкой гаммы легковых и грузовых автомобилей, гидравлические домкраты грузоподъемностью до 50-ти тонн, надежные буксировочные тросы, зарядные устройства, стяжки груза и многое другое.
Важная особенность MEGAPOWER Automotive – поступательное развитие и внимание к деталям. Сочетание высоких технических характеристик, практичность и разумные цены сделали продукцию MEGAPOWER крайне востребованной как опытными водителями, так и сотрудниками сервисных центров.
В начале 2010-х MEGAPOWER Automotive перешел к новому этапу своего развития. Существенно расширился ассортименти и параллельно был запущен проект по выходу на смежный рынок автомобильных запчастей. С этого момента компания разделила 2 своих направления: автотовары, светотехнику и аксессуары продолжили выпускать с исходным красным логотипом, а для автомобильных запчастей была разработана обновленная стилистика оформления, упаковки и черно-голубой логотип.
Абсолютно все запасные части MEGAPOWER Automotive перед тем как попасть к конечному потребителю проверяются на 4х независимых этапах: проверка качества сырья перед началом производственного цикла, постоянный контроль всех параметров технологического процесса, осмотр и контроль изготовленных деталей перед упаковкой, выборочные испытания деталей из каждой партии на специализированных стендах. Запчасти MEGAPOWER имеют расширенную гарантию до 2 лет.
Основу предложения запасных частей MEGAPOWER Automotive составили высококачественные детали для грузовиков, малотоннажного транспорта, а с 2022 года и легковых автомобилей. Сегодня бренд выпускает запчасти двигателя и трансмиссии, подвески и ходовой части, тормозной и рулевой систем, электрооборудование и многое другое.
Продолжая свое развитие, MEGAPOWER Automotive совершенствует технологии, расширяет ассортимент, активно взаимодействует с потребителями продукции, улучшая текущие товары и разрабатывая новые.
Преимущества бренда:
- постоянное расширение ассортимента;
- двухлетняя гарантия качества продукции (1 год на турбокомпрессоры и автотовары);
- более 3500 позиций для грузовых и легковых автомобилей;
- крупносерийное производство;
- квалифицированные специалисты в области инженерных разработок;
На складах : 17669 шт.
MEGAPOWER Automotive – бренд с почти 30-летней историей.
История производства автомобильных компонентов MEGAPOWER Automotive началась в 1995 году. Бренд MEGAPOWER Automotive стал одним из первых на рынке, кто предложил автомобилистам светодиодные лампы в качестве достойной и технологичной альтернативы традиционным лампочкам накаливания. На протяжении второй половины 90-х и начала 2000х годов к ассортименту выпускаемой MEGAPOWER продукции добавились компрессоры для шин, безотказно работающие при любой погоде и обстоятельствах, щетки стеклоочистителя для широкой гаммы легковых и грузовых автомобилей, гидравлические домкраты грузоподъемностью до 50-ти тонн, надежные буксировочные тросы, зарядные устройства, стяжки груза и многое другое.
Важная особенность MEGAPOWER Automotive – поступательное развитие и внимание к деталям. Сочетание высоких технических характеристик, практичность и разумные цены сделали продукцию MEGAPOWER крайне востребованной как опытными водителями, так и сотрудниками сервисных центров.
В начале 2010-х MEGAPOWER Automotive перешел к новому этапу своего развития. Существенно расширился ассортименти и параллельно был запущен проект по выходу на смежный рынок автомобильных запчастей. С этого момента компания разделила 2 своих направления: автотовары, светотехнику и аксессуары продолжили выпускать с исходным красным логотипом, а для автомобильных запчастей была разработана обновленная стилистика оформления, упаковки и черно-голубой логотип.
Абсолютно все запасные части MEGAPOWER Automotive перед тем как попасть к конечному потребителю проверяются на 4х независимых этапах: проверка качества сырья перед началом производственного цикла, постоянный контроль всех параметров технологического процесса, осмотр и контроль изготовленных деталей перед упаковкой, выборочные испытания деталей из каждой партии на специализированных стендах. Запчасти MEGAPOWER имеют расширенную гарантию до 2 лет.
Основу предложения запасных частей MEGAPOWER Automotive составили высококачественные детали для грузовиков, малотоннажного транспорта, а с 2022 года и легковых автомобилей. Сегодня бренд выпускает запчасти двигателя и трансмиссии, подвески и ходовой части, тормозной и рулевой систем, электрооборудование и многое другое.
Продолжая свое развитие, MEGAPOWER Automotive совершенствует технологии, расширяет ассортимент, активно взаимодействует с потребителями продукции, улучшая текущие товары и разрабатывая новые.
Преимущества бренда:
- постоянное расширение ассортимента;
- двухлетняя гарантия качества продукции (1 год на турбокомпрессоры и автотовары);
- более 3500 позиций для грузовых и легковых автомобилей;
- крупносерийное производство;
- квалифицированные специалисты в области инженерных разработок;
Автомобильный концерн ГАЗ является одним из ведущих производителей в России. Компания предлагает запчасти для всех своих моделей автомобилей, а также поставляет комплектующие и сопутствующие товары на рынок автокомпонентов.
Преимущества автозапчастей ГАЗ заключаются в заметном качестве и надежности продукции, а также в доступных ценах. Благодаря использованию современных технологий и высококвалифицированному персоналу, ГАЗ гарантирует соответствующие характеристики продукции.
Все запчасти и компоненты проходят строгий контроль качества на каждом из этапов производства и подвергаются испытаниям в специальных лабораториях. Это обеспечивает стабильную работу и долговечность продукции ГАЗ. Детали производятся с использованием современных технологий и проверенных материалов. Это обеспечивает высокую производительность и безопасность автомобилей, а также улучшенный комфорт во время эксплуатации.
Компания предлагает широкий ассортимент запчастей для различных моделей автомобилей, а также для транспортных средств других марок. Все изделия имеют сертификаты соответствия и гарантию на производственные дефекты.
Кроме того, ГАЗ постоянно совершенствует свои продукты и осваивает новые рынки, чтобы удовлетворить даже самые неожиданные потребности своих клиентов. Все это выгодно выделяет автозапчасти и автокомпоненты ГАЗ в глазах покупателей, как в России, так и за ее пределами.
Ассортимент:
- Двигатели и их компоненты, такие как поршни, кольца, клапаны и т.д.
- Трансмиссия, включая коробки передач и дифференциалы.
- Системы выхлопа, включая глушители, катализаторы и трубы.
- Рулевое управление, включая рулевые рейки и насосы гидроусилителя руля.
- Подвеска, включая амортизаторы, пружины, рычаги и шаровые опоры.
- Тормозные системы, включая тормозные колодки, диски и суппорты.
- Электроника, включая стартеры, генераторы, аккумуляторы и свечи зажигания.
- Кузовные запчасти, включая крылья, двери, бамперы и фары.
Автомобильный концерн ГАЗ является одним из ведущих производителей в России. Компания предлагает запчасти для всех своих моделей автомобилей, а также поставляет комплектующие и сопутствующие товары на рынок автокомпонентов.
Преимущества автозапчастей ГАЗ заключаются в заметном качестве и надежности продукции, а также в доступных ценах. Благодаря использованию современных технологий и высококвалифицированному персоналу, ГАЗ гарантирует соответствующие характеристики продукции.
Все запчасти и компоненты проходят строгий контроль качества на каждом из этапов производства и подвергаются испытаниям в специальных лабораториях. Это обеспечивает стабильную работу и долговечность продукции ГАЗ. Детали производятся с использованием современных технологий и проверенных материалов. Это обеспечивает высокую производительность и безопасность автомобилей, а также улучшенный комфорт во время эксплуатации.
Компания предлагает широкий ассортимент запчастей для различных моделей автомобилей, а также для транспортных средств других марок. Все изделия имеют сертификаты соответствия и гарантию на производственные дефекты.
Кроме того, ГАЗ постоянно совершенствует свои продукты и осваивает новые рынки, чтобы удовлетворить даже самые неожиданные потребности своих клиентов. Все это выгодно выделяет автозапчасти и автокомпоненты ГАЗ в глазах покупателей, как в России, так и за ее пределами.
Ассортимент:
- Двигатели и их компоненты, такие как поршни, кольца, клапаны и т.д.
- Трансмиссия, включая коробки передач и дифференциалы.
- Системы выхлопа, включая глушители, катализаторы и трубы.
- Рулевое управление, включая рулевые рейки и насосы гидроусилителя руля.
- Подвеска, включая амортизаторы, пружины, рычаги и шаровые опоры.
- Тормозные системы, включая тормозные колодки, диски и суппорты.
- Электроника, включая стартеры, генераторы, аккумуляторы и свечи зажигания.
- Кузовные запчасти, включая крылья, двери, бамперы и фары.
MEGAPOWER Automotive – бренд с почти 30-летней историей.
История производства автомобильных компонентов MEGAPOWER Automotive началась в 1995 году. Бренд MEGAPOWER Automotive стал одним из первых на рынке, кто предложил автомобилистам светодиодные лампы в качестве достойной и технологичной альтернативы традиционным лампочкам накаливания. На протяжении второй половины 90-х и начала 2000х годов к ассортименту выпускаемой MEGAPOWER продукции добавились компрессоры для шин, безотказно работающие при любой погоде и обстоятельствах, щетки стеклоочистителя для широкой гаммы легковых и грузовых автомобилей, гидравлические домкраты грузоподъемностью до 50-ти тонн, надежные буксировочные тросы, зарядные устройства, стяжки груза и многое другое.
Важная особенность MEGAPOWER Automotive – поступательное развитие и внимание к деталям. Сочетание высоких технических характеристик, практичность и разумные цены сделали продукцию MEGAPOWER крайне востребованной как опытными водителями, так и сотрудниками сервисных центров.
В начале 2010-х MEGAPOWER Automotive перешел к новому этапу своего развития. Существенно расширился ассортименти и параллельно был запущен проект по выходу на смежный рынок автомобильных запчастей. С этого момента компания разделила 2 своих направления: автотовары, светотехнику и аксессуары продолжили выпускать с исходным красным логотипом, а для автомобильных запчастей была разработана обновленная стилистика оформления, упаковки и черно-голубой логотип.
Абсолютно все запасные части MEGAPOWER Automotive перед тем как попасть к конечному потребителю проверяются на 4х независимых этапах: проверка качества сырья перед началом производственного цикла, постоянный контроль всех параметров технологического процесса, осмотр и контроль изготовленных деталей перед упаковкой, выборочные испытания деталей из каждой партии на специализированных стендах. Запчасти MEGAPOWER имеют расширенную гарантию до 2 лет.
Основу предложения запасных частей MEGAPOWER Automotive составили высококачественные детали для грузовиков, малотоннажного транспорта, а с 2022 года и легковых автомобилей. Сегодня бренд выпускает запчасти двигателя и трансмиссии, подвески и ходовой части, тормозной и рулевой систем, электрооборудование и многое другое.
Продолжая свое развитие, MEGAPOWER Automotive совершенствует технологии, расширяет ассортимент, активно взаимодействует с потребителями продукции, улучшая текущие товары и разрабатывая новые.
Преимущества бренда:
- постоянное расширение ассортимента;
- двухлетняя гарантия качества продукции (1 год на турбокомпрессоры и автотовары);
- более 3500 позиций для грузовых и легковых автомобилей;
- крупносерийное производство;
- квалифицированные специалисты в области инженерных разработок;
На складах : 7063 шт.
MEGAPOWER Automotive – бренд с почти 30-летней историей.
История производства автомобильных компонентов MEGAPOWER Automotive началась в 1995 году. Бренд MEGAPOWER Automotive стал одним из первых на рынке, кто предложил автомобилистам светодиодные лампы в качестве достойной и технологичной альтернативы традиционным лампочкам накаливания. На протяжении второй половины 90-х и начала 2000х годов к ассортименту выпускаемой MEGAPOWER продукции добавились компрессоры для шин, безотказно работающие при любой погоде и обстоятельствах, щетки стеклоочистителя для широкой гаммы легковых и грузовых автомобилей, гидравлические домкраты грузоподъемностью до 50-ти тонн, надежные буксировочные тросы, зарядные устройства, стяжки груза и многое другое.
Важная особенность MEGAPOWER Automotive – поступательное развитие и внимание к деталям. Сочетание высоких технических характеристик, практичность и разумные цены сделали продукцию MEGAPOWER крайне востребованной как опытными водителями, так и сотрудниками сервисных центров.
В начале 2010-х MEGAPOWER Automotive перешел к новому этапу своего развития. Существенно расширился ассортименти и параллельно был запущен проект по выходу на смежный рынок автомобильных запчастей. С этого момента компания разделила 2 своих направления: автотовары, светотехнику и аксессуары продолжили выпускать с исходным красным логотипом, а для автомобильных запчастей была разработана обновленная стилистика оформления, упаковки и черно-голубой логотип.
Абсолютно все запасные части MEGAPOWER Automotive перед тем как попасть к конечному потребителю проверяются на 4х независимых этапах: проверка качества сырья перед началом производственного цикла, постоянный контроль всех параметров технологического процесса, осмотр и контроль изготовленных деталей перед упаковкой, выборочные испытания деталей из каждой партии на специализированных стендах. Запчасти MEGAPOWER имеют расширенную гарантию до 2 лет.
Основу предложения запасных частей MEGAPOWER Automotive составили высококачественные детали для грузовиков, малотоннажного транспорта, а с 2022 года и легковых автомобилей. Сегодня бренд выпускает запчасти двигателя и трансмиссии, подвески и ходовой части, тормозной и рулевой систем, электрооборудование и многое другое.
Продолжая свое развитие, MEGAPOWER Automotive совершенствует технологии, расширяет ассортимент, активно взаимодействует с потребителями продукции, улучшая текущие товары и разрабатывая новые.
Преимущества бренда:
- постоянное расширение ассортимента;
- двухлетняя гарантия качества продукции (1 год на турбокомпрессоры и автотовары);
- более 3500 позиций для грузовых и легковых автомобилей;
- крупносерийное производство;
- квалифицированные специалисты в области инженерных разработок;
ОАО «КАМАЗ», как крупнейший производитель грузовых автомобилей в России, занимает лидирующие позиции и на рынке продаж запасных частей к своей технике. Значительное увеличение доли высококачественной фирменной продукции на нём признаётся компанией одним из стратегически важных направлений продуктовой и сбытовой политики. ТФК «КАМАЗ» это эксклюзивный дистрибьютор, которому предоставлено исключительное право на продажу основной продукции ОАО «КАМАЗ» на территории России. Единый производственный комплекс группы организаций ОАО "КАМАЗ" охватывает весь технологический цикл производства грузовых автомобилей - от разработки, изготовления, сборки автотехники и автокомпонентов до сбыта готовой продукции и сервисного сопровождения. Система качества продукции ОАО "КАМАЗ" отвечает требованиям международного стандарта ИСО 9001-2000 и одобрена органом по сертификации систем управления "Русский регистр". Двигатели КАМАЗ-740.60-360, КАМАЗ-740.61-320 и КАМАЗ-740.62-280 соответствуют требованиям международных экологических стандартов "Евро-3". ОАО "КАМАЗ" выпускает широкую гамму грузовой техники: грузовые автомобили (более 30 моделей, свыше 400 комплектаций) ,прицепы, автобусы, двигатели, силовые агрегаты и различный инструмент. "КАМАЗ" традиционно позиционируется на рынке грузовых автомобилей полной массой от 14 до 40 тонн. В последние годы гамма продукции компании значительно расширилась. Освоено производство среднетоннажных автомобилей, модернизированной модели КАМАЗ-5460М ("Стайер"), расширен модельный ряд автомобилей повышенной грузоподъемности. Эти машины не раз доказали свою надежность и уникальную проходимость. Именно поэтому опытные водители, которые занимаются перевозками, отдают предпочтение такой продукции как автомобили КАМАЗ. Техника КАМАЗ работает в любых дорожных и климатических условиях: в районах Крайнего Севера и в тропиках, в зонах пустынь и высокогорья. Есть только одна особенность у этих автомашин - при поломке стоит использовать только те запасные части, которые соответствуют качеству машины. "АвтоАльянс" предлагает именно такие запчасти КАМАЗ. "АвтоАльянс" является официальным дилером по продаже запасных частей и силовых агрегатов ОАО "КАМАЗ". Компания предлагает оригинальные запасные части к автомобилям "КАМАЗ". Главные принципы нашей работы - это всесторонняя поддержка клиентов при формировании заявки на запчасти, а также широчайший ассортимент запчастей производства ОАО "КАМАЗ". В "АвтоАльянс" можно заказывать запчасти от "А" до "Я", от шайбы до агрегата. Экономия нужна везде и во всем, но нельзя экономить на своем верном помощнике. Вся продукция ОАО "КАМАЗ", предлагаемая к продаже, имеет сертификаты качества. Причем это касается не только крупных узлов и агрегатов. От работы множеств мелких деталей так же зависит успешное функционирование всего механизма в целом. Каждый год появляются все более совершенные модели автомобиля КАМАЗ. И "АвтоАльянс" идет в ногу со временем и постоянно расширяет ассортиментный ряд запасных частей на новые КАМАЗы. "АвтоАльянс" в заводском рейтинге дилеров является крупнейшим дилером по запчастям КАМАЗ в Центральном регионе РФ.
ОАО «КАМАЗ», как крупнейший производитель грузовых автомобилей в России, занимает лидирующие позиции и на рынке продаж запасных частей к своей технике. Значительное увеличение доли высококачественной фирменной продукции на нём признаётся компанией одним из стратегически важных направлений продуктовой и сбытовой политики. ТФК «КАМАЗ» это эксклюзивный дистрибьютор, которому предоставлено исключительное право на продажу основной продукции ОАО «КАМАЗ» на территории России. Единый производственный комплекс группы организаций ОАО "КАМАЗ" охватывает весь технологический цикл производства грузовых автомобилей - от разработки, изготовления, сборки автотехники и автокомпонентов до сбыта готовой продукции и сервисного сопровождения. Система качества продукции ОАО "КАМАЗ" отвечает требованиям международного стандарта ИСО 9001-2000 и одобрена органом по сертификации систем управления "Русский регистр". Двигатели КАМАЗ-740.60-360, КАМАЗ-740.61-320 и КАМАЗ-740.62-280 соответствуют требованиям международных экологических стандартов "Евро-3". ОАО "КАМАЗ" выпускает широкую гамму грузовой техники: грузовые автомобили (более 30 моделей, свыше 400 комплектаций) ,прицепы, автобусы, двигатели, силовые агрегаты и различный инструмент. "КАМАЗ" традиционно позиционируется на рынке грузовых автомобилей полной массой от 14 до 40 тонн. В последние годы гамма продукции компании значительно расширилась. Освоено производство среднетоннажных автомобилей, модернизированной модели КАМАЗ-5460М ("Стайер"), расширен модельный ряд автомобилей повышенной грузоподъемности. Эти машины не раз доказали свою надежность и уникальную проходимость. Именно поэтому опытные водители, которые занимаются перевозками, отдают предпочтение такой продукции как автомобили КАМАЗ. Техника КАМАЗ работает в любых дорожных и климатических условиях: в районах Крайнего Севера и в тропиках, в зонах пустынь и высокогорья. Есть только одна особенность у этих автомашин - при поломке стоит использовать только те запасные части, которые соответствуют качеству машины. "АвтоАльянс" предлагает именно такие запчасти КАМАЗ. "АвтоАльянс" является официальным дилером по продаже запасных частей и силовых агрегатов ОАО "КАМАЗ". Компания предлагает оригинальные запасные части к автомобилям "КАМАЗ". Главные принципы нашей работы - это всесторонняя поддержка клиентов при формировании заявки на запчасти, а также широчайший ассортимент запчастей производства ОАО "КАМАЗ". В "АвтоАльянс" можно заказывать запчасти от "А" до "Я", от шайбы до агрегата. Экономия нужна везде и во всем, но нельзя экономить на своем верном помощнике. Вся продукция ОАО "КАМАЗ", предлагаемая к продаже, имеет сертификаты качества. Причем это касается не только крупных узлов и агрегатов. От работы множеств мелких деталей так же зависит успешное функционирование всего механизма в целом. Каждый год появляются все более совершенные модели автомобиля КАМАЗ. И "АвтоАльянс" идет в ногу со временем и постоянно расширяет ассортиментный ряд запасных частей на новые КАМАЗы. "АвтоАльянс" в заводском рейтинге дилеров является крупнейшим дилером по запчастям КАМАЗ в Центральном регионе РФ.
На складах : 134 шт.
