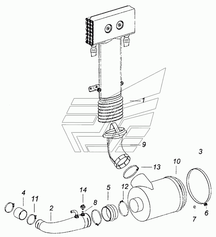
53605-1109001-20 Установка воздушного фильтра КамАЗ-53605 (Евро-4). Каталог 2013г.
MEGAPOWER Automotive – бренд с почти 30-летней историей.
История производства автомобильных компонентов MEGAPOWER Automotive началась в 1995 году. Бренд MEGAPOWER Automotive стал одним из первых на рынке, кто предложил автомобилистам светодиодные лампы в качестве достойной и технологичной альтернативы традиционным лампочкам накаливания. На протяжении второй половины 90-х и начала 2000х годов к ассортименту выпускаемой MEGAPOWER продукции добавились компрессоры для шин, безотказно работающие при любой погоде и обстоятельствах, щетки стеклоочистителя для широкой гаммы легковых и грузовых автомобилей, гидравлические домкраты грузоподъемностью до 50-ти тонн, надежные буксировочные тросы, зарядные устройства, стяжки груза и многое другое.
Важная особенность MEGAPOWER Automotive – поступательное развитие и внимание к деталям. Сочетание высоких технических характеристик, практичность и разумные цены сделали продукцию MEGAPOWER крайне востребованной как опытными водителями, так и сотрудниками сервисных центров.
В начале 2010-х MEGAPOWER Automotive перешел к новому этапу своего развития. Существенно расширился ассортименти и параллельно был запущен проект по выходу на смежный рынок автомобильных запчастей. С этого момента компания разделила 2 своих направления: автотовары, светотехнику и аксессуары продолжили выпускать с исходным красным логотипом, а для автомобильных запчастей была разработана обновленная стилистика оформления, упаковки и черно-голубой логотип.
Абсолютно все запасные части MEGAPOWER Automotive перед тем как попасть к конечному потребителю проверяются на 4х независимых этапах: проверка качества сырья перед началом производственного цикла, постоянный контроль всех параметров технологического процесса, осмотр и контроль изготовленных деталей перед упаковкой, выборочные испытания деталей из каждой партии на специализированных стендах. Запчасти MEGAPOWER имеют расширенную гарантию до 2 лет.
Основу предложения запасных частей MEGAPOWER Automotive составили высококачественные детали для грузовиков, малотоннажного транспорта, а с 2022 года и легковых автомобилей. Сегодня бренд выпускает запчасти двигателя и трансмиссии, подвески и ходовой части, тормозной и рулевой систем, электрооборудование и многое другое.
Продолжая свое развитие, MEGAPOWER Automotive совершенствует технологии, расширяет ассортимент, активно взаимодействует с потребителями продукции, улучшая текущие товары и разрабатывая новые.
Преимущества бренда:
- постоянное расширение ассортимента;
- двухлетняя гарантия качества продукции (1 год на турбокомпрессоры и автотовары);
- более 3500 позиций для грузовых и легковых автомобилей;
- крупносерийное производство;
- квалифицированные специалисты в области инженерных разработок;
На складах : 306 шт.
MEGAPOWER Automotive – бренд с почти 30-летней историей.
История производства автомобильных компонентов MEGAPOWER Automotive началась в 1995 году. Бренд MEGAPOWER Automotive стал одним из первых на рынке, кто предложил автомобилистам светодиодные лампы в качестве достойной и технологичной альтернативы традиционным лампочкам накаливания. На протяжении второй половины 90-х и начала 2000х годов к ассортименту выпускаемой MEGAPOWER продукции добавились компрессоры для шин, безотказно работающие при любой погоде и обстоятельствах, щетки стеклоочистителя для широкой гаммы легковых и грузовых автомобилей, гидравлические домкраты грузоподъемностью до 50-ти тонн, надежные буксировочные тросы, зарядные устройства, стяжки груза и многое другое.
Важная особенность MEGAPOWER Automotive – поступательное развитие и внимание к деталям. Сочетание высоких технических характеристик, практичность и разумные цены сделали продукцию MEGAPOWER крайне востребованной как опытными водителями, так и сотрудниками сервисных центров.
В начале 2010-х MEGAPOWER Automotive перешел к новому этапу своего развития. Существенно расширился ассортименти и параллельно был запущен проект по выходу на смежный рынок автомобильных запчастей. С этого момента компания разделила 2 своих направления: автотовары, светотехнику и аксессуары продолжили выпускать с исходным красным логотипом, а для автомобильных запчастей была разработана обновленная стилистика оформления, упаковки и черно-голубой логотип.
Абсолютно все запасные части MEGAPOWER Automotive перед тем как попасть к конечному потребителю проверяются на 4х независимых этапах: проверка качества сырья перед началом производственного цикла, постоянный контроль всех параметров технологического процесса, осмотр и контроль изготовленных деталей перед упаковкой, выборочные испытания деталей из каждой партии на специализированных стендах. Запчасти MEGAPOWER имеют расширенную гарантию до 2 лет.
Основу предложения запасных частей MEGAPOWER Automotive составили высококачественные детали для грузовиков, малотоннажного транспорта, а с 2022 года и легковых автомобилей. Сегодня бренд выпускает запчасти двигателя и трансмиссии, подвески и ходовой части, тормозной и рулевой систем, электрооборудование и многое другое.
Продолжая свое развитие, MEGAPOWER Automotive совершенствует технологии, расширяет ассортимент, активно взаимодействует с потребителями продукции, улучшая текущие товары и разрабатывая новые.
Преимущества бренда:
- постоянное расширение ассортимента;
- двухлетняя гарантия качества продукции (1 год на турбокомпрессоры и автотовары);
- более 3500 позиций для грузовых и легковых автомобилей;
- крупносерийное производство;
- квалифицированные специалисты в области инженерных разработок;
MEGAPOWER Automotive – бренд с почти 30-летней историей.
История производства автомобильных компонентов MEGAPOWER Automotive началась в 1995 году. Бренд MEGAPOWER Automotive стал одним из первых на рынке, кто предложил автомобилистам светодиодные лампы в качестве достойной и технологичной альтернативы традиционным лампочкам накаливания. На протяжении второй половины 90-х и начала 2000х годов к ассортименту выпускаемой MEGAPOWER продукции добавились компрессоры для шин, безотказно работающие при любой погоде и обстоятельствах, щетки стеклоочистителя для широкой гаммы легковых и грузовых автомобилей, гидравлические домкраты грузоподъемностью до 50-ти тонн, надежные буксировочные тросы, зарядные устройства, стяжки груза и многое другое.
Важная особенность MEGAPOWER Automotive – поступательное развитие и внимание к деталям. Сочетание высоких технических характеристик, практичность и разумные цены сделали продукцию MEGAPOWER крайне востребованной как опытными водителями, так и сотрудниками сервисных центров.
В начале 2010-х MEGAPOWER Automotive перешел к новому этапу своего развития. Существенно расширился ассортименти и параллельно был запущен проект по выходу на смежный рынок автомобильных запчастей. С этого момента компания разделила 2 своих направления: автотовары, светотехнику и аксессуары продолжили выпускать с исходным красным логотипом, а для автомобильных запчастей была разработана обновленная стилистика оформления, упаковки и черно-голубой логотип.
Абсолютно все запасные части MEGAPOWER Automotive перед тем как попасть к конечному потребителю проверяются на 4х независимых этапах: проверка качества сырья перед началом производственного цикла, постоянный контроль всех параметров технологического процесса, осмотр и контроль изготовленных деталей перед упаковкой, выборочные испытания деталей из каждой партии на специализированных стендах. Запчасти MEGAPOWER имеют расширенную гарантию до 2 лет.
Основу предложения запасных частей MEGAPOWER Automotive составили высококачественные детали для грузовиков, малотоннажного транспорта, а с 2022 года и легковых автомобилей. Сегодня бренд выпускает запчасти двигателя и трансмиссии, подвески и ходовой части, тормозной и рулевой систем, электрооборудование и многое другое.
Продолжая свое развитие, MEGAPOWER Automotive совершенствует технологии, расширяет ассортимент, активно взаимодействует с потребителями продукции, улучшая текущие товары и разрабатывая новые.
Преимущества бренда:
- постоянное расширение ассортимента;
- двухлетняя гарантия качества продукции (1 год на турбокомпрессоры и автотовары);
- более 3500 позиций для грузовых и легковых автомобилей;
- крупносерийное производство;
- квалифицированные специалисты в области инженерных разработок;
На складах : 21 шт.
MEGAPOWER Automotive – бренд с почти 30-летней историей.
История производства автомобильных компонентов MEGAPOWER Automotive началась в 1995 году. Бренд MEGAPOWER Automotive стал одним из первых на рынке, кто предложил автомобилистам светодиодные лампы в качестве достойной и технологичной альтернативы традиционным лампочкам накаливания. На протяжении второй половины 90-х и начала 2000х годов к ассортименту выпускаемой MEGAPOWER продукции добавились компрессоры для шин, безотказно работающие при любой погоде и обстоятельствах, щетки стеклоочистителя для широкой гаммы легковых и грузовых автомобилей, гидравлические домкраты грузоподъемностью до 50-ти тонн, надежные буксировочные тросы, зарядные устройства, стяжки груза и многое другое.
Важная особенность MEGAPOWER Automotive – поступательное развитие и внимание к деталям. Сочетание высоких технических характеристик, практичность и разумные цены сделали продукцию MEGAPOWER крайне востребованной как опытными водителями, так и сотрудниками сервисных центров.
В начале 2010-х MEGAPOWER Automotive перешел к новому этапу своего развития. Существенно расширился ассортименти и параллельно был запущен проект по выходу на смежный рынок автомобильных запчастей. С этого момента компания разделила 2 своих направления: автотовары, светотехнику и аксессуары продолжили выпускать с исходным красным логотипом, а для автомобильных запчастей была разработана обновленная стилистика оформления, упаковки и черно-голубой логотип.
Абсолютно все запасные части MEGAPOWER Automotive перед тем как попасть к конечному потребителю проверяются на 4х независимых этапах: проверка качества сырья перед началом производственного цикла, постоянный контроль всех параметров технологического процесса, осмотр и контроль изготовленных деталей перед упаковкой, выборочные испытания деталей из каждой партии на специализированных стендах. Запчасти MEGAPOWER имеют расширенную гарантию до 2 лет.
Основу предложения запасных частей MEGAPOWER Automotive составили высококачественные детали для грузовиков, малотоннажного транспорта, а с 2022 года и легковых автомобилей. Сегодня бренд выпускает запчасти двигателя и трансмиссии, подвески и ходовой части, тормозной и рулевой систем, электрооборудование и многое другое.
Продолжая свое развитие, MEGAPOWER Automotive совершенствует технологии, расширяет ассортимент, активно взаимодействует с потребителями продукции, улучшая текущие товары и разрабатывая новые.
Преимущества бренда:
- постоянное расширение ассортимента;
- двухлетняя гарантия качества продукции (1 год на турбокомпрессоры и автотовары);
- более 3500 позиций для грузовых и легковых автомобилей;
- крупносерийное производство;
- квалифицированные специалисты в области инженерных разработок;
Компания «Технотрон» является лидером в области машиностроения и производит огромный перечень автокомпонентов для коммерческой техники, кранового оборудования и электрооборудования, а так же для почвообрабатывающей и прицепной сельскохозяйственной техники. Организация входит в холдинг «ТЭМПО» - один из крупнейших промышленных концернов России. «Технотрон» владеет собственной научно-технической базой, благодаря которой осуществляет производственный цикл полностью и самостоятельно и выпускает продукцию, актуальную для различных сфер экономики и промышленности. Кроме научно-технической базы предприятие обладает испытательным центром, парком роботизированного оборудования и широким спектром технологий для обработки различных материалов. Система качества предприятия, начиная с проектирования продукции и заканчивая ее выпуском, соответствует требованиям международных стандартов и ежегодно подтверждается независимыми органами. В конце 2020 года в «Технотрон» прошел аудит на соответствие немецкому стандарту VDA 6.3, являющийся составной частью стратегии «Стандарт качества немецкой автомобильной промышленности. Бесперебойность работы и скорость всех производственных процессов достигается благодаря высококвалифицированным сотрудникам компании. На данный момент их общая численность достигает 700 человек. Главная цель предприятия «Технотрон» - выстраивание надежных взаимоотношений с клиентом, основанных на уважении. Компания изучает рынок, модернизирует производство и стремится не просто удовлетворить потребности покупателей, а превзойти их ожидания. Сегодня основными потребителями продукции «Технотрон» являются такие организации как ПАО "КАМАЗ", ОАО "МАЗ", "Группа ГАЗ", DAIMLER KAMAZ RUS, АЗ "УРАЛ".
Ассортимент:
- Система охлаждения
- Система питания
- Оперение кабины (экстерьер а/м 5490)
- Принадлежности кабины (интерьер)
- Элементы подвески
- Тягово-сцепные устройства
- Электрика
- Седельно - сцепные устройства
- Троллейный шинопровод и многое другое
На складах : 41 шт.
Компания «Технотрон» является лидером в области машиностроения и производит огромный перечень автокомпонентов для коммерческой техники, кранового оборудования и электрооборудования, а так же для почвообрабатывающей и прицепной сельскохозяйственной техники. Организация входит в холдинг «ТЭМПО» - один из крупнейших промышленных концернов России. «Технотрон» владеет собственной научно-технической базой, благодаря которой осуществляет производственный цикл полностью и самостоятельно и выпускает продукцию, актуальную для различных сфер экономики и промышленности. Кроме научно-технической базы предприятие обладает испытательным центром, парком роботизированного оборудования и широким спектром технологий для обработки различных материалов. Система качества предприятия, начиная с проектирования продукции и заканчивая ее выпуском, соответствует требованиям международных стандартов и ежегодно подтверждается независимыми органами. В конце 2020 года в «Технотрон» прошел аудит на соответствие немецкому стандарту VDA 6.3, являющийся составной частью стратегии «Стандарт качества немецкой автомобильной промышленности. Бесперебойность работы и скорость всех производственных процессов достигается благодаря высококвалифицированным сотрудникам компании. На данный момент их общая численность достигает 700 человек. Главная цель предприятия «Технотрон» - выстраивание надежных взаимоотношений с клиентом, основанных на уважении. Компания изучает рынок, модернизирует производство и стремится не просто удовлетворить потребности покупателей, а превзойти их ожидания. Сегодня основными потребителями продукции «Технотрон» являются такие организации как ПАО "КАМАЗ", ОАО "МАЗ", "Группа ГАЗ", DAIMLER KAMAZ RUS, АЗ "УРАЛ".
Ассортимент:
- Система охлаждения
- Система питания
- Оперение кабины (экстерьер а/м 5490)
- Принадлежности кабины (интерьер)
- Элементы подвески
- Тягово-сцепные устройства
- Электрика
- Седельно - сцепные устройства
- Троллейный шинопровод и многое другое
На складах : 476 шт.
На складах : 842 шт.
Компания предлагает широкий ассортимент любых видов медных и алюминиевых шайб, которые широко используются как запчасти во многих автомобильных агрегатах, а так же спецтехники всех видов. Изготовление шайбы медной осуществляется на высокотехнологичном оборудовании известых марок с использованием только качественного медного проката, проверенных производителей. Это означает, что потребитель при покупке медной шайбы получает качественную продукцию, которая полностью соответствует требованиям, которые предъявляются к шайбе медной. Технологический процесс производства основан на использовании передовых европейских энергосберегающих и металлообрабатывающих технологий, что позволяет в условиях кризиса не только держать стабильную цену на медную шайбу, но даже снижать ее в процессе модернизации производства. Снижение цены не отражается на качестве используемого в производстве сырья и производимых медных прокладок. Преимущество шайбы медной, как запчасти для автомобильной техники, это высокая пластичность материала и отличная стойкость медного сплава против коррозии, что позволяет использовать шайбу в агрегатах высокого давления. Основная область применения шайб медных, как запчастей - топливная аппаратура в грузовых автомобилях и спецтехнике. Так же шайбы из меди широко используются как запчасти для ремонта коробок передач.
На складах : 15514 шт.
Компания предлагает широкий ассортимент любых видов медных и алюминиевых шайб, которые широко используются как запчасти во многих автомобильных агрегатах, а так же спецтехники всех видов. Изготовление шайбы медной осуществляется на высокотехнологичном оборудовании известых марок с использованием только качественного медного проката, проверенных производителей. Это означает, что потребитель при покупке медной шайбы получает качественную продукцию, которая полностью соответствует требованиям, которые предъявляются к шайбе медной. Технологический процесс производства основан на использовании передовых европейских энергосберегающих и металлообрабатывающих технологий, что позволяет в условиях кризиса не только держать стабильную цену на медную шайбу, но даже снижать ее в процессе модернизации производства. Снижение цены не отражается на качестве используемого в производстве сырья и производимых медных прокладок. Преимущество шайбы медной, как запчасти для автомобильной техники, это высокая пластичность материала и отличная стойкость медного сплава против коррозии, что позволяет использовать шайбу в агрегатах высокого давления. Основная область применения шайб медных, как запчастей - топливная аппаратура в грузовых автомобилях и спецтехнике. Так же шайбы из меди широко используются как запчасти для ремонта коробок передач.
На складах : 1234 шт.
На складах : 3094 шт.
На складах : 518 шт.
На складах : 1044 шт.
На складах : 77860 шт.
Свыше 30 лет предприятие удерживает лидерство на территории России и стран СНГ по производству фильтров и фильтроэлементов. За это время накоплен богатый опыт, создан большой технический и научный потенциал. Надежность продукции оценена по достоинству, подтверждение тому - доверие таких предприятий как: АВТОВАЗ, ГАЗ, ЗМЗ, КамАЗ, УАЗ, Волжские моторы, ЯМЗ, Тутаевскмй моторный, Уфимскмй моторный, ЗиЛ, МАЗ, УралАЗ, ПАЗ, ЛИАЗ, Ростсельмаш, АгромашХолдинг, Красноярский комбайновый, Алтайдизель, Минский тракторный, Минский моторный, Волгоградский тракторный, Липецкий тракторный и др.
Номенклатура завода составляет более 400 наименований фильтров и фильтроэлементов очистки масла, топлива, воздуха на все виды авто- и мототехники.
Продукция изготавливается на современном, высокотехнологичном, западноевропейском и японском оборудовании, с применением высококачественных материалов:
-фильтровальную бумагу на конвейер поставляет корпорация "AHLSTROM" (Италия), мировой лидер по производству фильтровальной бумаги
-производство оснащено станками, прессами, и поточными линиями известных мировых лидеров машиностроения: AIDA (Япония), SAVARA (Италия), ERFURD(Германия), KOMORI(Япония), KAWASAKI(Япония)
-уникальная испытательная лаборатория оборудована японской техникой KAWASAKI(Япония), аттестована Госстандартом России для проведения сертификационных испытаний
-производство сертифицировано международным сертификатом качества ГОСТ Р ИСО 9001-2001.
Фильтры ОАО "Автоагрегат" это:
-Гарантия работоспособности изделия на протяжении всего срока эксплуатации;
-Высокая степень очистки благодаря высококачественным фильтровальным материалам;
-Максимальная защита двигателя от загрязнения и соответственно увеличение его ресурса;
-Сокращение расхода топлива и масла;
-Оптимальное соотношение цены и качества;
-Широкий ассортимент выпускаемой продукции;
-Бережное отношение к окружающей среде.
На складах : 10 шт.
Свыше 30 лет предприятие удерживает лидерство на территории России и стран СНГ по производству фильтров и фильтроэлементов. За это время накоплен богатый опыт, создан большой технический и научный потенциал. Надежность продукции оценена по достоинству, подтверждение тому - доверие таких предприятий как: АВТОВАЗ, ГАЗ, ЗМЗ, КамАЗ, УАЗ, Волжские моторы, ЯМЗ, Тутаевскмй моторный, Уфимскмй моторный, ЗиЛ, МАЗ, УралАЗ, ПАЗ, ЛИАЗ, Ростсельмаш, АгромашХолдинг, Красноярский комбайновый, Алтайдизель, Минский тракторный, Минский моторный, Волгоградский тракторный, Липецкий тракторный и др.
Номенклатура завода составляет более 400 наименований фильтров и фильтроэлементов очистки масла, топлива, воздуха на все виды авто- и мототехники.
Продукция изготавливается на современном, высокотехнологичном, западноевропейском и японском оборудовании, с применением высококачественных материалов:
-фильтровальную бумагу на конвейер поставляет корпорация "AHLSTROM" (Италия), мировой лидер по производству фильтровальной бумаги
-производство оснащено станками, прессами, и поточными линиями известных мировых лидеров машиностроения: AIDA (Япония), SAVARA (Италия), ERFURD(Германия), KOMORI(Япония), KAWASAKI(Япония)
-уникальная испытательная лаборатория оборудована японской техникой KAWASAKI(Япония), аттестована Госстандартом России для проведения сертификационных испытаний
-производство сертифицировано международным сертификатом качества ГОСТ Р ИСО 9001-2001.
Фильтры ОАО "Автоагрегат" это:
-Гарантия работоспособности изделия на протяжении всего срока эксплуатации;
-Высокая степень очистки благодаря высококачественным фильтровальным материалам;
-Максимальная защита двигателя от загрязнения и соответственно увеличение его ресурса;
-Сокращение расхода топлива и масла;
-Оптимальное соотношение цены и качества;
-Широкий ассортимент выпускаемой продукции;
-Бережное отношение к окружающей среде.
Компания GOODWILL была основана в 1969 году в графстве Сомерсет, Великобритания. С самого начала своего существования бренд стремился производить высококачественные и доступные автозапчасти, которые могли бы конкурировать с оригинальными деталями, но при этом быть экономически выгодными для покупателей.
Производственные мощности GOODWILL расположены в странах Европейского Союза, Великобритании, Корее, Испании и Италии. Благодаря этому компания быстро завоевала доверие на международном рынке. А с 2001 года она начала активно поставлять свою продукцию в Россию, страны СНГ и Балтии.
Успех GOODWILL основан на строжайшей сертификации продукции в соответствии с международными стандартами ISO 9001/9002, VPA 6.1 и ECE R-90 (E-mark). Кроме того, компания проходит обязательное подтверждение качества в НАМИ, что гарантирует высокое качество фильтров, тормозных колодок, свечей зажигания и других автокомпонентов.
GOODWILL предлагает продукцию, которая не уступает оригинальным деталям, но при этом имеет более привлекательную цену. Благодаря этому качеству GOODWILL заслужил доверие официальных дилерских центров таких известных марок, как Honda, Mazda и Citroen. Однако история компании не ограничивается только сертификатами и цифрами. GOODWILL стремится к постоянному развитию и поддержке своих клиентов. Бренд ориентируется на потребности российских грузоперевозчиков, предлагая продукцию, адаптированную к сложным климатическим и дорожным условиям России. Это проявляется в надежности и долговечности деталей, которые помогают поддерживать технику в отличном состоянии на протяжении долгого времени.
За годы работы GOODWILL уверенно закрепился в рейтинге автозапчастей, подтверждая свою репутацию надежного и доступного бренда. Однако компания не останавливается на достигнутом и к 2030 году планирует расширить экспорт в новые регионы, включая африканские страны. Кроме того, GOODWILL усилит международную сертификацию, чтобы соответствовать самым строгим требованиям мирового рынка.
Важным аспектом стратегии компании является внедрение устойчивых и экологичных производственных практик, что отражает ответственность бренда перед окружающей средой и обществом.
АвтоАльянс — ваш надежный партнер в мире автозапчастей! Мы предлагаем широкий ассортимент качественных деталей для грузовых и легковых автомобилей, специально адаптированных для российских условий эксплуатации. Работая по всей России, мы гарантируем стабильные поставки, профессиональную поддержку и доступные цены, что поможет вам поддерживать ваш автопарк в отличном состоянии.
Ассортимент:
- Элемент фильтрующий
- Фильтр воздушный
- Фильтр масляный
- Фильтр топливный
- Щетка стеклоочистителя и др.
Компания GOODWILL была основана в 1969 году в графстве Сомерсет, Великобритания. С самого начала своего существования бренд стремился производить высококачественные и доступные автозапчасти, которые могли бы конкурировать с оригинальными деталями, но при этом быть экономически выгодными для покупателей.
Производственные мощности GOODWILL расположены в странах Европейского Союза, Великобритании, Корее, Испании и Италии. Благодаря этому компания быстро завоевала доверие на международном рынке. А с 2001 года она начала активно поставлять свою продукцию в Россию, страны СНГ и Балтии.
Успех GOODWILL основан на строжайшей сертификации продукции в соответствии с международными стандартами ISO 9001/9002, VPA 6.1 и ECE R-90 (E-mark). Кроме того, компания проходит обязательное подтверждение качества в НАМИ, что гарантирует высокое качество фильтров, тормозных колодок, свечей зажигания и других автокомпонентов.
GOODWILL предлагает продукцию, которая не уступает оригинальным деталям, но при этом имеет более привлекательную цену. Благодаря этому качеству GOODWILL заслужил доверие официальных дилерских центров таких известных марок, как Honda, Mazda и Citroen. Однако история компании не ограничивается только сертификатами и цифрами. GOODWILL стремится к постоянному развитию и поддержке своих клиентов. Бренд ориентируется на потребности российских грузоперевозчиков, предлагая продукцию, адаптированную к сложным климатическим и дорожным условиям России. Это проявляется в надежности и долговечности деталей, которые помогают поддерживать технику в отличном состоянии на протяжении долгого времени.
За годы работы GOODWILL уверенно закрепился в рейтинге автозапчастей, подтверждая свою репутацию надежного и доступного бренда. Однако компания не останавливается на достигнутом и к 2030 году планирует расширить экспорт в новые регионы, включая африканские страны. Кроме того, GOODWILL усилит международную сертификацию, чтобы соответствовать самым строгим требованиям мирового рынка.
Важным аспектом стратегии компании является внедрение устойчивых и экологичных производственных практик, что отражает ответственность бренда перед окружающей средой и обществом.
АвтоАльянс — ваш надежный партнер в мире автозапчастей! Мы предлагаем широкий ассортимент качественных деталей для грузовых и легковых автомобилей, специально адаптированных для российских условий эксплуатации. Работая по всей России, мы гарантируем стабильные поставки, профессиональную поддержку и доступные цены, что поможет вам поддерживать ваш автопарк в отличном состоянии.
Ассортимент:
- Элемент фильтрующий
- Фильтр воздушный
- Фильтр масляный
- Фильтр топливный
- Щетка стеклоочистителя и др.
Свыше 30 лет предприятие удерживает лидерство на территории России и стран СНГ по производству фильтров и фильтроэлементов. За это время накоплен богатый опыт, создан большой технический и научный потенциал. Надежность продукции оценена по достоинству, подтверждение тому - доверие таких предприятий как: АВТОВАЗ, ГАЗ, ЗМЗ, КамАЗ, УАЗ, Волжские моторы, ЯМЗ, Тутаевскмй моторный, Уфимскмй моторный, ЗиЛ, МАЗ, УралАЗ, ПАЗ, ЛИАЗ, Ростсельмаш, АгромашХолдинг, Красноярский комбайновый, Алтайдизель, Минский тракторный, Минский моторный, Волгоградский тракторный, Липецкий тракторный и др.
Номенклатура завода составляет более 400 наименований фильтров и фильтроэлементов очистки масла, топлива, воздуха на все виды авто- и мототехники.
Продукция изготавливается на современном, высокотехнологичном, западноевропейском и японском оборудовании, с применением высококачественных материалов:
-фильтровальную бумагу на конвейер поставляет корпорация "AHLSTROM" (Италия), мировой лидер по производству фильтровальной бумаги
-производство оснащено станками, прессами, и поточными линиями известных мировых лидеров машиностроения: AIDA (Япония), SAVARA (Италия), ERFURD(Германия), KOMORI(Япония), KAWASAKI(Япония)
-уникальная испытательная лаборатория оборудована японской техникой KAWASAKI(Япония), аттестована Госстандартом России для проведения сертификационных испытаний
-производство сертифицировано международным сертификатом качества ГОСТ Р ИСО 9001-2001.
Фильтры ОАО "Автоагрегат" это:
-Гарантия работоспособности изделия на протяжении всего срока эксплуатации;
-Высокая степень очистки благодаря высококачественным фильтровальным материалам;
-Максимальная защита двигателя от загрязнения и соответственно увеличение его ресурса;
-Сокращение расхода топлива и масла;
-Оптимальное соотношение цены и качества;
-Широкий ассортимент выпускаемой продукции;
-Бережное отношение к окружающей среде.
Свыше 30 лет предприятие удерживает лидерство на территории России и стран СНГ по производству фильтров и фильтроэлементов. За это время накоплен богатый опыт, создан большой технический и научный потенциал. Надежность продукции оценена по достоинству, подтверждение тому - доверие таких предприятий как: АВТОВАЗ, ГАЗ, ЗМЗ, КамАЗ, УАЗ, Волжские моторы, ЯМЗ, Тутаевскмй моторный, Уфимскмй моторный, ЗиЛ, МАЗ, УралАЗ, ПАЗ, ЛИАЗ, Ростсельмаш, АгромашХолдинг, Красноярский комбайновый, Алтайдизель, Минский тракторный, Минский моторный, Волгоградский тракторный, Липецкий тракторный и др.
Номенклатура завода составляет более 400 наименований фильтров и фильтроэлементов очистки масла, топлива, воздуха на все виды авто- и мототехники.
Продукция изготавливается на современном, высокотехнологичном, западноевропейском и японском оборудовании, с применением высококачественных материалов:
-фильтровальную бумагу на конвейер поставляет корпорация "AHLSTROM" (Италия), мировой лидер по производству фильтровальной бумаги
-производство оснащено станками, прессами, и поточными линиями известных мировых лидеров машиностроения: AIDA (Япония), SAVARA (Италия), ERFURD(Германия), KOMORI(Япония), KAWASAKI(Япония)
-уникальная испытательная лаборатория оборудована японской техникой KAWASAKI(Япония), аттестована Госстандартом России для проведения сертификационных испытаний
-производство сертифицировано международным сертификатом качества ГОСТ Р ИСО 9001-2001.
Фильтры ОАО "Автоагрегат" это:
-Гарантия работоспособности изделия на протяжении всего срока эксплуатации;
-Высокая степень очистки благодаря высококачественным фильтровальным материалам;
-Максимальная защита двигателя от загрязнения и соответственно увеличение его ресурса;
-Сокращение расхода топлива и масла;
-Оптимальное соотношение цены и качества;
-Широкий ассортимент выпускаемой продукции;
-Бережное отношение к окружающей среде.
ОАО «КАМАЗ», как крупнейший производитель грузовых автомобилей в России, занимает лидирующие позиции и на рынке продаж запасных частей к своей технике. Значительное увеличение доли высококачественной фирменной продукции на нём признаётся компанией одним из стратегически важных направлений продуктовой и сбытовой политики. ТФК «КАМАЗ» это эксклюзивный дистрибьютор, которому предоставлено исключительное право на продажу основной продукции ОАО «КАМАЗ» на территории России.
Единый производственный комплекс группы организаций ОАО "КАМАЗ" охватывает весь технологический цикл производства грузовых автомобилей - от разработки, изготовления, сборки автотехники и автокомпонентов до сбыта готовой продукции и сервисного сопровождения.
Система качества продукции ОАО "КАМАЗ" отвечает требованиям международного стандарта ИСО 9001-2000 и одобрена органом по сертификации систем управления "Русский регистр". Двигатели КАМАЗ-740.60-360, КАМАЗ-740.61-320 и КАМАЗ-740.62-280 соответствуют требованиям международных экологических стандартов "Евро-3".
ОАО "КАМАЗ" выпускает широкую гамму грузовой техники: грузовые автомобили (более 30 моделей, свыше 400 комплектаций) ,прицепы, автобусы, двигатели, силовые агрегаты и различный инструмент. "КАМАЗ" традиционно позиционируется на рынке грузовых автомобилей полной массой от 14 до 40 тонн. В последние годы гамма продукции компании значительно расширилась. Освоено производство среднетоннажных автомобилей, модернизированной модели КАМАЗ-5460М ("Стайер"), расширен модельный ряд автомобилей повышенной грузоподъемности.
Эти машины не раз доказали свою надежность и уникальную проходимость. Именно поэтому опытные водители, которые занимаются перевозками, отдают предпочтение такой продукции как автомобили КАМАЗ. Техника КАМАЗ работает в любых дорожных и климатических условиях: в районах Крайнего Севера и в тропиках, в зонах пустынь и высокогорья.
Есть только одна особенность у этих автомашин - при поломке стоит использовать только те запасные части, которые соответствуют качеству машины. "АвтоАльянс" предлагает именно такие запчасти КАМАЗ.
"АвтоАльянс" является официальным дилером по продаже запасных частей и силовых агрегатов ОАО "КАМАЗ". Компания предлагает оригинальные запасные части к автомобилям "КАМАЗ". Главные принципы нашей работы - это всесторонняя поддержка клиентов при формировании заявки на запчасти, а также широчайший ассортимент запчастей производства ОАО "КАМАЗ". В "АвтоАльянс" можно заказывать запчасти от "А" до "Я", от шайбы до агрегата.
Экономия нужна везде и во всем, но нельзя экономить на своем верном помощнике. Вся продукция ОАО "КАМАЗ", предлагаемая к продаже, имеет сертификаты качества. Причем это касается не только крупных узлов и агрегатов. От работы множеств мелких деталей так же зависит успешное функционирование всего механизма в целом.
Каждый год появляются все более совершенные модели автомобиля КАМАЗ. И "АвтоАльянс" идет в ногу со временем и постоянно расширяет ассортиментный ряд запасных частей на новые КАМАЗы. "АвтоАльянс" в заводском рейтинге дилеров является крупнейшим дилером по запчастям КАМАЗ в Центральном регионе РФ.
ОАО «КАМАЗ», как крупнейший производитель грузовых автомобилей в России, занимает лидирующие позиции и на рынке продаж запасных частей к своей технике. Значительное увеличение доли высококачественной фирменной продукции на нём признаётся компанией одним из стратегически важных направлений продуктовой и сбытовой политики. ТФК «КАМАЗ» это эксклюзивный дистрибьютор, которому предоставлено исключительное право на продажу основной продукции ОАО «КАМАЗ» на территории России.
Единый производственный комплекс группы организаций ОАО "КАМАЗ" охватывает весь технологический цикл производства грузовых автомобилей - от разработки, изготовления, сборки автотехники и автокомпонентов до сбыта готовой продукции и сервисного сопровождения.
Система качества продукции ОАО "КАМАЗ" отвечает требованиям международного стандарта ИСО 9001-2000 и одобрена органом по сертификации систем управления "Русский регистр". Двигатели КАМАЗ-740.60-360, КАМАЗ-740.61-320 и КАМАЗ-740.62-280 соответствуют требованиям международных экологических стандартов "Евро-3".
ОАО "КАМАЗ" выпускает широкую гамму грузовой техники: грузовые автомобили (более 30 моделей, свыше 400 комплектаций) ,прицепы, автобусы, двигатели, силовые агрегаты и различный инструмент. "КАМАЗ" традиционно позиционируется на рынке грузовых автомобилей полной массой от 14 до 40 тонн. В последние годы гамма продукции компании значительно расширилась. Освоено производство среднетоннажных автомобилей, модернизированной модели КАМАЗ-5460М ("Стайер"), расширен модельный ряд автомобилей повышенной грузоподъемности.
Эти машины не раз доказали свою надежность и уникальную проходимость. Именно поэтому опытные водители, которые занимаются перевозками, отдают предпочтение такой продукции как автомобили КАМАЗ. Техника КАМАЗ работает в любых дорожных и климатических условиях: в районах Крайнего Севера и в тропиках, в зонах пустынь и высокогорья.
Есть только одна особенность у этих автомашин - при поломке стоит использовать только те запасные части, которые соответствуют качеству машины. "АвтоАльянс" предлагает именно такие запчасти КАМАЗ.
"АвтоАльянс" является официальным дилером по продаже запасных частей и силовых агрегатов ОАО "КАМАЗ". Компания предлагает оригинальные запасные части к автомобилям "КАМАЗ". Главные принципы нашей работы - это всесторонняя поддержка клиентов при формировании заявки на запчасти, а также широчайший ассортимент запчастей производства ОАО "КАМАЗ". В "АвтоАльянс" можно заказывать запчасти от "А" до "Я", от шайбы до агрегата.
Экономия нужна везде и во всем, но нельзя экономить на своем верном помощнике. Вся продукция ОАО "КАМАЗ", предлагаемая к продаже, имеет сертификаты качества. Причем это касается не только крупных узлов и агрегатов. От работы множеств мелких деталей так же зависит успешное функционирование всего механизма в целом.
Каждый год появляются все более совершенные модели автомобиля КАМАЗ. И "АвтоАльянс" идет в ногу со временем и постоянно расширяет ассортиментный ряд запасных частей на новые КАМАЗы. "АвтоАльянс" в заводском рейтинге дилеров является крупнейшим дилером по запчастям КАМАЗ в Центральном регионе РФ.
ЗАО «Концерн «ПРАМО» - один из ведущих производителей автомобильного и моторного оборудования в России и странах СНГ.
Миссия Концерна «ПРАМО» - удовлетворение потребностей рынка транспортных средств в автомобильных комплектующих.
Видение Концерна «ПРАМО» - стать в России компанией-лидером по производству современных автомобильных комплектующих.
Концерн «ПРАМО» производит следующие виды автомобильных компонентов:
- Автомобильное электрооборудование (генераторы, стартеры, системы стеклоочистки);
- Системы охлаждения двигателя (радиаторы, термостаты).
Собственная производственная деятельность Концерна «ПРАМО» осуществляется на следующих площадках, расположенных в Центральном Федеральном Округе России:
- ОАО «ЭЛТРА», ООО "Прамо - Электро" г.Ржев, Тверская область. Производство генераторов и стартеров;
- ОАО «Ставровский завод автотракторного оборудования», пос.Ставрово, Владимирская область. Производство щеток и рычагов стеклоочистителей;
- ООО «СТАТО», пос.Ставрово, Владимирская область. Производство термостатов, термосиловых датчиков, жиклеров, стеклоомывателей и стеклоочистителей;
- ООО Совместное Предприятие «ПРАМО ИСКРА», г.Ржев, Тверская область. Производство редукторных стартеров.
Практически все предприятия, входящие в Концерн «ПРАМО» сертифицированы на соответствие требованиям международного стандарта ISO 9001:2001. В настоящее время ведется работа по дальнейшему совершенствованию системы управления качеством с целью ее сертификации на соответствие требованиям ISO 16949:2002.
Ключевыми партнерами Концерна «ПРАМО» являются такие производители автомобильной техники и комплектующих в России как АВТОВАЗ, КАМАЗ, ГАЗ, ЗМЗ, ЯМЗ и др., а также крупнейшие национальные оптово-розничные сети по продажам автозапчастей, в том числе и содружество компаний "АвтоАльянс".
На складах : 38 шт.
ЗАО «Концерн «ПРАМО» - один из ведущих производителей автомобильного и моторного оборудования в России и странах СНГ.
Миссия Концерна «ПРАМО» - удовлетворение потребностей рынка транспортных средств в автомобильных комплектующих.
Видение Концерна «ПРАМО» - стать в России компанией-лидером по производству современных автомобильных комплектующих.
Концерн «ПРАМО» производит следующие виды автомобильных компонентов:
- Автомобильное электрооборудование (генераторы, стартеры, системы стеклоочистки);
- Системы охлаждения двигателя (радиаторы, термостаты).
Собственная производственная деятельность Концерна «ПРАМО» осуществляется на следующих площадках, расположенных в Центральном Федеральном Округе России:
- ОАО «ЭЛТРА», ООО "Прамо - Электро" г.Ржев, Тверская область. Производство генераторов и стартеров;
- ОАО «Ставровский завод автотракторного оборудования», пос.Ставрово, Владимирская область. Производство щеток и рычагов стеклоочистителей;
- ООО «СТАТО», пос.Ставрово, Владимирская область. Производство термостатов, термосиловых датчиков, жиклеров, стеклоомывателей и стеклоочистителей;
- ООО Совместное Предприятие «ПРАМО ИСКРА», г.Ржев, Тверская область. Производство редукторных стартеров.
Практически все предприятия, входящие в Концерн «ПРАМО» сертифицированы на соответствие требованиям международного стандарта ISO 9001:2001. В настоящее время ведется работа по дальнейшему совершенствованию системы управления качеством с целью ее сертификации на соответствие требованиям ISO 16949:2002.
Ключевыми партнерами Концерна «ПРАМО» являются такие производители автомобильной техники и комплектующих в России как АВТОВАЗ, КАМАЗ, ГАЗ, ЗМЗ, ЯМЗ и др., а также крупнейшие национальные оптово-розничные сети по продажам автозапчастей, в том числе и содружество компаний "АвтоАльянс".
