C 9:00 до 20:00. Звонок по РФ бесплатный
ВниманиеЭлектронный автокаталог запчастей предназначен для справочных целей! Наша компания продает только те товары, у которых есть цены в списке.
Вид отображения:
Масштаб
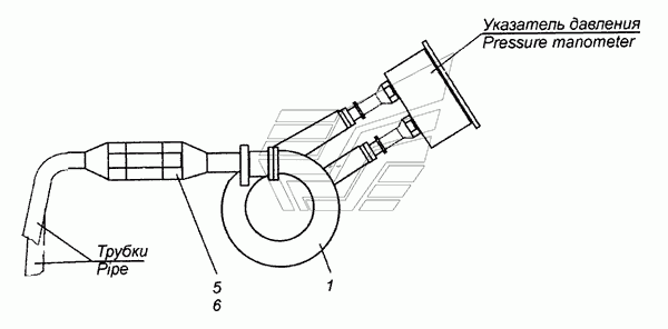
Номер детали на чертеже:
Шланг соединительный
Гайка М10х1-6Н низкая
Штуцер проходной
Если вы впервые на сайте, заполните регистрационную форму.
Забыли пароль? Восстановить
8 800 700-05-95
звонок по РФ бесплатный
+7 (495) 660-51-64
Интернет-магазинов | API
+7 (495) 660-51-64 доп. 7539
+7 (495) 660-24-53
+7 (495) 668-51-64 доб. 7524
+7 (495) 668-08-59 доб. 7576
+7 (495) 660-51-64 доб. 5245
+7 (495) 109-14-79
+7(495) 668-10-90
+7 (495) 660-07-29
+7 (495) 668-09-60
+7 (495) 780-05-06
+7 (495) 130-17-70
+7 (495) 668-06-97
+7 (495) 660-54-18
+7 (495) 660-51-64 доб.7209
+7 (495) 660-51-65