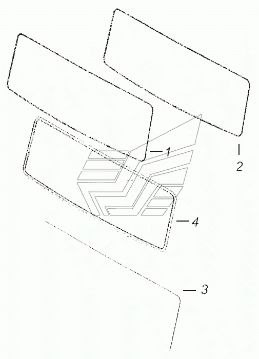
65115-5206005 Установка ветровых стекол КамАЗ-5308 (Евро 3). Каталог 2012г.

ОАО «КАМАЗ», как крупнейший производитель грузовых автомобилей в России, занимает лидирующие позиции и на рынке продаж запасных частей к своей технике. Значительное увеличение доли высококачественной фирменной продукции на нём признаётся компанией одним из стратегически важных направлений продуктовой и сбытовой политики. ТФК «КАМАЗ» это эксклюзивный дистрибьютор, которому предоставлено исключительное право на продажу основной продукции ОАО «КАМАЗ» на территории России. Единый производственный комплекс группы организаций ОАО "КАМАЗ" охватывает весь технологический цикл производства грузовых автомобилей - от разработки, изготовления, сборки автотехники и автокомпонентов до сбыта готовой продукции и сервисного сопровождения. Система качества продукции ОАО "КАМАЗ" отвечает требованиям международного стандарта ИСО 9001-2000 и одобрена органом по сертификации систем управления "Русский регистр". Двигатели КАМАЗ-740.60-360, КАМАЗ-740.61-320 и КАМАЗ-740.62-280 соответствуют требованиям международных экологических стандартов "Евро-3". ОАО "КАМАЗ" выпускает широкую гамму грузовой техники: грузовые автомобили (более 30 моделей, свыше 400 комплектаций) ,прицепы, автобусы, двигатели, силовые агрегаты и различный инструмент. "КАМАЗ" традиционно позиционируется на рынке грузовых автомобилей полной массой от 14 до 40 тонн. В последние годы гамма продукции компании значительно расширилась. Освоено производство среднетоннажных автомобилей, модернизированной модели КАМАЗ-5460М ("Стайер"), расширен модельный ряд автомобилей повышенной грузоподъемности. Эти машины не раз доказали свою надежность и уникальную проходимость. Именно поэтому опытные водители, которые занимаются перевозками, отдают предпочтение такой продукции как автомобили КАМАЗ. Техника КАМАЗ работает в любых дорожных и климатических условиях: в районах Крайнего Севера и в тропиках, в зонах пустынь и высокогорья. Есть только одна особенность у этих автомашин - при поломке стоит использовать только те запасные части, которые соответствуют качеству машины. "АвтоАльянс" предлагает именно такие запчасти КАМАЗ. "АвтоАльянс" является официальным дилером по продаже запасных частей и силовых агрегатов ОАО "КАМАЗ". Компания предлагает оригинальные запасные части к автомобилям "КАМАЗ". Главные принципы нашей работы - это всесторонняя поддержка клиентов при формировании заявки на запчасти, а также широчайший ассортимент запчастей производства ОАО "КАМАЗ". В "АвтоАльянс" можно заказывать запчасти от "А" до "Я", от шайбы до агрегата. Экономия нужна везде и во всем, но нельзя экономить на своем верном помощнике. Вся продукция ОАО "КАМАЗ", предлагаемая к продаже, имеет сертификаты качества. Причем это касается не только крупных узлов и агрегатов. От работы множеств мелких деталей так же зависит успешное функционирование всего механизма в целом. Каждый год появляются все более совершенные модели автомобиля КАМАЗ. И "АвтоАльянс" идет в ногу со временем и постоянно расширяет ассортиментный ряд запасных частей на новые КАМАЗы. "АвтоАльянс" в заводском рейтинге дилеров является крупнейшим дилером по запчастям КАМАЗ в Центральном регионе РФ.
На складах : 64 шт.

ОАО «КАМАЗ», как крупнейший производитель грузовых автомобилей в России, занимает лидирующие позиции и на рынке продаж запасных частей к своей технике. Значительное увеличение доли высококачественной фирменной продукции на нём признаётся компанией одним из стратегически важных направлений продуктовой и сбытовой политики. ТФК «КАМАЗ» это эксклюзивный дистрибьютор, которому предоставлено исключительное право на продажу основной продукции ОАО «КАМАЗ» на территории России. Единый производственный комплекс группы организаций ОАО "КАМАЗ" охватывает весь технологический цикл производства грузовых автомобилей - от разработки, изготовления, сборки автотехники и автокомпонентов до сбыта готовой продукции и сервисного сопровождения. Система качества продукции ОАО "КАМАЗ" отвечает требованиям международного стандарта ИСО 9001-2000 и одобрена органом по сертификации систем управления "Русский регистр". Двигатели КАМАЗ-740.60-360, КАМАЗ-740.61-320 и КАМАЗ-740.62-280 соответствуют требованиям международных экологических стандартов "Евро-3". ОАО "КАМАЗ" выпускает широкую гамму грузовой техники: грузовые автомобили (более 30 моделей, свыше 400 комплектаций) ,прицепы, автобусы, двигатели, силовые агрегаты и различный инструмент. "КАМАЗ" традиционно позиционируется на рынке грузовых автомобилей полной массой от 14 до 40 тонн. В последние годы гамма продукции компании значительно расширилась. Освоено производство среднетоннажных автомобилей, модернизированной модели КАМАЗ-5460М ("Стайер"), расширен модельный ряд автомобилей повышенной грузоподъемности. Эти машины не раз доказали свою надежность и уникальную проходимость. Именно поэтому опытные водители, которые занимаются перевозками, отдают предпочтение такой продукции как автомобили КАМАЗ. Техника КАМАЗ работает в любых дорожных и климатических условиях: в районах Крайнего Севера и в тропиках, в зонах пустынь и высокогорья. Есть только одна особенность у этих автомашин - при поломке стоит использовать только те запасные части, которые соответствуют качеству машины. "АвтоАльянс" предлагает именно такие запчасти КАМАЗ. "АвтоАльянс" является официальным дилером по продаже запасных частей и силовых агрегатов ОАО "КАМАЗ". Компания предлагает оригинальные запасные части к автомобилям "КАМАЗ". Главные принципы нашей работы - это всесторонняя поддержка клиентов при формировании заявки на запчасти, а также широчайший ассортимент запчастей производства ОАО "КАМАЗ". В "АвтоАльянс" можно заказывать запчасти от "А" до "Я", от шайбы до агрегата. Экономия нужна везде и во всем, но нельзя экономить на своем верном помощнике. Вся продукция ОАО "КАМАЗ", предлагаемая к продаже, имеет сертификаты качества. Причем это касается не только крупных узлов и агрегатов. От работы множеств мелких деталей так же зависит успешное функционирование всего механизма в целом. Каждый год появляются все более совершенные модели автомобиля КАМАЗ. И "АвтоАльянс" идет в ногу со временем и постоянно расширяет ассортиментный ряд запасных частей на новые КАМАЗы. "АвтоАльянс" в заводском рейтинге дилеров является крупнейшим дилером по запчастям КАМАЗ в Центральном регионе РФ.

ОАО «КАМАЗ», как крупнейший производитель грузовых автомобилей в России, занимает лидирующие позиции и на рынке продаж запасных частей к своей технике. Значительное увеличение доли высококачественной фирменной продукции на нём признаётся компанией одним из стратегически важных направлений продуктовой и сбытовой политики. ТФК «КАМАЗ» это эксклюзивный дистрибьютор, которому предоставлено исключительное право на продажу основной продукции ОАО «КАМАЗ» на территории России. Единый производственный комплекс группы организаций ОАО "КАМАЗ" охватывает весь технологический цикл производства грузовых автомобилей - от разработки, изготовления, сборки автотехники и автокомпонентов до сбыта готовой продукции и сервисного сопровождения. Система качества продукции ОАО "КАМАЗ" отвечает требованиям международного стандарта ИСО 9001-2000 и одобрена органом по сертификации систем управления "Русский регистр". Двигатели КАМАЗ-740.60-360, КАМАЗ-740.61-320 и КАМАЗ-740.62-280 соответствуют требованиям международных экологических стандартов "Евро-3". ОАО "КАМАЗ" выпускает широкую гамму грузовой техники: грузовые автомобили (более 30 моделей, свыше 400 комплектаций) ,прицепы, автобусы, двигатели, силовые агрегаты и различный инструмент. "КАМАЗ" традиционно позиционируется на рынке грузовых автомобилей полной массой от 14 до 40 тонн. В последние годы гамма продукции компании значительно расширилась. Освоено производство среднетоннажных автомобилей, модернизированной модели КАМАЗ-5460М ("Стайер"), расширен модельный ряд автомобилей повышенной грузоподъемности. Эти машины не раз доказали свою надежность и уникальную проходимость. Именно поэтому опытные водители, которые занимаются перевозками, отдают предпочтение такой продукции как автомобили КАМАЗ. Техника КАМАЗ работает в любых дорожных и климатических условиях: в районах Крайнего Севера и в тропиках, в зонах пустынь и высокогорья. Есть только одна особенность у этих автомашин - при поломке стоит использовать только те запасные части, которые соответствуют качеству машины. "АвтоАльянс" предлагает именно такие запчасти КАМАЗ. "АвтоАльянс" является официальным дилером по продаже запасных частей и силовых агрегатов ОАО "КАМАЗ". Компания предлагает оригинальные запасные части к автомобилям "КАМАЗ". Главные принципы нашей работы - это всесторонняя поддержка клиентов при формировании заявки на запчасти, а также широчайший ассортимент запчастей производства ОАО "КАМАЗ". В "АвтоАльянс" можно заказывать запчасти от "А" до "Я", от шайбы до агрегата. Экономия нужна везде и во всем, но нельзя экономить на своем верном помощнике. Вся продукция ОАО "КАМАЗ", предлагаемая к продаже, имеет сертификаты качества. Причем это касается не только крупных узлов и агрегатов. От работы множеств мелких деталей так же зависит успешное функционирование всего механизма в целом. Каждый год появляются все более совершенные модели автомобиля КАМАЗ. И "АвтоАльянс" идет в ногу со временем и постоянно расширяет ассортиментный ряд запасных частей на новые КАМАЗы. "АвтоАльянс" в заводском рейтинге дилеров является крупнейшим дилером по запчастям КАМАЗ в Центральном регионе РФ.

ОАО «КАМАЗ», как крупнейший производитель грузовых автомобилей в России, занимает лидирующие позиции и на рынке продаж запасных частей к своей технике. Значительное увеличение доли высококачественной фирменной продукции на нём признаётся компанией одним из стратегически важных направлений продуктовой и сбытовой политики. ТФК «КАМАЗ» это эксклюзивный дистрибьютор, которому предоставлено исключительное право на продажу основной продукции ОАО «КАМАЗ» на территории России. Единый производственный комплекс группы организаций ОАО "КАМАЗ" охватывает весь технологический цикл производства грузовых автомобилей - от разработки, изготовления, сборки автотехники и автокомпонентов до сбыта готовой продукции и сервисного сопровождения. Система качества продукции ОАО "КАМАЗ" отвечает требованиям международного стандарта ИСО 9001-2000 и одобрена органом по сертификации систем управления "Русский регистр". Двигатели КАМАЗ-740.60-360, КАМАЗ-740.61-320 и КАМАЗ-740.62-280 соответствуют требованиям международных экологических стандартов "Евро-3". ОАО "КАМАЗ" выпускает широкую гамму грузовой техники: грузовые автомобили (более 30 моделей, свыше 400 комплектаций) ,прицепы, автобусы, двигатели, силовые агрегаты и различный инструмент. "КАМАЗ" традиционно позиционируется на рынке грузовых автомобилей полной массой от 14 до 40 тонн. В последние годы гамма продукции компании значительно расширилась. Освоено производство среднетоннажных автомобилей, модернизированной модели КАМАЗ-5460М ("Стайер"), расширен модельный ряд автомобилей повышенной грузоподъемности. Эти машины не раз доказали свою надежность и уникальную проходимость. Именно поэтому опытные водители, которые занимаются перевозками, отдают предпочтение такой продукции как автомобили КАМАЗ. Техника КАМАЗ работает в любых дорожных и климатических условиях: в районах Крайнего Севера и в тропиках, в зонах пустынь и высокогорья. Есть только одна особенность у этих автомашин - при поломке стоит использовать только те запасные части, которые соответствуют качеству машины. "АвтоАльянс" предлагает именно такие запчасти КАМАЗ. "АвтоАльянс" является официальным дилером по продаже запасных частей и силовых агрегатов ОАО "КАМАЗ". Компания предлагает оригинальные запасные части к автомобилям "КАМАЗ". Главные принципы нашей работы - это всесторонняя поддержка клиентов при формировании заявки на запчасти, а также широчайший ассортимент запчастей производства ОАО "КАМАЗ". В "АвтоАльянс" можно заказывать запчасти от "А" до "Я", от шайбы до агрегата. Экономия нужна везде и во всем, но нельзя экономить на своем верном помощнике. Вся продукция ОАО "КАМАЗ", предлагаемая к продаже, имеет сертификаты качества. Причем это касается не только крупных узлов и агрегатов. От работы множеств мелких деталей так же зависит успешное функционирование всего механизма в целом. Каждый год появляются все более совершенные модели автомобиля КАМАЗ. И "АвтоАльянс" идет в ногу со временем и постоянно расширяет ассортиментный ряд запасных частей на новые КАМАЗы. "АвтоАльянс" в заводском рейтинге дилеров является крупнейшим дилером по запчастям КАМАЗ в Центральном регионе РФ.

Наверняка каждый из водителей сталкивался с такой ситуацией, когда на дороге из-под колес впереди идущего автомобиля вылетал камешек, и несся навстречу, подобно снаряду. В таких случаях ветровое стекло - единственная защита водителя от подобных инцидентов на дороге. Поэтому очень важно, чтобы стекло было качественным и способным выдержать подобный удар.
Лучшим выбором станут стекла производства Борского стекольного завода - лидера стекольной промышленности России. Уже более 70 лет водители отдают предпочтение продукции этого завода. Борский стекольный завод - обладатель сертификатов соответствия международным стандартам ISO/TS 16949:2002, ISO 14001-96, OHSAS 18001:99, а также свидетельства Всероссийской организации качества "Российское качество". Выбирая стекла Борского завода, вы выбираете качество и гарантию, что оно не подведет вас в чрезвычайных ситуациях.
ОАО «Эй Джи Си Борский стекольный завод» - лидер стекольной промышленности России, с 1997 года входит в состав международного концерна со столетней историей – AGC (Asahi Glass Company, Ltd.). Концерн действует более чем в 20 странах мира, имеет 350 дочерних компаний.
Asahi Glass Company – крупнейший в мире концерн по производству стекла, выпускающий автостекла под марками AGC Automotive, Asahi, Lamisafe, AP Tech, Splintex, Temperlite, Asahimas, . Корпорация сегодня является абсолютным лидером и занимает более трети мирового рынка автомобильных стекол – каждый третий в мире автомобиль сходит с конвейера со стеклом AGC.
Компания "АвтоАльянс" является официальным партнером ОАО "Эй Джи Си Борский стекольный завод" с правом продажи и продвижения (рекламы) продукции Asahi Glass Company.
В связи с тем, что на рынке присутствует большое количество поддельной продукции якобы производства этого завода, очень важно убедиться в том, что вам предлагается именно оригинальное стекло. В нашем ассортимента присутствует продукция для отечественных автомашин и для иномарок по самым выгодным ценам. И, что очень важно, только подлинного производства Борского завода.
Ассортимент:
- Молдинг
- Резинка гребенчатая для транспортировки стекла
- Стекло
- Стекло боковое
- Стекло ветрового окна
- Стекло ветровое
- Стекло двери
- Стекло неподвижное
- Стекло окна боковины
- Стекло окна аварийного
- Стекло опускное
- Стекло рамки окна двери водителя
- Стекло поворотное
- Стекло форточки
На складах : 19 шт.

Наверняка каждый из водителей сталкивался с такой ситуацией, когда на дороге из-под колес впереди идущего автомобиля вылетал камешек, и несся навстречу, подобно снаряду. В таких случаях ветровое стекло - единственная защита водителя от подобных инцидентов на дороге. Поэтому очень важно, чтобы стекло было качественным и способным выдержать подобный удар.
Лучшим выбором станут стекла производства Борского стекольного завода - лидера стекольной промышленности России. Уже более 70 лет водители отдают предпочтение продукции этого завода. Борский стекольный завод - обладатель сертификатов соответствия международным стандартам ISO/TS 16949:2002, ISO 14001-96, OHSAS 18001:99, а также свидетельства Всероссийской организации качества "Российское качество". Выбирая стекла Борского завода, вы выбираете качество и гарантию, что оно не подведет вас в чрезвычайных ситуациях.
ОАО «Эй Джи Си Борский стекольный завод» - лидер стекольной промышленности России, с 1997 года входит в состав международного концерна со столетней историей – AGC (Asahi Glass Company, Ltd.). Концерн действует более чем в 20 странах мира, имеет 350 дочерних компаний.
Asahi Glass Company – крупнейший в мире концерн по производству стекла, выпускающий автостекла под марками AGC Automotive, Asahi, Lamisafe, AP Tech, Splintex, Temperlite, Asahimas, . Корпорация сегодня является абсолютным лидером и занимает более трети мирового рынка автомобильных стекол – каждый третий в мире автомобиль сходит с конвейера со стеклом AGC.
Компания "АвтоАльянс" является официальным партнером ОАО "Эй Джи Си Борский стекольный завод" с правом продажи и продвижения (рекламы) продукции Asahi Glass Company.
В связи с тем, что на рынке присутствует большое количество поддельной продукции якобы производства этого завода, очень важно убедиться в том, что вам предлагается именно оригинальное стекло. В нашем ассортимента присутствует продукция для отечественных автомашин и для иномарок по самым выгодным ценам. И, что очень важно, только подлинного производства Борского завода.
Ассортимент:
- Молдинг
- Резинка гребенчатая для транспортировки стекла
- Стекло
- Стекло боковое
- Стекло ветрового окна
- Стекло ветровое
- Стекло двери
- Стекло неподвижное
- Стекло окна боковины
- Стекло окна аварийного
- Стекло опускное
- Стекло рамки окна двери водителя
- Стекло поворотное
- Стекло форточки

Наверняка каждый из водителей сталкивался с такой ситуацией, когда на дороге из-под колес впереди идущего автомобиля вылетал камешек, и несся навстречу, подобно снаряду. В таких случаях ветровое стекло - единственная защита водителя от подобных инцидентов на дороге. Поэтому очень важно, чтобы стекло было качественным и способным выдержать подобный удар.
Лучшим выбором станут стекла производства Борского стекольного завода - лидера стекольной промышленности России. Уже более 70 лет водители отдают предпочтение продукции этого завода. Борский стекольный завод - обладатель сертификатов соответствия международным стандартам ISO/TS 16949:2002, ISO 14001-96, OHSAS 18001:99, а также свидетельства Всероссийской организации качества "Российское качество". Выбирая стекла Борского завода, вы выбираете качество и гарантию, что оно не подведет вас в чрезвычайных ситуациях.
ОАО «Эй Джи Си Борский стекольный завод» - лидер стекольной промышленности России, с 1997 года входит в состав международного концерна со столетней историей – AGC (Asahi Glass Company, Ltd.). Концерн действует более чем в 20 странах мира, имеет 350 дочерних компаний.
Asahi Glass Company – крупнейший в мире концерн по производству стекла, выпускающий автостекла под марками AGC Automotive, Asahi, Lamisafe, AP Tech, Splintex, Temperlite, Asahimas, . Корпорация сегодня является абсолютным лидером и занимает более трети мирового рынка автомобильных стекол – каждый третий в мире автомобиль сходит с конвейера со стеклом AGC.
Компания "АвтоАльянс" является официальным партнером ОАО "Эй Джи Си Борский стекольный завод" с правом продажи и продвижения (рекламы) продукции Asahi Glass Company.
В связи с тем, что на рынке присутствует большое количество поддельной продукции якобы производства этого завода, очень важно убедиться в том, что вам предлагается именно оригинальное стекло. В нашем ассортимента присутствует продукция для отечественных автомашин и для иномарок по самым выгодным ценам. И, что очень важно, только подлинного производства Борского завода.
Ассортимент:
- Молдинг
- Резинка гребенчатая для транспортировки стекла
- Стекло
- Стекло боковое
- Стекло ветрового окна
- Стекло ветровое
- Стекло двери
- Стекло неподвижное
- Стекло окна боковины
- Стекло окна аварийного
- Стекло опускное
- Стекло рамки окна двери водителя
- Стекло поворотное
- Стекло форточки

Наверняка каждый из водителей сталкивался с такой ситуацией, когда на дороге из-под колес впереди идущего автомобиля вылетал камешек, и несся навстречу, подобно снаряду. В таких случаях ветровое стекло - единственная защита водителя от подобных инцидентов на дороге. Поэтому очень важно, чтобы стекло было качественным и способным выдержать подобный удар.
Лучшим выбором станут стекла производства Борского стекольного завода - лидера стекольной промышленности России. Уже более 70 лет водители отдают предпочтение продукции этого завода. Борский стекольный завод - обладатель сертификатов соответствия международным стандартам ISO/TS 16949:2002, ISO 14001-96, OHSAS 18001:99, а также свидетельства Всероссийской организации качества "Российское качество". Выбирая стекла Борского завода, вы выбираете качество и гарантию, что оно не подведет вас в чрезвычайных ситуациях.
ОАО «Эй Джи Си Борский стекольный завод» - лидер стекольной промышленности России, с 1997 года входит в состав международного концерна со столетней историей – AGC (Asahi Glass Company, Ltd.). Концерн действует более чем в 20 странах мира, имеет 350 дочерних компаний.
Asahi Glass Company – крупнейший в мире концерн по производству стекла, выпускающий автостекла под марками AGC Automotive, Asahi, Lamisafe, AP Tech, Splintex, Temperlite, Asahimas, . Корпорация сегодня является абсолютным лидером и занимает более трети мирового рынка автомобильных стекол – каждый третий в мире автомобиль сходит с конвейера со стеклом AGC.
Компания "АвтоАльянс" является официальным партнером ОАО "Эй Джи Си Борский стекольный завод" с правом продажи и продвижения (рекламы) продукции Asahi Glass Company.
В связи с тем, что на рынке присутствует большое количество поддельной продукции якобы производства этого завода, очень важно убедиться в том, что вам предлагается именно оригинальное стекло. В нашем ассортимента присутствует продукция для отечественных автомашин и для иномарок по самым выгодным ценам. И, что очень важно, только подлинного производства Борского завода.
Ассортимент:
- Молдинг
- Резинка гребенчатая для транспортировки стекла
- Стекло
- Стекло боковое
- Стекло ветрового окна
- Стекло ветровое
- Стекло двери
- Стекло неподвижное
- Стекло окна боковины
- Стекло окна аварийного
- Стекло опускное
- Стекло рамки окна двери водителя
- Стекло поворотное
- Стекло форточки

ОАО «КАМАЗ», как крупнейший производитель грузовых автомобилей в России, занимает лидирующие позиции и на рынке продаж запасных частей к своей технике. Значительное увеличение доли высококачественной фирменной продукции на нём признаётся компанией одним из стратегически важных направлений продуктовой и сбытовой политики. ТФК «КАМАЗ» это эксклюзивный дистрибьютор, которому предоставлено исключительное право на продажу основной продукции ОАО «КАМАЗ» на территории России. Единый производственный комплекс группы организаций ОАО "КАМАЗ" охватывает весь технологический цикл производства грузовых автомобилей - от разработки, изготовления, сборки автотехники и автокомпонентов до сбыта готовой продукции и сервисного сопровождения. Система качества продукции ОАО "КАМАЗ" отвечает требованиям международного стандарта ИСО 9001-2000 и одобрена органом по сертификации систем управления "Русский регистр". Двигатели КАМАЗ-740.60-360, КАМАЗ-740.61-320 и КАМАЗ-740.62-280 соответствуют требованиям международных экологических стандартов "Евро-3". ОАО "КАМАЗ" выпускает широкую гамму грузовой техники: грузовые автомобили (более 30 моделей, свыше 400 комплектаций) ,прицепы, автобусы, двигатели, силовые агрегаты и различный инструмент. "КАМАЗ" традиционно позиционируется на рынке грузовых автомобилей полной массой от 14 до 40 тонн. В последние годы гамма продукции компании значительно расширилась. Освоено производство среднетоннажных автомобилей, модернизированной модели КАМАЗ-5460М ("Стайер"), расширен модельный ряд автомобилей повышенной грузоподъемности. Эти машины не раз доказали свою надежность и уникальную проходимость. Именно поэтому опытные водители, которые занимаются перевозками, отдают предпочтение такой продукции как автомобили КАМАЗ. Техника КАМАЗ работает в любых дорожных и климатических условиях: в районах Крайнего Севера и в тропиках, в зонах пустынь и высокогорья. Есть только одна особенность у этих автомашин - при поломке стоит использовать только те запасные части, которые соответствуют качеству машины. "АвтоАльянс" предлагает именно такие запчасти КАМАЗ. "АвтоАльянс" является официальным дилером по продаже запасных частей и силовых агрегатов ОАО "КАМАЗ". Компания предлагает оригинальные запасные части к автомобилям "КАМАЗ". Главные принципы нашей работы - это всесторонняя поддержка клиентов при формировании заявки на запчасти, а также широчайший ассортимент запчастей производства ОАО "КАМАЗ". В "АвтоАльянс" можно заказывать запчасти от "А" до "Я", от шайбы до агрегата. Экономия нужна везде и во всем, но нельзя экономить на своем верном помощнике. Вся продукция ОАО "КАМАЗ", предлагаемая к продаже, имеет сертификаты качества. Причем это касается не только крупных узлов и агрегатов. От работы множеств мелких деталей так же зависит успешное функционирование всего механизма в целом. Каждый год появляются все более совершенные модели автомобиля КАМАЗ. И "АвтоАльянс" идет в ногу со временем и постоянно расширяет ассортиментный ряд запасных частей на новые КАМАЗы. "АвтоАльянс" в заводском рейтинге дилеров является крупнейшим дилером по запчастям КАМАЗ в Центральном регионе РФ.
На складах : 130 шт.

ОАО «КАМАЗ», как крупнейший производитель грузовых автомобилей в России, занимает лидирующие позиции и на рынке продаж запасных частей к своей технике. Значительное увеличение доли высококачественной фирменной продукции на нём признаётся компанией одним из стратегически важных направлений продуктовой и сбытовой политики. ТФК «КАМАЗ» это эксклюзивный дистрибьютор, которому предоставлено исключительное право на продажу основной продукции ОАО «КАМАЗ» на территории России. Единый производственный комплекс группы организаций ОАО "КАМАЗ" охватывает весь технологический цикл производства грузовых автомобилей - от разработки, изготовления, сборки автотехники и автокомпонентов до сбыта готовой продукции и сервисного сопровождения. Система качества продукции ОАО "КАМАЗ" отвечает требованиям международного стандарта ИСО 9001-2000 и одобрена органом по сертификации систем управления "Русский регистр". Двигатели КАМАЗ-740.60-360, КАМАЗ-740.61-320 и КАМАЗ-740.62-280 соответствуют требованиям международных экологических стандартов "Евро-3". ОАО "КАМАЗ" выпускает широкую гамму грузовой техники: грузовые автомобили (более 30 моделей, свыше 400 комплектаций) ,прицепы, автобусы, двигатели, силовые агрегаты и различный инструмент. "КАМАЗ" традиционно позиционируется на рынке грузовых автомобилей полной массой от 14 до 40 тонн. В последние годы гамма продукции компании значительно расширилась. Освоено производство среднетоннажных автомобилей, модернизированной модели КАМАЗ-5460М ("Стайер"), расширен модельный ряд автомобилей повышенной грузоподъемности. Эти машины не раз доказали свою надежность и уникальную проходимость. Именно поэтому опытные водители, которые занимаются перевозками, отдают предпочтение такой продукции как автомобили КАМАЗ. Техника КАМАЗ работает в любых дорожных и климатических условиях: в районах Крайнего Севера и в тропиках, в зонах пустынь и высокогорья. Есть только одна особенность у этих автомашин - при поломке стоит использовать только те запасные части, которые соответствуют качеству машины. "АвтоАльянс" предлагает именно такие запчасти КАМАЗ. "АвтоАльянс" является официальным дилером по продаже запасных частей и силовых агрегатов ОАО "КАМАЗ". Компания предлагает оригинальные запасные части к автомобилям "КАМАЗ". Главные принципы нашей работы - это всесторонняя поддержка клиентов при формировании заявки на запчасти, а также широчайший ассортимент запчастей производства ОАО "КАМАЗ". В "АвтоАльянс" можно заказывать запчасти от "А" до "Я", от шайбы до агрегата. Экономия нужна везде и во всем, но нельзя экономить на своем верном помощнике. Вся продукция ОАО "КАМАЗ", предлагаемая к продаже, имеет сертификаты качества. Причем это касается не только крупных узлов и агрегатов. От работы множеств мелких деталей так же зависит успешное функционирование всего механизма в целом. Каждый год появляются все более совершенные модели автомобиля КАМАЗ. И "АвтоАльянс" идет в ногу со временем и постоянно расширяет ассортиментный ряд запасных частей на новые КАМАЗы. "АвтоАльянс" в заводском рейтинге дилеров является крупнейшим дилером по запчастям КАМАЗ в Центральном регионе РФ.

Наверняка каждый из водителей сталкивался с такой ситуацией, когда на дороге из-под колес впереди идущего автомобиля вылетал камешек, и несся навстречу, подобно снаряду. В таких случаях ветровое стекло - единственная защита водителя от подобных инцидентов на дороге. Поэтому очень важно, чтобы стекло было качественным и способным выдержать подобный удар.
Лучшим выбором станут стекла производства Борского стекольного завода - лидера стекольной промышленности России. Уже более 70 лет водители отдают предпочтение продукции этого завода. Борский стекольный завод - обладатель сертификатов соответствия международным стандартам ISO/TS 16949:2002, ISO 14001-96, OHSAS 18001:99, а также свидетельства Всероссийской организации качества "Российское качество". Выбирая стекла Борского завода, вы выбираете качество и гарантию, что оно не подведет вас в чрезвычайных ситуациях.
ОАО «Эй Джи Си Борский стекольный завод» - лидер стекольной промышленности России, с 1997 года входит в состав международного концерна со столетней историей – AGC (Asahi Glass Company, Ltd.). Концерн действует более чем в 20 странах мира, имеет 350 дочерних компаний.
Asahi Glass Company – крупнейший в мире концерн по производству стекла, выпускающий автостекла под марками AGC Automotive, Asahi, Lamisafe, AP Tech, Splintex, Temperlite, Asahimas, . Корпорация сегодня является абсолютным лидером и занимает более трети мирового рынка автомобильных стекол – каждый третий в мире автомобиль сходит с конвейера со стеклом AGC.
Компания "АвтоАльянс" является официальным партнером ОАО "Эй Джи Си Борский стекольный завод" с правом продажи и продвижения (рекламы) продукции Asahi Glass Company.
В связи с тем, что на рынке присутствует большое количество поддельной продукции якобы производства этого завода, очень важно убедиться в том, что вам предлагается именно оригинальное стекло. В нашем ассортимента присутствует продукция для отечественных автомашин и для иномарок по самым выгодным ценам. И, что очень важно, только подлинного производства Борского завода.
Ассортимент:
- Молдинг
- Резинка гребенчатая для транспортировки стекла
- Стекло
- Стекло боковое
- Стекло ветрового окна
- Стекло ветровое
- Стекло двери
- Стекло неподвижное
- Стекло окна боковины
- Стекло окна аварийного
- Стекло опускное
- Стекло рамки окна двери водителя
- Стекло поворотное
- Стекло форточки
На складах : 110 шт.

Наверняка каждый из водителей сталкивался с такой ситуацией, когда на дороге из-под колес впереди идущего автомобиля вылетал камешек, и несся навстречу, подобно снаряду. В таких случаях ветровое стекло - единственная защита водителя от подобных инцидентов на дороге. Поэтому очень важно, чтобы стекло было качественным и способным выдержать подобный удар.
Лучшим выбором станут стекла производства Борского стекольного завода - лидера стекольной промышленности России. Уже более 70 лет водители отдают предпочтение продукции этого завода. Борский стекольный завод - обладатель сертификатов соответствия международным стандартам ISO/TS 16949:2002, ISO 14001-96, OHSAS 18001:99, а также свидетельства Всероссийской организации качества "Российское качество". Выбирая стекла Борского завода, вы выбираете качество и гарантию, что оно не подведет вас в чрезвычайных ситуациях.
ОАО «Эй Джи Си Борский стекольный завод» - лидер стекольной промышленности России, с 1997 года входит в состав международного концерна со столетней историей – AGC (Asahi Glass Company, Ltd.). Концерн действует более чем в 20 странах мира, имеет 350 дочерних компаний.
Asahi Glass Company – крупнейший в мире концерн по производству стекла, выпускающий автостекла под марками AGC Automotive, Asahi, Lamisafe, AP Tech, Splintex, Temperlite, Asahimas, . Корпорация сегодня является абсолютным лидером и занимает более трети мирового рынка автомобильных стекол – каждый третий в мире автомобиль сходит с конвейера со стеклом AGC.
Компания "АвтоАльянс" является официальным партнером ОАО "Эй Джи Си Борский стекольный завод" с правом продажи и продвижения (рекламы) продукции Asahi Glass Company.
В связи с тем, что на рынке присутствует большое количество поддельной продукции якобы производства этого завода, очень важно убедиться в том, что вам предлагается именно оригинальное стекло. В нашем ассортимента присутствует продукция для отечественных автомашин и для иномарок по самым выгодным ценам. И, что очень важно, только подлинного производства Борского завода.
Ассортимент:
- Молдинг
- Резинка гребенчатая для транспортировки стекла
- Стекло
- Стекло боковое
- Стекло ветрового окна
- Стекло ветровое
- Стекло двери
- Стекло неподвижное
- Стекло окна боковины
- Стекло окна аварийного
- Стекло опускное
- Стекло рамки окна двери водителя
- Стекло поворотное
- Стекло форточки

Наверняка каждый из водителей сталкивался с такой ситуацией, когда на дороге из-под колес впереди идущего автомобиля вылетал камешек, и несся навстречу, подобно снаряду. В таких случаях ветровое стекло - единственная защита водителя от подобных инцидентов на дороге. Поэтому очень важно, чтобы стекло было качественным и способным выдержать подобный удар.
Лучшим выбором станут стекла производства Борского стекольного завода - лидера стекольной промышленности России. Уже более 70 лет водители отдают предпочтение продукции этого завода. Борский стекольный завод - обладатель сертификатов соответствия международным стандартам ISO/TS 16949:2002, ISO 14001-96, OHSAS 18001:99, а также свидетельства Всероссийской организации качества "Российское качество". Выбирая стекла Борского завода, вы выбираете качество и гарантию, что оно не подведет вас в чрезвычайных ситуациях.
ОАО «Эй Джи Си Борский стекольный завод» - лидер стекольной промышленности России, с 1997 года входит в состав международного концерна со столетней историей – AGC (Asahi Glass Company, Ltd.). Концерн действует более чем в 20 странах мира, имеет 350 дочерних компаний.
Asahi Glass Company – крупнейший в мире концерн по производству стекла, выпускающий автостекла под марками AGC Automotive, Asahi, Lamisafe, AP Tech, Splintex, Temperlite, Asahimas, . Корпорация сегодня является абсолютным лидером и занимает более трети мирового рынка автомобильных стекол – каждый третий в мире автомобиль сходит с конвейера со стеклом AGC.
Компания "АвтоАльянс" является официальным партнером ОАО "Эй Джи Си Борский стекольный завод" с правом продажи и продвижения (рекламы) продукции Asahi Glass Company.
В связи с тем, что на рынке присутствует большое количество поддельной продукции якобы производства этого завода, очень важно убедиться в том, что вам предлагается именно оригинальное стекло. В нашем ассортимента присутствует продукция для отечественных автомашин и для иномарок по самым выгодным ценам. И, что очень важно, только подлинного производства Борского завода.
Ассортимент:
- Молдинг
- Резинка гребенчатая для транспортировки стекла
- Стекло
- Стекло боковое
- Стекло ветрового окна
- Стекло ветровое
- Стекло двери
- Стекло неподвижное
- Стекло окна боковины
- Стекло окна аварийного
- Стекло опускное
- Стекло рамки окна двери водителя
- Стекло поворотное
- Стекло форточки

Наверняка каждый из водителей сталкивался с такой ситуацией, когда на дороге из-под колес впереди идущего автомобиля вылетал камешек, и несся навстречу, подобно снаряду. В таких случаях ветровое стекло - единственная защита водителя от подобных инцидентов на дороге. Поэтому очень важно, чтобы стекло было качественным и способным выдержать подобный удар.
Лучшим выбором станут стекла производства Борского стекольного завода - лидера стекольной промышленности России. Уже более 70 лет водители отдают предпочтение продукции этого завода. Борский стекольный завод - обладатель сертификатов соответствия международным стандартам ISO/TS 16949:2002, ISO 14001-96, OHSAS 18001:99, а также свидетельства Всероссийской организации качества "Российское качество". Выбирая стекла Борского завода, вы выбираете качество и гарантию, что оно не подведет вас в чрезвычайных ситуациях.
ОАО «Эй Джи Си Борский стекольный завод» - лидер стекольной промышленности России, с 1997 года входит в состав международного концерна со столетней историей – AGC (Asahi Glass Company, Ltd.). Концерн действует более чем в 20 странах мира, имеет 350 дочерних компаний.
Asahi Glass Company – крупнейший в мире концерн по производству стекла, выпускающий автостекла под марками AGC Automotive, Asahi, Lamisafe, AP Tech, Splintex, Temperlite, Asahimas, . Корпорация сегодня является абсолютным лидером и занимает более трети мирового рынка автомобильных стекол – каждый третий в мире автомобиль сходит с конвейера со стеклом AGC.
Компания "АвтоАльянс" является официальным партнером ОАО "Эй Джи Си Борский стекольный завод" с правом продажи и продвижения (рекламы) продукции Asahi Glass Company.
В связи с тем, что на рынке присутствует большое количество поддельной продукции якобы производства этого завода, очень важно убедиться в том, что вам предлагается именно оригинальное стекло. В нашем ассортимента присутствует продукция для отечественных автомашин и для иномарок по самым выгодным ценам. И, что очень важно, только подлинного производства Борского завода.
Ассортимент:
- Молдинг
- Резинка гребенчатая для транспортировки стекла
- Стекло
- Стекло боковое
- Стекло ветрового окна
- Стекло ветровое
- Стекло двери
- Стекло неподвижное
- Стекло окна боковины
- Стекло окна аварийного
- Стекло опускное
- Стекло рамки окна двери водителя
- Стекло поворотное
- Стекло форточки
На складах : 29 шт.