8 800 700-05-95 Все контакты

C 9:00 до 20:00. Звонок по РФ бесплатный

5320-8406100 Личинка замка панели КамАЗ-43255 (Евро-3). Каталог 2012г.

ВниманиеЭлектронный автокаталог запчастей предназначен для справочных целей! Наша компания продает только те товары, у которых есть цены в списке.

Вид отображения:

Детали справа
1
2
3
1

Номер детали на чертеже: 

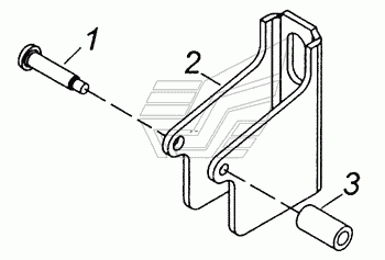
1

Заклепка

Заводской номер: 5320-8406090 Количество на модель: 1
5320-8406090
1
2

Номер детали на чертеже: 

2

Скоба

Заводской номер: 5320-8406106 Количество на модель: 1
5320-8406106
1
3

Номер детали на чертеже: 

3

Втулка

Заводской номер: 5320-8406112 Количество на модель: 1
5320-8406112
1