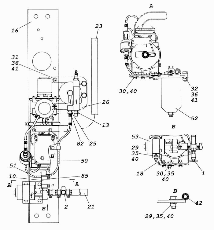
Установка подогревателя, электродвигателя с насосом и топливного фильтра КамАЗ-5460. Каталог 2005г.

ОАО «КАМАЗ», как крупнейший производитель грузовых автомобилей в России, занимает лидирующие позиции и на рынке продаж запасных частей к своей технике. Значительное увеличение доли высококачественной фирменной продукции на нём признаётся компанией одним из стратегически важных направлений продуктовой и сбытовой политики. ТФК «КАМАЗ» это эксклюзивный дистрибьютор, которому предоставлено исключительное право на продажу основной продукции ОАО «КАМАЗ» на территории России. Единый производственный комплекс группы организаций ОАО "КАМАЗ" охватывает весь технологический цикл производства грузовых автомобилей - от разработки, изготовления, сборки автотехники и автокомпонентов до сбыта готовой продукции и сервисного сопровождения. Система качества продукции ОАО "КАМАЗ" отвечает требованиям международного стандарта ИСО 9001-2000 и одобрена органом по сертификации систем управления "Русский регистр". Двигатели КАМАЗ-740.60-360, КАМАЗ-740.61-320 и КАМАЗ-740.62-280 соответствуют требованиям международных экологических стандартов "Евро-3". ОАО "КАМАЗ" выпускает широкую гамму грузовой техники: грузовые автомобили (более 30 моделей, свыше 400 комплектаций) ,прицепы, автобусы, двигатели, силовые агрегаты и различный инструмент. "КАМАЗ" традиционно позиционируется на рынке грузовых автомобилей полной массой от 14 до 40 тонн. В последние годы гамма продукции компании значительно расширилась. Освоено производство среднетоннажных автомобилей, модернизированной модели КАМАЗ-5460М ("Стайер"), расширен модельный ряд автомобилей повышенной грузоподъемности. Эти машины не раз доказали свою надежность и уникальную проходимость. Именно поэтому опытные водители, которые занимаются перевозками, отдают предпочтение такой продукции как автомобили КАМАЗ. Техника КАМАЗ работает в любых дорожных и климатических условиях: в районах Крайнего Севера и в тропиках, в зонах пустынь и высокогорья. Есть только одна особенность у этих автомашин - при поломке стоит использовать только те запасные части, которые соответствуют качеству машины. "АвтоАльянс" предлагает именно такие запчасти КАМАЗ. "АвтоАльянс" является официальным дилером по продаже запасных частей и силовых агрегатов ОАО "КАМАЗ". Компания предлагает оригинальные запасные части к автомобилям "КАМАЗ". Главные принципы нашей работы - это всесторонняя поддержка клиентов при формировании заявки на запчасти, а также широчайший ассортимент запчастей производства ОАО "КАМАЗ". В "АвтоАльянс" можно заказывать запчасти от "А" до "Я", от шайбы до агрегата. Экономия нужна везде и во всем, но нельзя экономить на своем верном помощнике. Вся продукция ОАО "КАМАЗ", предлагаемая к продаже, имеет сертификаты качества. Причем это касается не только крупных узлов и агрегатов. От работы множеств мелких деталей так же зависит успешное функционирование всего механизма в целом. Каждый год появляются все более совершенные модели автомобиля КАМАЗ. И "АвтоАльянс" идет в ногу со временем и постоянно расширяет ассортиментный ряд запасных частей на новые КАМАЗы. "АвтоАльянс" в заводском рейтинге дилеров является крупнейшим дилером по запчастям КАМАЗ в Центральном регионе РФ.
На складах : 63 шт.

ОАО «КАМАЗ», как крупнейший производитель грузовых автомобилей в России, занимает лидирующие позиции и на рынке продаж запасных частей к своей технике. Значительное увеличение доли высококачественной фирменной продукции на нём признаётся компанией одним из стратегически важных направлений продуктовой и сбытовой политики. ТФК «КАМАЗ» это эксклюзивный дистрибьютор, которому предоставлено исключительное право на продажу основной продукции ОАО «КАМАЗ» на территории России. Единый производственный комплекс группы организаций ОАО "КАМАЗ" охватывает весь технологический цикл производства грузовых автомобилей - от разработки, изготовления, сборки автотехники и автокомпонентов до сбыта готовой продукции и сервисного сопровождения. Система качества продукции ОАО "КАМАЗ" отвечает требованиям международного стандарта ИСО 9001-2000 и одобрена органом по сертификации систем управления "Русский регистр". Двигатели КАМАЗ-740.60-360, КАМАЗ-740.61-320 и КАМАЗ-740.62-280 соответствуют требованиям международных экологических стандартов "Евро-3". ОАО "КАМАЗ" выпускает широкую гамму грузовой техники: грузовые автомобили (более 30 моделей, свыше 400 комплектаций) ,прицепы, автобусы, двигатели, силовые агрегаты и различный инструмент. "КАМАЗ" традиционно позиционируется на рынке грузовых автомобилей полной массой от 14 до 40 тонн. В последние годы гамма продукции компании значительно расширилась. Освоено производство среднетоннажных автомобилей, модернизированной модели КАМАЗ-5460М ("Стайер"), расширен модельный ряд автомобилей повышенной грузоподъемности. Эти машины не раз доказали свою надежность и уникальную проходимость. Именно поэтому опытные водители, которые занимаются перевозками, отдают предпочтение такой продукции как автомобили КАМАЗ. Техника КАМАЗ работает в любых дорожных и климатических условиях: в районах Крайнего Севера и в тропиках, в зонах пустынь и высокогорья. Есть только одна особенность у этих автомашин - при поломке стоит использовать только те запасные части, которые соответствуют качеству машины. "АвтоАльянс" предлагает именно такие запчасти КАМАЗ. "АвтоАльянс" является официальным дилером по продаже запасных частей и силовых агрегатов ОАО "КАМАЗ". Компания предлагает оригинальные запасные части к автомобилям "КАМАЗ". Главные принципы нашей работы - это всесторонняя поддержка клиентов при формировании заявки на запчасти, а также широчайший ассортимент запчастей производства ОАО "КАМАЗ". В "АвтоАльянс" можно заказывать запчасти от "А" до "Я", от шайбы до агрегата. Экономия нужна везде и во всем, но нельзя экономить на своем верном помощнике. Вся продукция ОАО "КАМАЗ", предлагаемая к продаже, имеет сертификаты качества. Причем это касается не только крупных узлов и агрегатов. От работы множеств мелких деталей так же зависит успешное функционирование всего механизма в целом. Каждый год появляются все более совершенные модели автомобиля КАМАЗ. И "АвтоАльянс" идет в ногу со временем и постоянно расширяет ассортиментный ряд запасных частей на новые КАМАЗы. "АвтоАльянс" в заводском рейтинге дилеров является крупнейшим дилером по запчастям КАМАЗ в Центральном регионе РФ.

ОАО «КАМАЗ», как крупнейший производитель грузовых автомобилей в России, занимает лидирующие позиции и на рынке продаж запасных частей к своей технике. Значительное увеличение доли высококачественной фирменной продукции на нём признаётся компанией одним из стратегически важных направлений продуктовой и сбытовой политики. ТФК «КАМАЗ» это эксклюзивный дистрибьютор, которому предоставлено исключительное право на продажу основной продукции ОАО «КАМАЗ» на территории России. Единый производственный комплекс группы организаций ОАО "КАМАЗ" охватывает весь технологический цикл производства грузовых автомобилей - от разработки, изготовления, сборки автотехники и автокомпонентов до сбыта готовой продукции и сервисного сопровождения. Система качества продукции ОАО "КАМАЗ" отвечает требованиям международного стандарта ИСО 9001-2000 и одобрена органом по сертификации систем управления "Русский регистр". Двигатели КАМАЗ-740.60-360, КАМАЗ-740.61-320 и КАМАЗ-740.62-280 соответствуют требованиям международных экологических стандартов "Евро-3". ОАО "КАМАЗ" выпускает широкую гамму грузовой техники: грузовые автомобили (более 30 моделей, свыше 400 комплектаций) ,прицепы, автобусы, двигатели, силовые агрегаты и различный инструмент. "КАМАЗ" традиционно позиционируется на рынке грузовых автомобилей полной массой от 14 до 40 тонн. В последние годы гамма продукции компании значительно расширилась. Освоено производство среднетоннажных автомобилей, модернизированной модели КАМАЗ-5460М ("Стайер"), расширен модельный ряд автомобилей повышенной грузоподъемности. Эти машины не раз доказали свою надежность и уникальную проходимость. Именно поэтому опытные водители, которые занимаются перевозками, отдают предпочтение такой продукции как автомобили КАМАЗ. Техника КАМАЗ работает в любых дорожных и климатических условиях: в районах Крайнего Севера и в тропиках, в зонах пустынь и высокогорья. Есть только одна особенность у этих автомашин - при поломке стоит использовать только те запасные части, которые соответствуют качеству машины. "АвтоАльянс" предлагает именно такие запчасти КАМАЗ. "АвтоАльянс" является официальным дилером по продаже запасных частей и силовых агрегатов ОАО "КАМАЗ". Компания предлагает оригинальные запасные части к автомобилям "КАМАЗ". Главные принципы нашей работы - это всесторонняя поддержка клиентов при формировании заявки на запчасти, а также широчайший ассортимент запчастей производства ОАО "КАМАЗ". В "АвтоАльянс" можно заказывать запчасти от "А" до "Я", от шайбы до агрегата. Экономия нужна везде и во всем, но нельзя экономить на своем верном помощнике. Вся продукция ОАО "КАМАЗ", предлагаемая к продаже, имеет сертификаты качества. Причем это касается не только крупных узлов и агрегатов. От работы множеств мелких деталей так же зависит успешное функционирование всего механизма в целом. Каждый год появляются все более совершенные модели автомобиля КАМАЗ. И "АвтоАльянс" идет в ногу со временем и постоянно расширяет ассортиментный ряд запасных частей на новые КАМАЗы. "АвтоАльянс" в заводском рейтинге дилеров является крупнейшим дилером по запчастям КАМАЗ в Центральном регионе РФ.
На складах : 65 шт.

ОАО «КАМАЗ», как крупнейший производитель грузовых автомобилей в России, занимает лидирующие позиции и на рынке продаж запасных частей к своей технике. Значительное увеличение доли высококачественной фирменной продукции на нём признаётся компанией одним из стратегически важных направлений продуктовой и сбытовой политики. ТФК «КАМАЗ» это эксклюзивный дистрибьютор, которому предоставлено исключительное право на продажу основной продукции ОАО «КАМАЗ» на территории России. Единый производственный комплекс группы организаций ОАО "КАМАЗ" охватывает весь технологический цикл производства грузовых автомобилей - от разработки, изготовления, сборки автотехники и автокомпонентов до сбыта готовой продукции и сервисного сопровождения. Система качества продукции ОАО "КАМАЗ" отвечает требованиям международного стандарта ИСО 9001-2000 и одобрена органом по сертификации систем управления "Русский регистр". Двигатели КАМАЗ-740.60-360, КАМАЗ-740.61-320 и КАМАЗ-740.62-280 соответствуют требованиям международных экологических стандартов "Евро-3". ОАО "КАМАЗ" выпускает широкую гамму грузовой техники: грузовые автомобили (более 30 моделей, свыше 400 комплектаций) ,прицепы, автобусы, двигатели, силовые агрегаты и различный инструмент. "КАМАЗ" традиционно позиционируется на рынке грузовых автомобилей полной массой от 14 до 40 тонн. В последние годы гамма продукции компании значительно расширилась. Освоено производство среднетоннажных автомобилей, модернизированной модели КАМАЗ-5460М ("Стайер"), расширен модельный ряд автомобилей повышенной грузоподъемности. Эти машины не раз доказали свою надежность и уникальную проходимость. Именно поэтому опытные водители, которые занимаются перевозками, отдают предпочтение такой продукции как автомобили КАМАЗ. Техника КАМАЗ работает в любых дорожных и климатических условиях: в районах Крайнего Севера и в тропиках, в зонах пустынь и высокогорья. Есть только одна особенность у этих автомашин - при поломке стоит использовать только те запасные части, которые соответствуют качеству машины. "АвтоАльянс" предлагает именно такие запчасти КАМАЗ. "АвтоАльянс" является официальным дилером по продаже запасных частей и силовых агрегатов ОАО "КАМАЗ". Компания предлагает оригинальные запасные части к автомобилям "КАМАЗ". Главные принципы нашей работы - это всесторонняя поддержка клиентов при формировании заявки на запчасти, а также широчайший ассортимент запчастей производства ОАО "КАМАЗ". В "АвтоАльянс" можно заказывать запчасти от "А" до "Я", от шайбы до агрегата. Экономия нужна везде и во всем, но нельзя экономить на своем верном помощнике. Вся продукция ОАО "КАМАЗ", предлагаемая к продаже, имеет сертификаты качества. Причем это касается не только крупных узлов и агрегатов. От работы множеств мелких деталей так же зависит успешное функционирование всего механизма в целом. Каждый год появляются все более совершенные модели автомобиля КАМАЗ. И "АвтоАльянс" идет в ногу со временем и постоянно расширяет ассортиментный ряд запасных частей на новые КАМАЗы. "АвтоАльянс" в заводском рейтинге дилеров является крупнейшим дилером по запчастям КАМАЗ в Центральном регионе РФ.

ОАО «КАМАЗ», как крупнейший производитель грузовых автомобилей в России, занимает лидирующие позиции и на рынке продаж запасных частей к своей технике. Значительное увеличение доли высококачественной фирменной продукции на нём признаётся компанией одним из стратегически важных направлений продуктовой и сбытовой политики. ТФК «КАМАЗ» это эксклюзивный дистрибьютор, которому предоставлено исключительное право на продажу основной продукции ОАО «КАМАЗ» на территории России. Единый производственный комплекс группы организаций ОАО "КАМАЗ" охватывает весь технологический цикл производства грузовых автомобилей - от разработки, изготовления, сборки автотехники и автокомпонентов до сбыта готовой продукции и сервисного сопровождения. Система качества продукции ОАО "КАМАЗ" отвечает требованиям международного стандарта ИСО 9001-2000 и одобрена органом по сертификации систем управления "Русский регистр". Двигатели КАМАЗ-740.60-360, КАМАЗ-740.61-320 и КАМАЗ-740.62-280 соответствуют требованиям международных экологических стандартов "Евро-3". ОАО "КАМАЗ" выпускает широкую гамму грузовой техники: грузовые автомобили (более 30 моделей, свыше 400 комплектаций) ,прицепы, автобусы, двигатели, силовые агрегаты и различный инструмент. "КАМАЗ" традиционно позиционируется на рынке грузовых автомобилей полной массой от 14 до 40 тонн. В последние годы гамма продукции компании значительно расширилась. Освоено производство среднетоннажных автомобилей, модернизированной модели КАМАЗ-5460М ("Стайер"), расширен модельный ряд автомобилей повышенной грузоподъемности. Эти машины не раз доказали свою надежность и уникальную проходимость. Именно поэтому опытные водители, которые занимаются перевозками, отдают предпочтение такой продукции как автомобили КАМАЗ. Техника КАМАЗ работает в любых дорожных и климатических условиях: в районах Крайнего Севера и в тропиках, в зонах пустынь и высокогорья. Есть только одна особенность у этих автомашин - при поломке стоит использовать только те запасные части, которые соответствуют качеству машины. "АвтоАльянс" предлагает именно такие запчасти КАМАЗ. "АвтоАльянс" является официальным дилером по продаже запасных частей и силовых агрегатов ОАО "КАМАЗ". Компания предлагает оригинальные запасные части к автомобилям "КАМАЗ". Главные принципы нашей работы - это всесторонняя поддержка клиентов при формировании заявки на запчасти, а также широчайший ассортимент запчастей производства ОАО "КАМАЗ". В "АвтоАльянс" можно заказывать запчасти от "А" до "Я", от шайбы до агрегата. Экономия нужна везде и во всем, но нельзя экономить на своем верном помощнике. Вся продукция ОАО "КАМАЗ", предлагаемая к продаже, имеет сертификаты качества. Причем это касается не только крупных узлов и агрегатов. От работы множеств мелких деталей так же зависит успешное функционирование всего механизма в целом. Каждый год появляются все более совершенные модели автомобиля КАМАЗ. И "АвтоАльянс" идет в ногу со временем и постоянно расширяет ассортиментный ряд запасных частей на новые КАМАЗы. "АвтоАльянс" в заводском рейтинге дилеров является крупнейшим дилером по запчастям КАМАЗ в Центральном регионе РФ.

ОАО «КАМАЗ», как крупнейший производитель грузовых автомобилей в России, занимает лидирующие позиции и на рынке продаж запасных частей к своей технике. Значительное увеличение доли высококачественной фирменной продукции на нём признаётся компанией одним из стратегически важных направлений продуктовой и сбытовой политики. ТФК «КАМАЗ» это эксклюзивный дистрибьютор, которому предоставлено исключительное право на продажу основной продукции ОАО «КАМАЗ» на территории России. Единый производственный комплекс группы организаций ОАО "КАМАЗ" охватывает весь технологический цикл производства грузовых автомобилей - от разработки, изготовления, сборки автотехники и автокомпонентов до сбыта готовой продукции и сервисного сопровождения. Система качества продукции ОАО "КАМАЗ" отвечает требованиям международного стандарта ИСО 9001-2000 и одобрена органом по сертификации систем управления "Русский регистр". Двигатели КАМАЗ-740.60-360, КАМАЗ-740.61-320 и КАМАЗ-740.62-280 соответствуют требованиям международных экологических стандартов "Евро-3". ОАО "КАМАЗ" выпускает широкую гамму грузовой техники: грузовые автомобили (более 30 моделей, свыше 400 комплектаций) ,прицепы, автобусы, двигатели, силовые агрегаты и различный инструмент. "КАМАЗ" традиционно позиционируется на рынке грузовых автомобилей полной массой от 14 до 40 тонн. В последние годы гамма продукции компании значительно расширилась. Освоено производство среднетоннажных автомобилей, модернизированной модели КАМАЗ-5460М ("Стайер"), расширен модельный ряд автомобилей повышенной грузоподъемности. Эти машины не раз доказали свою надежность и уникальную проходимость. Именно поэтому опытные водители, которые занимаются перевозками, отдают предпочтение такой продукции как автомобили КАМАЗ. Техника КАМАЗ работает в любых дорожных и климатических условиях: в районах Крайнего Севера и в тропиках, в зонах пустынь и высокогорья. Есть только одна особенность у этих автомашин - при поломке стоит использовать только те запасные части, которые соответствуют качеству машины. "АвтоАльянс" предлагает именно такие запчасти КАМАЗ. "АвтоАльянс" является официальным дилером по продаже запасных частей и силовых агрегатов ОАО "КАМАЗ". Компания предлагает оригинальные запасные части к автомобилям "КАМАЗ". Главные принципы нашей работы - это всесторонняя поддержка клиентов при формировании заявки на запчасти, а также широчайший ассортимент запчастей производства ОАО "КАМАЗ". В "АвтоАльянс" можно заказывать запчасти от "А" до "Я", от шайбы до агрегата. Экономия нужна везде и во всем, но нельзя экономить на своем верном помощнике. Вся продукция ОАО "КАМАЗ", предлагаемая к продаже, имеет сертификаты качества. Причем это касается не только крупных узлов и агрегатов. От работы множеств мелких деталей так же зависит успешное функционирование всего механизма в целом. Каждый год появляются все более совершенные модели автомобиля КАМАЗ. И "АвтоАльянс" идет в ногу со временем и постоянно расширяет ассортиментный ряд запасных частей на новые КАМАЗы. "АвтоАльянс" в заводском рейтинге дилеров является крупнейшим дилером по запчастям КАМАЗ в Центральном регионе РФ.

TEHNOTRON — созданное в Набережных Челнах передовое предприятие машиностроительной направленности, водящее в состав холдинга «ТЭМПО». Технотрон обеспечивает запчастями сферу коммерческой и сельскохозяйственной техники, в особенности электрооборудование, краны и почвообрабатывающую аппаратуру.
Располагая внушительной технической и научной базой в Набережных Челнах, Tehnotron независимо осуществляет полный цикл изготовления продукции, от проектирования и подготовки ресурсов, до тестирования и реализации товара, необходимого, в том числе для экономических нужд легкой и тяжелой промышленности.
Важно отметить, что в структурно-производственной цепи, есть место для проверки итогового продукта испытательным центром, который ответственен не только за предотвращение возможных проблем, но и за наиболее продуктивное совершенствование характеристик каждого конкретного изделия. Своим конкурентным преимуществом Технотрон выделяет особую технологию окрашивания автокомплектующих из SMC.
Бренд Tehnotron отвечает за соответствие высоким международным стандартам качества, что регулярно подтверждается обновляемым перечнем сертификатов и независимым органом оценки United Registrar of Systems Ltd. (URS Certification), благодаря контролю сырья, материалов и входящих комплектующих. Производственный потенциал в концерне позволяют конструировать и собирать все элементы самостоятельно в Набережных Челнах, не привлекая сторонние организации.
В настоящее время Технотрон в основном ориентированы на активное сотрудничество с такими автомобильными марками как ПАО «КАМАЗ», ОАО «МАЗ», «Группа ГАЗ», DAIMLER KAMAZ RUS и АЗ «УРАЛ». Компания стремится выйти на стабильный рост объемов производства, освоить также и региональные рынки и консолидировать автопромышленность.
Ассортимент:
- Система охлаждения
- Система питания
- Оперение кабины (экстерьер а/м 5490)
- Принадлежности кабины
- Элементы подвески
- Тягово-сцепные устройства
- Электрика
- Седельно-сцепные устройства
- Троллейный шинопровод и многое другое
На складах : 734 шт.

TEHNOTRON — созданное в Набережных Челнах передовое предприятие машиностроительной направленности, водящее в состав холдинга «ТЭМПО». Технотрон обеспечивает запчастями сферу коммерческой и сельскохозяйственной техники, в особенности электрооборудование, краны и почвообрабатывающую аппаратуру.
Располагая внушительной технической и научной базой в Набережных Челнах, Tehnotron независимо осуществляет полный цикл изготовления продукции, от проектирования и подготовки ресурсов, до тестирования и реализации товара, необходимого, в том числе для экономических нужд легкой и тяжелой промышленности.
Важно отметить, что в структурно-производственной цепи, есть место для проверки итогового продукта испытательным центром, который ответственен не только за предотвращение возможных проблем, но и за наиболее продуктивное совершенствование характеристик каждого конкретного изделия. Своим конкурентным преимуществом Технотрон выделяет особую технологию окрашивания автокомплектующих из SMC.
Бренд Tehnotron отвечает за соответствие высоким международным стандартам качества, что регулярно подтверждается обновляемым перечнем сертификатов и независимым органом оценки United Registrar of Systems Ltd. (URS Certification), благодаря контролю сырья, материалов и входящих комплектующих. Производственный потенциал в концерне позволяют конструировать и собирать все элементы самостоятельно в Набережных Челнах, не привлекая сторонние организации.
В настоящее время Технотрон в основном ориентированы на активное сотрудничество с такими автомобильными марками как ПАО «КАМАЗ», ОАО «МАЗ», «Группа ГАЗ», DAIMLER KAMAZ RUS и АЗ «УРАЛ». Компания стремится выйти на стабильный рост объемов производства, освоить также и региональные рынки и консолидировать автопромышленность.
Ассортимент:
- Система охлаждения
- Система питания
- Оперение кабины (экстерьер а/м 5490)
- Принадлежности кабины
- Элементы подвески
- Тягово-сцепные устройства
- Электрика
- Седельно-сцепные устройства
- Троллейный шинопровод и многое другое
На складах : 3932 шт.

TEHNOTRON — созданное в Набережных Челнах передовое предприятие машиностроительной направленности, водящее в состав холдинга «ТЭМПО». Технотрон обеспечивает запчастями сферу коммерческой и сельскохозяйственной техники, в особенности электрооборудование, краны и почвообрабатывающую аппаратуру.
Располагая внушительной технической и научной базой в Набережных Челнах, Tehnotron независимо осуществляет полный цикл изготовления продукции, от проектирования и подготовки ресурсов, до тестирования и реализации товара, необходимого, в том числе для экономических нужд легкой и тяжелой промышленности.
Важно отметить, что в структурно-производственной цепи, есть место для проверки итогового продукта испытательным центром, который ответственен не только за предотвращение возможных проблем, но и за наиболее продуктивное совершенствование характеристик каждого конкретного изделия. Своим конкурентным преимуществом Технотрон выделяет особую технологию окрашивания автокомплектующих из SMC.
Бренд Tehnotron отвечает за соответствие высоким международным стандартам качества, что регулярно подтверждается обновляемым перечнем сертификатов и независимым органом оценки United Registrar of Systems Ltd. (URS Certification), благодаря контролю сырья, материалов и входящих комплектующих. Производственный потенциал в концерне позволяют конструировать и собирать все элементы самостоятельно в Набережных Челнах, не привлекая сторонние организации.
В настоящее время Технотрон в основном ориентированы на активное сотрудничество с такими автомобильными марками как ПАО «КАМАЗ», ОАО «МАЗ», «Группа ГАЗ», DAIMLER KAMAZ RUS и АЗ «УРАЛ». Компания стремится выйти на стабильный рост объемов производства, освоить также и региональные рынки и консолидировать автопромышленность.
Ассортимент:
- Система охлаждения
- Система питания
- Оперение кабины (экстерьер а/м 5490)
- Принадлежности кабины
- Элементы подвески
- Тягово-сцепные устройства
- Электрика
- Седельно-сцепные устройства
- Троллейный шинопровод и многое другое
На складах : 1066 шт.

TEHNOTRON — созданное в Набережных Челнах передовое предприятие машиностроительной направленности, водящее в состав холдинга «ТЭМПО». Технотрон обеспечивает запчастями сферу коммерческой и сельскохозяйственной техники, в особенности электрооборудование, краны и почвообрабатывающую аппаратуру.
Располагая внушительной технической и научной базой в Набережных Челнах, Tehnotron независимо осуществляет полный цикл изготовления продукции, от проектирования и подготовки ресурсов, до тестирования и реализации товара, необходимого, в том числе для экономических нужд легкой и тяжелой промышленности.
Важно отметить, что в структурно-производственной цепи, есть место для проверки итогового продукта испытательным центром, который ответственен не только за предотвращение возможных проблем, но и за наиболее продуктивное совершенствование характеристик каждого конкретного изделия. Своим конкурентным преимуществом Технотрон выделяет особую технологию окрашивания автокомплектующих из SMC.
Бренд Tehnotron отвечает за соответствие высоким международным стандартам качества, что регулярно подтверждается обновляемым перечнем сертификатов и независимым органом оценки United Registrar of Systems Ltd. (URS Certification), благодаря контролю сырья, материалов и входящих комплектующих. Производственный потенциал в концерне позволяют конструировать и собирать все элементы самостоятельно в Набережных Челнах, не привлекая сторонние организации.
В настоящее время Технотрон в основном ориентированы на активное сотрудничество с такими автомобильными марками как ПАО «КАМАЗ», ОАО «МАЗ», «Группа ГАЗ», DAIMLER KAMAZ RUS и АЗ «УРАЛ». Компания стремится выйти на стабильный рост объемов производства, освоить также и региональные рынки и консолидировать автопромышленность.
Ассортимент:
- Система охлаждения
- Система питания
- Оперение кабины (экстерьер а/м 5490)
- Принадлежности кабины
- Элементы подвески
- Тягово-сцепные устройства
- Электрика
- Седельно-сцепные устройства
- Троллейный шинопровод и многое другое

TEHNOTRON — созданное в Набережных Челнах передовое предприятие машиностроительной направленности, водящее в состав холдинга «ТЭМПО». Технотрон обеспечивает запчастями сферу коммерческой и сельскохозяйственной техники, в особенности электрооборудование, краны и почвообрабатывающую аппаратуру.
Располагая внушительной технической и научной базой в Набережных Челнах, Tehnotron независимо осуществляет полный цикл изготовления продукции, от проектирования и подготовки ресурсов, до тестирования и реализации товара, необходимого, в том числе для экономических нужд легкой и тяжелой промышленности.
Важно отметить, что в структурно-производственной цепи, есть место для проверки итогового продукта испытательным центром, который ответственен не только за предотвращение возможных проблем, но и за наиболее продуктивное совершенствование характеристик каждого конкретного изделия. Своим конкурентным преимуществом Технотрон выделяет особую технологию окрашивания автокомплектующих из SMC.
Бренд Tehnotron отвечает за соответствие высоким международным стандартам качества, что регулярно подтверждается обновляемым перечнем сертификатов и независимым органом оценки United Registrar of Systems Ltd. (URS Certification), благодаря контролю сырья, материалов и входящих комплектующих. Производственный потенциал в концерне позволяют конструировать и собирать все элементы самостоятельно в Набережных Челнах, не привлекая сторонние организации.
В настоящее время Технотрон в основном ориентированы на активное сотрудничество с такими автомобильными марками как ПАО «КАМАЗ», ОАО «МАЗ», «Группа ГАЗ», DAIMLER KAMAZ RUS и АЗ «УРАЛ». Компания стремится выйти на стабильный рост объемов производства, освоить также и региональные рынки и консолидировать автопромышленность.
Ассортимент:
- Система охлаждения
- Система питания
- Оперение кабины (экстерьер а/м 5490)
- Принадлежности кабины
- Элементы подвески
- Тягово-сцепные устройства
- Электрика
- Седельно-сцепные устройства
- Троллейный шинопровод и многое другое
На складах : 737 шт.

TEHNOTRON — созданное в Набережных Челнах передовое предприятие машиностроительной направленности, водящее в состав холдинга «ТЭМПО». Технотрон обеспечивает запчастями сферу коммерческой и сельскохозяйственной техники, в особенности электрооборудование, краны и почвообрабатывающую аппаратуру.
Располагая внушительной технической и научной базой в Набережных Челнах, Tehnotron независимо осуществляет полный цикл изготовления продукции, от проектирования и подготовки ресурсов, до тестирования и реализации товара, необходимого, в том числе для экономических нужд легкой и тяжелой промышленности.
Важно отметить, что в структурно-производственной цепи, есть место для проверки итогового продукта испытательным центром, который ответственен не только за предотвращение возможных проблем, но и за наиболее продуктивное совершенствование характеристик каждого конкретного изделия. Своим конкурентным преимуществом Технотрон выделяет особую технологию окрашивания автокомплектующих из SMC.
Бренд Tehnotron отвечает за соответствие высоким международным стандартам качества, что регулярно подтверждается обновляемым перечнем сертификатов и независимым органом оценки United Registrar of Systems Ltd. (URS Certification), благодаря контролю сырья, материалов и входящих комплектующих. Производственный потенциал в концерне позволяют конструировать и собирать все элементы самостоятельно в Набережных Челнах, не привлекая сторонние организации.
В настоящее время Технотрон в основном ориентированы на активное сотрудничество с такими автомобильными марками как ПАО «КАМАЗ», ОАО «МАЗ», «Группа ГАЗ», DAIMLER KAMAZ RUS и АЗ «УРАЛ». Компания стремится выйти на стабильный рост объемов производства, освоить также и региональные рынки и консолидировать автопромышленность.
Ассортимент:
- Система охлаждения
- Система питания
- Оперение кабины (экстерьер а/м 5490)
- Принадлежности кабины
- Элементы подвески
- Тягово-сцепные устройства
- Электрика
- Седельно-сцепные устройства
- Троллейный шинопровод и многое другое

TEHNOTRON — созданное в Набережных Челнах передовое предприятие машиностроительной направленности, водящее в состав холдинга «ТЭМПО». Технотрон обеспечивает запчастями сферу коммерческой и сельскохозяйственной техники, в особенности электрооборудование, краны и почвообрабатывающую аппаратуру.
Располагая внушительной технической и научной базой в Набережных Челнах, Tehnotron независимо осуществляет полный цикл изготовления продукции, от проектирования и подготовки ресурсов, до тестирования и реализации товара, необходимого, в том числе для экономических нужд легкой и тяжелой промышленности.
Важно отметить, что в структурно-производственной цепи, есть место для проверки итогового продукта испытательным центром, который ответственен не только за предотвращение возможных проблем, но и за наиболее продуктивное совершенствование характеристик каждого конкретного изделия. Своим конкурентным преимуществом Технотрон выделяет особую технологию окрашивания автокомплектующих из SMC.
Бренд Tehnotron отвечает за соответствие высоким международным стандартам качества, что регулярно подтверждается обновляемым перечнем сертификатов и независимым органом оценки United Registrar of Systems Ltd. (URS Certification), благодаря контролю сырья, материалов и входящих комплектующих. Производственный потенциал в концерне позволяют конструировать и собирать все элементы самостоятельно в Набережных Челнах, не привлекая сторонние организации.
В настоящее время Технотрон в основном ориентированы на активное сотрудничество с такими автомобильными марками как ПАО «КАМАЗ», ОАО «МАЗ», «Группа ГАЗ», DAIMLER KAMAZ RUS и АЗ «УРАЛ». Компания стремится выйти на стабильный рост объемов производства, освоить также и региональные рынки и консолидировать автопромышленность.
Ассортимент:
- Система охлаждения
- Система питания
- Оперение кабины (экстерьер а/м 5490)
- Принадлежности кабины
- Элементы подвески
- Тягово-сцепные устройства
- Электрика
- Седельно-сцепные устройства
- Троллейный шинопровод и многое другое
На складах : 350 шт.

TEHNOTRON — созданное в Набережных Челнах передовое предприятие машиностроительной направленности, водящее в состав холдинга «ТЭМПО». Технотрон обеспечивает запчастями сферу коммерческой и сельскохозяйственной техники, в особенности электрооборудование, краны и почвообрабатывающую аппаратуру.
Располагая внушительной технической и научной базой в Набережных Челнах, Tehnotron независимо осуществляет полный цикл изготовления продукции, от проектирования и подготовки ресурсов, до тестирования и реализации товара, необходимого, в том числе для экономических нужд легкой и тяжелой промышленности.
Важно отметить, что в структурно-производственной цепи, есть место для проверки итогового продукта испытательным центром, который ответственен не только за предотвращение возможных проблем, но и за наиболее продуктивное совершенствование характеристик каждого конкретного изделия. Своим конкурентным преимуществом Технотрон выделяет особую технологию окрашивания автокомплектующих из SMC.
Бренд Tehnotron отвечает за соответствие высоким международным стандартам качества, что регулярно подтверждается обновляемым перечнем сертификатов и независимым органом оценки United Registrar of Systems Ltd. (URS Certification), благодаря контролю сырья, материалов и входящих комплектующих. Производственный потенциал в концерне позволяют конструировать и собирать все элементы самостоятельно в Набережных Челнах, не привлекая сторонние организации.
В настоящее время Технотрон в основном ориентированы на активное сотрудничество с такими автомобильными марками как ПАО «КАМАЗ», ОАО «МАЗ», «Группа ГАЗ», DAIMLER KAMAZ RUS и АЗ «УРАЛ». Компания стремится выйти на стабильный рост объемов производства, освоить также и региональные рынки и консолидировать автопромышленность.
Ассортимент:
- Система охлаждения
- Система питания
- Оперение кабины (экстерьер а/м 5490)
- Принадлежности кабины
- Элементы подвески
- Тягово-сцепные устройства
- Электрика
- Седельно-сцепные устройства
- Троллейный шинопровод и многое другое
На складах : 5251 шт.

TEHNOTRON — созданное в Набережных Челнах передовое предприятие машиностроительной направленности, водящее в состав холдинга «ТЭМПО». Технотрон обеспечивает запчастями сферу коммерческой и сельскохозяйственной техники, в особенности электрооборудование, краны и почвообрабатывающую аппаратуру.
Располагая внушительной технической и научной базой в Набережных Челнах, Tehnotron независимо осуществляет полный цикл изготовления продукции, от проектирования и подготовки ресурсов, до тестирования и реализации товара, необходимого, в том числе для экономических нужд легкой и тяжелой промышленности.
Важно отметить, что в структурно-производственной цепи, есть место для проверки итогового продукта испытательным центром, который ответственен не только за предотвращение возможных проблем, но и за наиболее продуктивное совершенствование характеристик каждого конкретного изделия. Своим конкурентным преимуществом Технотрон выделяет особую технологию окрашивания автокомплектующих из SMC.
Бренд Tehnotron отвечает за соответствие высоким международным стандартам качества, что регулярно подтверждается обновляемым перечнем сертификатов и независимым органом оценки United Registrar of Systems Ltd. (URS Certification), благодаря контролю сырья, материалов и входящих комплектующих. Производственный потенциал в концерне позволяют конструировать и собирать все элементы самостоятельно в Набережных Челнах, не привлекая сторонние организации.
В настоящее время Технотрон в основном ориентированы на активное сотрудничество с такими автомобильными марками как ПАО «КАМАЗ», ОАО «МАЗ», «Группа ГАЗ», DAIMLER KAMAZ RUS и АЗ «УРАЛ». Компания стремится выйти на стабильный рост объемов производства, освоить также и региональные рынки и консолидировать автопромышленность.
Ассортимент:
- Система охлаждения
- Система питания
- Оперение кабины (экстерьер а/м 5490)
- Принадлежности кабины
- Элементы подвески
- Тягово-сцепные устройства
- Электрика
- Седельно-сцепные устройства
- Троллейный шинопровод и многое другое

TEHNOTRON — созданное в Набережных Челнах передовое предприятие машиностроительной направленности, водящее в состав холдинга «ТЭМПО». Технотрон обеспечивает запчастями сферу коммерческой и сельскохозяйственной техники, в особенности электрооборудование, краны и почвообрабатывающую аппаратуру.
Располагая внушительной технической и научной базой в Набережных Челнах, Tehnotron независимо осуществляет полный цикл изготовления продукции, от проектирования и подготовки ресурсов, до тестирования и реализации товара, необходимого, в том числе для экономических нужд легкой и тяжелой промышленности.
Важно отметить, что в структурно-производственной цепи, есть место для проверки итогового продукта испытательным центром, который ответственен не только за предотвращение возможных проблем, но и за наиболее продуктивное совершенствование характеристик каждого конкретного изделия. Своим конкурентным преимуществом Технотрон выделяет особую технологию окрашивания автокомплектующих из SMC.
Бренд Tehnotron отвечает за соответствие высоким международным стандартам качества, что регулярно подтверждается обновляемым перечнем сертификатов и независимым органом оценки United Registrar of Systems Ltd. (URS Certification), благодаря контролю сырья, материалов и входящих комплектующих. Производственный потенциал в концерне позволяют конструировать и собирать все элементы самостоятельно в Набережных Челнах, не привлекая сторонние организации.
В настоящее время Технотрон в основном ориентированы на активное сотрудничество с такими автомобильными марками как ПАО «КАМАЗ», ОАО «МАЗ», «Группа ГАЗ», DAIMLER KAMAZ RUS и АЗ «УРАЛ». Компания стремится выйти на стабильный рост объемов производства, освоить также и региональные рынки и консолидировать автопромышленность.
Ассортимент:
- Система охлаждения
- Система питания
- Оперение кабины (экстерьер а/м 5490)
- Принадлежности кабины
- Элементы подвески
- Тягово-сцепные устройства
- Электрика
- Седельно-сцепные устройства
- Троллейный шинопровод и многое другое
На складах : 4828 шт.
На складах : 1614 шт.

TEHNOTRON — созданное в Набережных Челнах передовое предприятие машиностроительной направленности, водящее в состав холдинга «ТЭМПО». Технотрон обеспечивает запчастями сферу коммерческой и сельскохозяйственной техники, в особенности электрооборудование, краны и почвообрабатывающую аппаратуру.
Располагая внушительной технической и научной базой в Набережных Челнах, Tehnotron независимо осуществляет полный цикл изготовления продукции, от проектирования и подготовки ресурсов, до тестирования и реализации товара, необходимого, в том числе для экономических нужд легкой и тяжелой промышленности.
Важно отметить, что в структурно-производственной цепи, есть место для проверки итогового продукта испытательным центром, который ответственен не только за предотвращение возможных проблем, но и за наиболее продуктивное совершенствование характеристик каждого конкретного изделия. Своим конкурентным преимуществом Технотрон выделяет особую технологию окрашивания автокомплектующих из SMC.
Бренд Tehnotron отвечает за соответствие высоким международным стандартам качества, что регулярно подтверждается обновляемым перечнем сертификатов и независимым органом оценки United Registrar of Systems Ltd. (URS Certification), благодаря контролю сырья, материалов и входящих комплектующих. Производственный потенциал в концерне позволяют конструировать и собирать все элементы самостоятельно в Набережных Челнах, не привлекая сторонние организации.
В настоящее время Технотрон в основном ориентированы на активное сотрудничество с такими автомобильными марками как ПАО «КАМАЗ», ОАО «МАЗ», «Группа ГАЗ», DAIMLER KAMAZ RUS и АЗ «УРАЛ». Компания стремится выйти на стабильный рост объемов производства, освоить также и региональные рынки и консолидировать автопромышленность.
Ассортимент:
- Система охлаждения
- Система питания
- Оперение кабины (экстерьер а/м 5490)
- Принадлежности кабины
- Элементы подвески
- Тягово-сцепные устройства
- Электрика
- Седельно-сцепные устройства
- Троллейный шинопровод и многое другое

TEHNOTRON — созданное в Набережных Челнах передовое предприятие машиностроительной направленности, водящее в состав холдинга «ТЭМПО». Технотрон обеспечивает запчастями сферу коммерческой и сельскохозяйственной техники, в особенности электрооборудование, краны и почвообрабатывающую аппаратуру.
Располагая внушительной технической и научной базой в Набережных Челнах, Tehnotron независимо осуществляет полный цикл изготовления продукции, от проектирования и подготовки ресурсов, до тестирования и реализации товара, необходимого, в том числе для экономических нужд легкой и тяжелой промышленности.
Важно отметить, что в структурно-производственной цепи, есть место для проверки итогового продукта испытательным центром, который ответственен не только за предотвращение возможных проблем, но и за наиболее продуктивное совершенствование характеристик каждого конкретного изделия. Своим конкурентным преимуществом Технотрон выделяет особую технологию окрашивания автокомплектующих из SMC.
Бренд Tehnotron отвечает за соответствие высоким международным стандартам качества, что регулярно подтверждается обновляемым перечнем сертификатов и независимым органом оценки United Registrar of Systems Ltd. (URS Certification), благодаря контролю сырья, материалов и входящих комплектующих. Производственный потенциал в концерне позволяют конструировать и собирать все элементы самостоятельно в Набережных Челнах, не привлекая сторонние организации.
В настоящее время Технотрон в основном ориентированы на активное сотрудничество с такими автомобильными марками как ПАО «КАМАЗ», ОАО «МАЗ», «Группа ГАЗ», DAIMLER KAMAZ RUS и АЗ «УРАЛ». Компания стремится выйти на стабильный рост объемов производства, освоить также и региональные рынки и консолидировать автопромышленность.
Ассортимент:
- Система охлаждения
- Система питания
- Оперение кабины (экстерьер а/м 5490)
- Принадлежности кабины
- Элементы подвески
- Тягово-сцепные устройства
- Электрика
- Седельно-сцепные устройства
- Троллейный шинопровод и многое другое
На складах : 5973 шт.
На складах : 8 шт.

ОАО «КАМАЗ», как крупнейший производитель грузовых автомобилей в России, занимает лидирующие позиции и на рынке продаж запасных частей к своей технике. Значительное увеличение доли высококачественной фирменной продукции на нём признаётся компанией одним из стратегически важных направлений продуктовой и сбытовой политики. ТФК «КАМАЗ» это эксклюзивный дистрибьютор, которому предоставлено исключительное право на продажу основной продукции ОАО «КАМАЗ» на территории России. Единый производственный комплекс группы организаций ОАО "КАМАЗ" охватывает весь технологический цикл производства грузовых автомобилей - от разработки, изготовления, сборки автотехники и автокомпонентов до сбыта готовой продукции и сервисного сопровождения. Система качества продукции ОАО "КАМАЗ" отвечает требованиям международного стандарта ИСО 9001-2000 и одобрена органом по сертификации систем управления "Русский регистр". Двигатели КАМАЗ-740.60-360, КАМАЗ-740.61-320 и КАМАЗ-740.62-280 соответствуют требованиям международных экологических стандартов "Евро-3". ОАО "КАМАЗ" выпускает широкую гамму грузовой техники: грузовые автомобили (более 30 моделей, свыше 400 комплектаций) ,прицепы, автобусы, двигатели, силовые агрегаты и различный инструмент. "КАМАЗ" традиционно позиционируется на рынке грузовых автомобилей полной массой от 14 до 40 тонн. В последние годы гамма продукции компании значительно расширилась. Освоено производство среднетоннажных автомобилей, модернизированной модели КАМАЗ-5460М ("Стайер"), расширен модельный ряд автомобилей повышенной грузоподъемности. Эти машины не раз доказали свою надежность и уникальную проходимость. Именно поэтому опытные водители, которые занимаются перевозками, отдают предпочтение такой продукции как автомобили КАМАЗ. Техника КАМАЗ работает в любых дорожных и климатических условиях: в районах Крайнего Севера и в тропиках, в зонах пустынь и высокогорья. Есть только одна особенность у этих автомашин - при поломке стоит использовать только те запасные части, которые соответствуют качеству машины. "АвтоАльянс" предлагает именно такие запчасти КАМАЗ. "АвтоАльянс" является официальным дилером по продаже запасных частей и силовых агрегатов ОАО "КАМАЗ". Компания предлагает оригинальные запасные части к автомобилям "КАМАЗ". Главные принципы нашей работы - это всесторонняя поддержка клиентов при формировании заявки на запчасти, а также широчайший ассортимент запчастей производства ОАО "КАМАЗ". В "АвтоАльянс" можно заказывать запчасти от "А" до "Я", от шайбы до агрегата. Экономия нужна везде и во всем, но нельзя экономить на своем верном помощнике. Вся продукция ОАО "КАМАЗ", предлагаемая к продаже, имеет сертификаты качества. Причем это касается не только крупных узлов и агрегатов. От работы множеств мелких деталей так же зависит успешное функционирование всего механизма в целом. Каждый год появляются все более совершенные модели автомобиля КАМАЗ. И "АвтоАльянс" идет в ногу со временем и постоянно расширяет ассортиментный ряд запасных частей на новые КАМАЗы. "АвтоАльянс" в заводском рейтинге дилеров является крупнейшим дилером по запчастям КАМАЗ в Центральном регионе РФ.
На складах : 81 шт.

ОАО «КАМАЗ», как крупнейший производитель грузовых автомобилей в России, занимает лидирующие позиции и на рынке продаж запасных частей к своей технике. Значительное увеличение доли высококачественной фирменной продукции на нём признаётся компанией одним из стратегически важных направлений продуктовой и сбытовой политики. ТФК «КАМАЗ» это эксклюзивный дистрибьютор, которому предоставлено исключительное право на продажу основной продукции ОАО «КАМАЗ» на территории России. Единый производственный комплекс группы организаций ОАО "КАМАЗ" охватывает весь технологический цикл производства грузовых автомобилей - от разработки, изготовления, сборки автотехники и автокомпонентов до сбыта готовой продукции и сервисного сопровождения. Система качества продукции ОАО "КАМАЗ" отвечает требованиям международного стандарта ИСО 9001-2000 и одобрена органом по сертификации систем управления "Русский регистр". Двигатели КАМАЗ-740.60-360, КАМАЗ-740.61-320 и КАМАЗ-740.62-280 соответствуют требованиям международных экологических стандартов "Евро-3". ОАО "КАМАЗ" выпускает широкую гамму грузовой техники: грузовые автомобили (более 30 моделей, свыше 400 комплектаций) ,прицепы, автобусы, двигатели, силовые агрегаты и различный инструмент. "КАМАЗ" традиционно позиционируется на рынке грузовых автомобилей полной массой от 14 до 40 тонн. В последние годы гамма продукции компании значительно расширилась. Освоено производство среднетоннажных автомобилей, модернизированной модели КАМАЗ-5460М ("Стайер"), расширен модельный ряд автомобилей повышенной грузоподъемности. Эти машины не раз доказали свою надежность и уникальную проходимость. Именно поэтому опытные водители, которые занимаются перевозками, отдают предпочтение такой продукции как автомобили КАМАЗ. Техника КАМАЗ работает в любых дорожных и климатических условиях: в районах Крайнего Севера и в тропиках, в зонах пустынь и высокогорья. Есть только одна особенность у этих автомашин - при поломке стоит использовать только те запасные части, которые соответствуют качеству машины. "АвтоАльянс" предлагает именно такие запчасти КАМАЗ. "АвтоАльянс" является официальным дилером по продаже запасных частей и силовых агрегатов ОАО "КАМАЗ". Компания предлагает оригинальные запасные части к автомобилям "КАМАЗ". Главные принципы нашей работы - это всесторонняя поддержка клиентов при формировании заявки на запчасти, а также широчайший ассортимент запчастей производства ОАО "КАМАЗ". В "АвтоАльянс" можно заказывать запчасти от "А" до "Я", от шайбы до агрегата. Экономия нужна везде и во всем, но нельзя экономить на своем верном помощнике. Вся продукция ОАО "КАМАЗ", предлагаемая к продаже, имеет сертификаты качества. Причем это касается не только крупных узлов и агрегатов. От работы множеств мелких деталей так же зависит успешное функционирование всего механизма в целом. Каждый год появляются все более совершенные модели автомобиля КАМАЗ. И "АвтоАльянс" идет в ногу со временем и постоянно расширяет ассортиментный ряд запасных частей на новые КАМАЗы. "АвтоАльянс" в заводском рейтинге дилеров является крупнейшим дилером по запчастям КАМАЗ в Центральном регионе РФ.
На складах : 14 шт.
На складах : 46 шт.

КЗАЭ — это старейшее и значимое предприятие российского автопрома, история которого началась 4 марта 1941 года в Калуге. Зародившись в один из самых сложных периодов для страны, завод стремительно освоил производство и стал ключевым звеном в обеспечении советской автомобильной промышленности электрооборудованием и комплектующими. Сегодня КЗАЭ является символом устойчивого развития российского автопрома, с богатой историей и амбициозными планами на будущее.
В годы войны, несмотря на эвакуацию и непростые условия, КЗАЭ продолжал выпускать жизненно важные изделия для обороны и гражданского транспорта. После войны завод стал одним из основных поставщиков комплектующих для автомобильных конвейеров СССР, обеспечивая стабильное развитие отрасли и технический прогресс. Продукция КЗАЭ была востребована на ведущих автозаводах страны, включая грузовые автомобили КамАЗ, Урал, ГАЗ и другие отечественные марки.
Пережив годы Великой Отечественной войны, распад СССР и дожив до 2005 года, завод начал масштабную реконструкцию. Он модернизировал производство и внедрил современные технологии. Сегодня КЗАЭ выпускает более 150 видов автомобильного электрооборудования: электродвигатели, вентиляторы, датчики, моторедукторы и другие комплектующие, которые находят широкое применение как на конвейерах, так и на вторичном рынке запчастей.
Особое внимание на предприятии уделяется корпоративной культуре, основанной на ценностях командной работы, ответственности, инноваций и постоянного совершенствования. Внедрение бережливого производства и методов Lean Six Sigma позволило значительно повысить эффективность и качество продукции, что укрепляет позиции завода на рынке.
КЗАЭ активно стремится к расширению экспортных возможностей, успешно пройдя сертификацию по международным стандартам ISO 9001 и ISO 16949. Это открывает перед заводом двери на зарубежные рынки, включая страны СНГ.
В планах на 2030 год — дальнейшая цифровизация и роботизация производства, локализация микроэлектроники и увеличение производительности. Реализация этих задач позволит КЗАЭ стать одним из лидеров отрасли и внести значительный вклад в процесс импортозамещения. Сегодня КЗАЭ — это не просто завод, а символ устойчивого развития российского автопрома. Это предприятие с богатой историей и амбициозными планами на будущее, которое продолжает производить надежные и качественные автокомпоненты для отечественных грузовых и легковых автомобилей.
В АвтоАльянс вы можете приобрести широкий выбор деталей КЗАЭ. Мы предлагаем надёжные и качественные автокомпоненты для российских грузовиков и автомобилей, которые можно приобрести в любом регионе, от Москвы до Владивостока. На нашем сайте вы найдёте продукцию более чем 550 брендов и более 400 тысяч наименований автозапчастей для коммерческого транспорта и не только.
Ассортимент:
- Выключатель концевой малогабаритный
- Трапеция стеклоочистителя
- Мотор-редуктор стеклоочистителя
- Стеклоподъемник
На складах : 116 шт.

КЗАЭ — это старейшее и значимое предприятие российского автопрома, история которого началась 4 марта 1941 года в Калуге. Зародившись в один из самых сложных периодов для страны, завод стремительно освоил производство и стал ключевым звеном в обеспечении советской автомобильной промышленности электрооборудованием и комплектующими. Сегодня КЗАЭ является символом устойчивого развития российского автопрома, с богатой историей и амбициозными планами на будущее.
В годы войны, несмотря на эвакуацию и непростые условия, КЗАЭ продолжал выпускать жизненно важные изделия для обороны и гражданского транспорта. После войны завод стал одним из основных поставщиков комплектующих для автомобильных конвейеров СССР, обеспечивая стабильное развитие отрасли и технический прогресс. Продукция КЗАЭ была востребована на ведущих автозаводах страны, включая грузовые автомобили КамАЗ, Урал, ГАЗ и другие отечественные марки.
Пережив годы Великой Отечественной войны, распад СССР и дожив до 2005 года, завод начал масштабную реконструкцию. Он модернизировал производство и внедрил современные технологии. Сегодня КЗАЭ выпускает более 150 видов автомобильного электрооборудования: электродвигатели, вентиляторы, датчики, моторедукторы и другие комплектующие, которые находят широкое применение как на конвейерах, так и на вторичном рынке запчастей.
Особое внимание на предприятии уделяется корпоративной культуре, основанной на ценностях командной работы, ответственности, инноваций и постоянного совершенствования. Внедрение бережливого производства и методов Lean Six Sigma позволило значительно повысить эффективность и качество продукции, что укрепляет позиции завода на рынке.
КЗАЭ активно стремится к расширению экспортных возможностей, успешно пройдя сертификацию по международным стандартам ISO 9001 и ISO 16949. Это открывает перед заводом двери на зарубежные рынки, включая страны СНГ.
В планах на 2030 год — дальнейшая цифровизация и роботизация производства, локализация микроэлектроники и увеличение производительности. Реализация этих задач позволит КЗАЭ стать одним из лидеров отрасли и внести значительный вклад в процесс импортозамещения. Сегодня КЗАЭ — это не просто завод, а символ устойчивого развития российского автопрома. Это предприятие с богатой историей и амбициозными планами на будущее, которое продолжает производить надежные и качественные автокомпоненты для отечественных грузовых и легковых автомобилей.
В АвтоАльянс вы можете приобрести широкий выбор деталей КЗАЭ. Мы предлагаем надёжные и качественные автокомпоненты для российских грузовиков и автомобилей, которые можно приобрести в любом регионе, от Москвы до Владивостока. На нашем сайте вы найдёте продукцию более чем 550 брендов и более 400 тысяч наименований автозапчастей для коммерческого транспорта и не только.
Ассортимент:
- Выключатель концевой малогабаритный
- Трапеция стеклоочистителя
- Мотор-редуктор стеклоочистителя
- Стеклоподъемник

MEGAPOWER Automotive – бренд с почти 30-летней историей.
История производства автомобильных компонентов MEGAPOWER Automotive началась в 1995 году. Бренд MEGAPOWER Automotive стал одним из первых на рынке, кто предложил автомобилистам светодиодные лампы в качестве достойной и технологичной альтернативы традиционным лампочкам накаливания. На протяжении второй половины 90-х и начала 2000х годов к ассортименту выпускаемой MEGAPOWER продукции добавились компрессоры для шин, безотказно работающие при любой погоде и обстоятельствах, щетки стеклоочистителя для широкой гаммы легковых и грузовых автомобилей, гидравлические домкраты грузоподъемностью до 50-ти тонн, надежные буксировочные тросы, зарядные устройства, стяжки груза и многое другое.
Важная особенность MEGAPOWER Automotive – поступательное развитие и внимание к деталям. Сочетание высоких технических характеристик, практичность и разумные цены сделали продукцию MEGAPOWER крайне востребованной как опытными водителями, так и сотрудниками сервисных центров.
В начале 2010-х MEGAPOWER Automotive перешел к новому этапу своего развития. Существенно расширился ассортименти и параллельно был запущен проект по выходу на смежный рынок автомобильных запчастей. С этого момента компания разделила 2 своих направления: автотовары, светотехнику и аксессуары продолжили выпускать с исходным красным логотипом, а для автомобильных запчастей была разработана обновленная стилистика оформления, упаковки и черно-голубой логотип.
Абсолютно все запасные части MEGAPOWER Automotive перед тем как попасть к конечному потребителю проверяются на 4х независимых этапах: проверка качества сырья перед началом производственного цикла, постоянный контроль всех параметров технологического процесса, осмотр и контроль изготовленных деталей перед упаковкой, выборочные испытания деталей из каждой партии на специализированных стендах. Запчасти MEGAPOWER имеют расширенную гарантию до 2 лет.
Основу предложения запасных частей MEGAPOWER Automotive составили высококачественные детали для грузовиков, малотоннажного транспорта, а с 2022 года и легковых автомобилей. Сегодня бренд выпускает запчасти двигателя и трансмиссии, подвески и ходовой части, тормозной и рулевой систем, электрооборудование и многое другое.
Продолжая свое развитие, MEGAPOWER Automotive совершенствует технологии, расширяет ассортимент, активно взаимодействует с потребителями продукции, улучшая текущие товары и разрабатывая новые.
Преимущества бренда:
- постоянное расширение ассортимента;
- двухлетняя гарантия качества продукции (1 год на турбокомпрессоры и автотовары);
- более 3500 позиций для грузовых и легковых автомобилей;
- крупносерийное производство;
- квалифицированные специалисты в области инженерных разработок;
На складах : 614 шт.

MEGAPOWER Automotive – бренд с почти 30-летней историей.
История производства автомобильных компонентов MEGAPOWER Automotive началась в 1995 году. Бренд MEGAPOWER Automotive стал одним из первых на рынке, кто предложил автомобилистам светодиодные лампы в качестве достойной и технологичной альтернативы традиционным лампочкам накаливания. На протяжении второй половины 90-х и начала 2000х годов к ассортименту выпускаемой MEGAPOWER продукции добавились компрессоры для шин, безотказно работающие при любой погоде и обстоятельствах, щетки стеклоочистителя для широкой гаммы легковых и грузовых автомобилей, гидравлические домкраты грузоподъемностью до 50-ти тонн, надежные буксировочные тросы, зарядные устройства, стяжки груза и многое другое.
Важная особенность MEGAPOWER Automotive – поступательное развитие и внимание к деталям. Сочетание высоких технических характеристик, практичность и разумные цены сделали продукцию MEGAPOWER крайне востребованной как опытными водителями, так и сотрудниками сервисных центров.
В начале 2010-х MEGAPOWER Automotive перешел к новому этапу своего развития. Существенно расширился ассортименти и параллельно был запущен проект по выходу на смежный рынок автомобильных запчастей. С этого момента компания разделила 2 своих направления: автотовары, светотехнику и аксессуары продолжили выпускать с исходным красным логотипом, а для автомобильных запчастей была разработана обновленная стилистика оформления, упаковки и черно-голубой логотип.
Абсолютно все запасные части MEGAPOWER Automotive перед тем как попасть к конечному потребителю проверяются на 4х независимых этапах: проверка качества сырья перед началом производственного цикла, постоянный контроль всех параметров технологического процесса, осмотр и контроль изготовленных деталей перед упаковкой, выборочные испытания деталей из каждой партии на специализированных стендах. Запчасти MEGAPOWER имеют расширенную гарантию до 2 лет.
Основу предложения запасных частей MEGAPOWER Automotive составили высококачественные детали для грузовиков, малотоннажного транспорта, а с 2022 года и легковых автомобилей. Сегодня бренд выпускает запчасти двигателя и трансмиссии, подвески и ходовой части, тормозной и рулевой систем, электрооборудование и многое другое.
Продолжая свое развитие, MEGAPOWER Automotive совершенствует технологии, расширяет ассортимент, активно взаимодействует с потребителями продукции, улучшая текущие товары и разрабатывая новые.
Преимущества бренда:
- постоянное расширение ассортимента;
- двухлетняя гарантия качества продукции (1 год на турбокомпрессоры и автотовары);
- более 3500 позиций для грузовых и легковых автомобилей;
- крупносерийное производство;
- квалифицированные специалисты в области инженерных разработок;

На протяжении 50 лет Старооскольский завод автотракторного электрооборудования входит в число основных поставщиков практически всех автомобильных, тракторных, мотоциклетных, автобусных и моторных предприятий России и СНГ. Более половины от общего объема продаж приходится на такие автогиганты как "ГАЗ", "АвтоВАЗ", "УАЗ", "ЗМЗ", "Волжские моторы", "КамАЗ", "УзДЭУ". На сегодняшний день, на рынке автокомпонентов, представлено около 200 наименований продукции Старооскольской продукции АТЭ: элементы контактной и бесконтактной систем зажигания, топливные рампы форсунок, электробензонасосы, модули погружных электробензонасосов, звуковые сигналы, прикуриватели, включатели различного назначения, датчики уровня тормозной жидкости, электромагниты и электромагнитные клапаны, регуляторы давления топлива, модули зажигания и др. При этом важное значение придается разработке и производству автокомпонентов для автомобилей ВАЗ и ГАЗ. Более 50% объемов завода реализуется через дилерскую сеть, которая насчитывает 33 представителей, работающих в Московской, Ленинградской, Воронежской, Нижегородской, Новосибирской, Самарской, Ивановской, Ульяновской областях. Продукция "СОАТЭ" находит своего потребителя в странах: Украина, Казахстан, Беларусь, Узбекистан, Молдова, Туркмения, Польша, Литва, Сербия, Египет, Германия, Азербайджан. На заводе постоянно проходит процесс совершенствование технологий и модернизация производства. В последние годы для сборки электронных изделий приобретено современное автоматизированное оборудование фирмы "Assembleon" (Нидерланды), для освоения катушки зажигания закуплена и внедрена автоматизированная линия заливки фирмы "Hubers", обновлено оборудование литейного, пластмассового, инструментального цехов.

На протяжении 50 лет Старооскольский завод автотракторного электрооборудования входит в число основных поставщиков практически всех автомобильных, тракторных, мотоциклетных, автобусных и моторных предприятий России и СНГ. Более половины от общего объема продаж приходится на такие автогиганты как "ГАЗ", "АвтоВАЗ", "УАЗ", "ЗМЗ", "Волжские моторы", "КамАЗ", "УзДЭУ". На сегодняшний день, на рынке автокомпонентов, представлено около 200 наименований продукции Старооскольской продукции АТЭ: элементы контактной и бесконтактной систем зажигания, топливные рампы форсунок, электробензонасосы, модули погружных электробензонасосов, звуковые сигналы, прикуриватели, включатели различного назначения, датчики уровня тормозной жидкости, электромагниты и электромагнитные клапаны, регуляторы давления топлива, модули зажигания и др. При этом важное значение придается разработке и производству автокомпонентов для автомобилей ВАЗ и ГАЗ. Более 50% объемов завода реализуется через дилерскую сеть, которая насчитывает 33 представителей, работающих в Московской, Ленинградской, Воронежской, Нижегородской, Новосибирской, Самарской, Ивановской, Ульяновской областях. Продукция "СОАТЭ" находит своего потребителя в странах: Украина, Казахстан, Беларусь, Узбекистан, Молдова, Туркмения, Польша, Литва, Сербия, Египет, Германия, Азербайджан. На заводе постоянно проходит процесс совершенствование технологий и модернизация производства. В последние годы для сборки электронных изделий приобретено современное автоматизированное оборудование фирмы "Assembleon" (Нидерланды), для освоения катушки зажигания закуплена и внедрена автоматизированная линия заливки фирмы "Hubers", обновлено оборудование литейного, пластмассового, инструментального цехов.



ЗАО «Концерн «ПРАМО» - один из ведущих производителей автомобильного и моторного оборудования в России и странах СНГ. Миссия Концерна «ПРАМО» - удовлетворение потребностей рынка транспортных средств в автомобильных комплектующих. Видение Концерна «ПРАМО» - стать в России компанией-лидером по производству современных автомобильных комплектующих. Концерн «ПРАМО» производит следующие виды автомобильных компонентов: - Автомобильное электрооборудование (генераторы, стартеры, системы стеклоочистки); - Системы охлаждения двигателя (радиаторы, термостаты); Собственная производственная деятельность Концерна «ПРАМО» осуществляется на следующих площадках, расположенных в Центральном Федеральном Округе России: - ОАО «ЭЛТРА», ООО "Прамо - Электро" г.Ржев, Тверская область. Производство генераторов и стартеров; - ОАО «Ставровский завод автотракторного оборудования», пос.Ставрово, Владимирская область. Производство щеток и рычагов стеклоочистителей; - ООО «СТАТО», пос.Ставрово, Владимирская область. Производство термостатов, термосиловых датчиков, жиклеров, стеклоомывателей и стеклоочистителей; - ООО Совместное Предприятие «ПРАМО ИСКРА», г.Ржев, Тверская область. Производство редукторных стартеров; Практически все предприятия, входящие в Концерн «ПРАМО» сертифицированы на соответствие требованиям международного стандарта ISO 9001:2001. В настоящее время ведется работа по дальнейшему совершенствованию системы управления качеством с целью ее сертификации на соответствие требованиям ISO 16949:2002. Ключевыми партнерами Концерна «ПРАМО» являются такие производители автомобильной техники и комплектующих в России как АВТОВАЗ, КАМАЗ, ГАЗ, ЗМЗ, ЯМЗ и др., а также крупнейшие национальные оптово-розничные сети по продажам автозапчастей, в том числе и содружество компаний "АвтоАльянс".

ЗАО «Концерн «ПРАМО» - один из ведущих производителей автомобильного и моторного оборудования в России и странах СНГ. Миссия Концерна «ПРАМО» - удовлетворение потребностей рынка транспортных средств в автомобильных комплектующих. Видение Концерна «ПРАМО» - стать в России компанией-лидером по производству современных автомобильных комплектующих. Концерн «ПРАМО» производит следующие виды автомобильных компонентов: - Автомобильное электрооборудование (генераторы, стартеры, системы стеклоочистки); - Системы охлаждения двигателя (радиаторы, термостаты); Собственная производственная деятельность Концерна «ПРАМО» осуществляется на следующих площадках, расположенных в Центральном Федеральном Округе России: - ОАО «ЭЛТРА», ООО "Прамо - Электро" г.Ржев, Тверская область. Производство генераторов и стартеров; - ОАО «Ставровский завод автотракторного оборудования», пос.Ставрово, Владимирская область. Производство щеток и рычагов стеклоочистителей; - ООО «СТАТО», пос.Ставрово, Владимирская область. Производство термостатов, термосиловых датчиков, жиклеров, стеклоомывателей и стеклоочистителей; - ООО Совместное Предприятие «ПРАМО ИСКРА», г.Ржев, Тверская область. Производство редукторных стартеров; Практически все предприятия, входящие в Концерн «ПРАМО» сертифицированы на соответствие требованиям международного стандарта ISO 9001:2001. В настоящее время ведется работа по дальнейшему совершенствованию системы управления качеством с целью ее сертификации на соответствие требованиям ISO 16949:2002. Ключевыми партнерами Концерна «ПРАМО» являются такие производители автомобильной техники и комплектующих в России как АВТОВАЗ, КАМАЗ, ГАЗ, ЗМЗ, ЯМЗ и др., а также крупнейшие национальные оптово-розничные сети по продажам автозапчастей, в том числе и содружество компаний "АвтоАльянс".

PRAVT – бренд российской компании «АВТОМАСТЕР», производящий запасные части для грузового, коммерческого и легкового транспорта. В ассортименте выпускаемой продукции представлены запчасти и комплектующие для большинства известных российских марок автомобилей: ГАЗ, ВАЗ, КАМАЗ, ПАЗ и УАЗ и других. Продукция бренда PRAVT известна в России благодаря ее высокому качеству и надежности. Производственные мощности и партнеры компании расположены на территории КНР. Автозапчасти данной торговой марки - это доступные по цене аналоги оригинальных деталей. Продукция PRAVT сертифицирована и соответствует Техническому Регламенту Таможенного Союза 018/2011 “о безопасности колесных транспортных средств”. Среди преимуществ компании можно выделить, в первую очередь, качество товаров, а так же полное соответствие оригинальным конвейерным элементам с сохранением их конструктивных особенностей и заводской геометрии. Кроме этого, компания гарантирует исправную работу своих продуктов и предлагает их в качественной и надежной упаковке. PRAVT активно расширяет свою продуктовую линейку, разрабатывая новые технологии производства и ассортиментные позиции. Все запчасти бренда PRAVT Вы можете приобрести в АвтоАльянсе.

PRAVT – бренд российской компании «АВТОМАСТЕР», производящий запасные части для грузового, коммерческого и легкового транспорта. В ассортименте выпускаемой продукции представлены запчасти и комплектующие для большинства известных российских марок автомобилей: ГАЗ, ВАЗ, КАМАЗ, ПАЗ и УАЗ и других. Продукция бренда PRAVT известна в России благодаря ее высокому качеству и надежности. Производственные мощности и партнеры компании расположены на территории КНР. Автозапчасти данной торговой марки - это доступные по цене аналоги оригинальных деталей. Продукция PRAVT сертифицирована и соответствует Техническому Регламенту Таможенного Союза 018/2011 “о безопасности колесных транспортных средств”. Среди преимуществ компании можно выделить, в первую очередь, качество товаров, а так же полное соответствие оригинальным конвейерным элементам с сохранением их конструктивных особенностей и заводской геометрии. Кроме этого, компания гарантирует исправную работу своих продуктов и предлагает их в качественной и надежной упаковке. PRAVT активно расширяет свою продуктовую линейку, разрабатывая новые технологии производства и ассортиментные позиции. Все запчасти бренда PRAVT Вы можете приобрести в АвтоАльянсе.

Компания FENOX начала свой путь в 1989 году, когда на постсоветском пространстве появилась небольшая фирма, выпускавшая гидравлические цилиндры для автомобилей ВАЗ. С тех пор компания прошла долгий путь развития — от узкоспециализированного производителя до международного концерна с современными заводами в Беларуси, России и Германии. В 1996 году FENOX сделала важный шаг, приобретя оборудование немецкой Bremse Hydraulic, что позволило значительно повысить качество продукции и выйти на рынки Европы и Америки. Сегодня FENOX — это более 12 современных производственных площадок и тысячи сотрудников, среди которых сотни инженеров, работающих над инновационными решениями и расширением ассортимента.
Ассортимент продукции FENOX насчитывает более 5000 наименований автокомпонентов, охватывающих все ключевые системы автомобиля. Компания производит детали для тормозных систем, электрических и охлаждающих систем, подвески, трансмиссии и рулевого управления. В числе выпускаемых изделий — амортизаторы, тормозные диски и колодки, гидроцилиндры, генераторы, стартеры, свечи зажигания, рулевые рейки, насосы, муфты сцепления, вентиляторы отопления и охлаждения, а также комплектующие для карданных шарниров и многое другое. Продукция ориентирована на широкий спектр техники: от легковых автомобилей ВАЗ и зарубежных брендов до грузовиков КАМАЗ, МАЗ, ГАЗ и УАЗ.
FENOX известна своей приверженностью качеству и инновациям. Компания обладает собственным конструкторским бюро и испытательным центром, аккредитованным по международным стандартам, что гарантирует надежность и безопасность выпускаемых изделий. Сертификация по ISO 9001 и соответствие требованиям VDA 6.1 позволяют поставлять продукцию не только на вторичный рынок, но и на конвейеры ведущих мировых автопроизводителей, таких как Volkswagen, Renault, General Motors и другие.
Сегодня FENOX экспортирует свою продукцию более чем в 50 стран мира, укрепляя позиции на международном рынке и продолжая расширять ассортимент. В планах компании — дальнейшее внедрение современных технологий, развитие производства и создание новых решений, которые помогут сделать автомобили еще более надежными и безопасными. История FENOX — это пример успешного развития, основанного на качестве, инновациях и стремлении удовлетворять потребности самых требовательных клиентов.
Ассортимент:
- Система охлаждения
- Электрическая система
- Система рулевого управления
- Система подвески
- Система трансмиссии
- Главные тормозные цилиндры
- Датчики ABS
- Лямбда-зонды

Компания FENOX начала свой путь в 1989 году, когда на постсоветском пространстве появилась небольшая фирма, выпускавшая гидравлические цилиндры для автомобилей ВАЗ. С тех пор компания прошла долгий путь развития — от узкоспециализированного производителя до международного концерна с современными заводами в Беларуси, России и Германии. В 1996 году FENOX сделала важный шаг, приобретя оборудование немецкой Bremse Hydraulic, что позволило значительно повысить качество продукции и выйти на рынки Европы и Америки. Сегодня FENOX — это более 12 современных производственных площадок и тысячи сотрудников, среди которых сотни инженеров, работающих над инновационными решениями и расширением ассортимента.
Ассортимент продукции FENOX насчитывает более 5000 наименований автокомпонентов, охватывающих все ключевые системы автомобиля. Компания производит детали для тормозных систем, электрических и охлаждающих систем, подвески, трансмиссии и рулевого управления. В числе выпускаемых изделий — амортизаторы, тормозные диски и колодки, гидроцилиндры, генераторы, стартеры, свечи зажигания, рулевые рейки, насосы, муфты сцепления, вентиляторы отопления и охлаждения, а также комплектующие для карданных шарниров и многое другое. Продукция ориентирована на широкий спектр техники: от легковых автомобилей ВАЗ и зарубежных брендов до грузовиков КАМАЗ, МАЗ, ГАЗ и УАЗ.
FENOX известна своей приверженностью качеству и инновациям. Компания обладает собственным конструкторским бюро и испытательным центром, аккредитованным по международным стандартам, что гарантирует надежность и безопасность выпускаемых изделий. Сертификация по ISO 9001 и соответствие требованиям VDA 6.1 позволяют поставлять продукцию не только на вторичный рынок, но и на конвейеры ведущих мировых автопроизводителей, таких как Volkswagen, Renault, General Motors и другие.
Сегодня FENOX экспортирует свою продукцию более чем в 50 стран мира, укрепляя позиции на международном рынке и продолжая расширять ассортимент. В планах компании — дальнейшее внедрение современных технологий, развитие производства и создание новых решений, которые помогут сделать автомобили еще более надежными и безопасными. История FENOX — это пример успешного развития, основанного на качестве, инновациях и стремлении удовлетворять потребности самых требовательных клиентов.
Ассортимент:
- Система охлаждения
- Электрическая система
- Система рулевого управления
- Система подвески
- Система трансмиссии
- Главные тормозные цилиндры
- Датчики ABS
- Лямбда-зонды

Компания FENOX начала свой путь в 1989 году, когда на постсоветском пространстве появилась небольшая фирма, выпускавшая гидравлические цилиндры для автомобилей ВАЗ. С тех пор компания прошла долгий путь развития — от узкоспециализированного производителя до международного концерна с современными заводами в Беларуси, России и Германии. В 1996 году FENOX сделала важный шаг, приобретя оборудование немецкой Bremse Hydraulic, что позволило значительно повысить качество продукции и выйти на рынки Европы и Америки. Сегодня FENOX — это более 12 современных производственных площадок и тысячи сотрудников, среди которых сотни инженеров, работающих над инновационными решениями и расширением ассортимента.
Ассортимент продукции FENOX насчитывает более 5000 наименований автокомпонентов, охватывающих все ключевые системы автомобиля. Компания производит детали для тормозных систем, электрических и охлаждающих систем, подвески, трансмиссии и рулевого управления. В числе выпускаемых изделий — амортизаторы, тормозные диски и колодки, гидроцилиндры, генераторы, стартеры, свечи зажигания, рулевые рейки, насосы, муфты сцепления, вентиляторы отопления и охлаждения, а также комплектующие для карданных шарниров и многое другое. Продукция ориентирована на широкий спектр техники: от легковых автомобилей ВАЗ и зарубежных брендов до грузовиков КАМАЗ, МАЗ, ГАЗ и УАЗ.
FENOX известна своей приверженностью качеству и инновациям. Компания обладает собственным конструкторским бюро и испытательным центром, аккредитованным по международным стандартам, что гарантирует надежность и безопасность выпускаемых изделий. Сертификация по ISO 9001 и соответствие требованиям VDA 6.1 позволяют поставлять продукцию не только на вторичный рынок, но и на конвейеры ведущих мировых автопроизводителей, таких как Volkswagen, Renault, General Motors и другие.
Сегодня FENOX экспортирует свою продукцию более чем в 50 стран мира, укрепляя позиции на международном рынке и продолжая расширять ассортимент. В планах компании — дальнейшее внедрение современных технологий, развитие производства и создание новых решений, которые помогут сделать автомобили еще более надежными и безопасными. История FENOX — это пример успешного развития, основанного на качестве, инновациях и стремлении удовлетворять потребности самых требовательных клиентов.
Ассортимент:
- Система охлаждения
- Электрическая система
- Система рулевого управления
- Система подвески
- Система трансмиссии
- Главные тормозные цилиндры
- Датчики ABS
- Лямбда-зонды

Компания FENOX начала свой путь в 1989 году, когда на постсоветском пространстве появилась небольшая фирма, выпускавшая гидравлические цилиндры для автомобилей ВАЗ. С тех пор компания прошла долгий путь развития — от узкоспециализированного производителя до международного концерна с современными заводами в Беларуси, России и Германии. В 1996 году FENOX сделала важный шаг, приобретя оборудование немецкой Bremse Hydraulic, что позволило значительно повысить качество продукции и выйти на рынки Европы и Америки. Сегодня FENOX — это более 12 современных производственных площадок и тысячи сотрудников, среди которых сотни инженеров, работающих над инновационными решениями и расширением ассортимента.
Ассортимент продукции FENOX насчитывает более 5000 наименований автокомпонентов, охватывающих все ключевые системы автомобиля. Компания производит детали для тормозных систем, электрических и охлаждающих систем, подвески, трансмиссии и рулевого управления. В числе выпускаемых изделий — амортизаторы, тормозные диски и колодки, гидроцилиндры, генераторы, стартеры, свечи зажигания, рулевые рейки, насосы, муфты сцепления, вентиляторы отопления и охлаждения, а также комплектующие для карданных шарниров и многое другое. Продукция ориентирована на широкий спектр техники: от легковых автомобилей ВАЗ и зарубежных брендов до грузовиков КАМАЗ, МАЗ, ГАЗ и УАЗ.
FENOX известна своей приверженностью качеству и инновациям. Компания обладает собственным конструкторским бюро и испытательным центром, аккредитованным по международным стандартам, что гарантирует надежность и безопасность выпускаемых изделий. Сертификация по ISO 9001 и соответствие требованиям VDA 6.1 позволяют поставлять продукцию не только на вторичный рынок, но и на конвейеры ведущих мировых автопроизводителей, таких как Volkswagen, Renault, General Motors и другие.
Сегодня FENOX экспортирует свою продукцию более чем в 50 стран мира, укрепляя позиции на международном рынке и продолжая расширять ассортимент. В планах компании — дальнейшее внедрение современных технологий, развитие производства и создание новых решений, которые помогут сделать автомобили еще более надежными и безопасными. История FENOX — это пример успешного развития, основанного на качестве, инновациях и стремлении удовлетворять потребности самых требовательных клиентов.
Ассортимент:
- Система охлаждения
- Электрическая система
- Система рулевого управления
- Система подвески
- Система трансмиссии
- Главные тормозные цилиндры
- Датчики ABS
- Лямбда-зонды

AVTOELECTRICA (АвтоЭлектрика) - это лидирующая российская компания, которая уже более 30 лет специализируется на производстве и поставке высококачественных запчастей для электрооборудования автомобилей. Они предлагают широкий ассортимент продукции, в каталоге бренда более 15000 наименований доступных товаров.
Одним из ключевых преимуществ продукции AVTOELECTRICA является ее износостойкость и долговечность. Компания совместила в себе продвинутые технологии производства, квалифицированную команду специалистов, которые регулярно улучшают свои навыки, а также уделяют особое внимание сырью из которого производятся детали. Все автозапчасти АвтоЭлектрика проходят тестирование на соответствие стандартам качества, что гарантирует безупречную работу автомобильного электрооборудования.
AVTOELECTRICA предлагает своим клиентам широкий выбор электрических компонентов для автомобилей различных марок и моделей. Они имеют масштабный ассортимент генераторов и стартеров, а также аккумуляторов, которые обеспечивают надежную и долговечную работу электрооборудования автомобилей.
Бренд АвтоЭлектрика также обладает широкой сетью дистрибьюторов, что обеспечивает легкий доступ к их продуктам для потребителей. Благодаря этому, автолюбители и профессиональные автомеханики могут легко найти и приобрести нужную им автозапчасть, которая отличается высокой эффективностью и надежностью.
AVTOELECTRICA предоставляет гарантию до 3 лет на свой каталог, что дает потребителям уверенность в качестве приобретаемых автозапчастей. Благодаря этому, автовладельцы могут не беспокоиться о проблемах с электрооборудованием своих транспортных средств.
Ассортимент AVTOELECTRICA:
- Датчики, приборы, указатели
- Оборудование для коммунальной и сельхозтехники
- Рулевое управление
- Система охлаждения и отопления
- Стартеры и комплектующие
- Трансмиссия
- Генераторы и комплектующие
- Двигатель
- Гидравлика
- Кузов
- РТИ
- Светотехника
- Система питания
- Система зажигания
- Система смазки
- Стеклоочистители и омыватели
- Ходовая часть
- Тормозная система
- Электрооборудование

AVTOELECTRICA (АвтоЭлектрика) - это лидирующая российская компания, которая уже более 30 лет специализируется на производстве и поставке высококачественных запчастей для электрооборудования автомобилей. Они предлагают широкий ассортимент продукции, в каталоге бренда более 15000 наименований доступных товаров.
Одним из ключевых преимуществ продукции AVTOELECTRICA является ее износостойкость и долговечность. Компания совместила в себе продвинутые технологии производства, квалифицированную команду специалистов, которые регулярно улучшают свои навыки, а также уделяют особое внимание сырью из которого производятся детали. Все автозапчасти АвтоЭлектрика проходят тестирование на соответствие стандартам качества, что гарантирует безупречную работу автомобильного электрооборудования.
AVTOELECTRICA предлагает своим клиентам широкий выбор электрических компонентов для автомобилей различных марок и моделей. Они имеют масштабный ассортимент генераторов и стартеров, а также аккумуляторов, которые обеспечивают надежную и долговечную работу электрооборудования автомобилей.
Бренд АвтоЭлектрика также обладает широкой сетью дистрибьюторов, что обеспечивает легкий доступ к их продуктам для потребителей. Благодаря этому, автолюбители и профессиональные автомеханики могут легко найти и приобрести нужную им автозапчасть, которая отличается высокой эффективностью и надежностью.
AVTOELECTRICA предоставляет гарантию до 3 лет на свой каталог, что дает потребителям уверенность в качестве приобретаемых автозапчастей. Благодаря этому, автовладельцы могут не беспокоиться о проблемах с электрооборудованием своих транспортных средств.
Ассортимент AVTOELECTRICA:
- Датчики, приборы, указатели
- Оборудование для коммунальной и сельхозтехники
- Рулевое управление
- Система охлаждения и отопления
- Стартеры и комплектующие
- Трансмиссия
- Генераторы и комплектующие
- Двигатель
- Гидравлика
- Кузов
- РТИ
- Светотехника
- Система питания
- Система зажигания
- Система смазки
- Стеклоочистители и омыватели
- Ходовая часть
- Тормозная система
- Электрооборудование

AVTOELECTRICA (АвтоЭлектрика) - это лидирующая российская компания, которая уже более 30 лет специализируется на производстве и поставке высококачественных запчастей для электрооборудования автомобилей. Они предлагают широкий ассортимент продукции, в каталоге бренда более 15000 наименований доступных товаров.
Одним из ключевых преимуществ продукции AVTOELECTRICA является ее износостойкость и долговечность. Компания совместила в себе продвинутые технологии производства, квалифицированную команду специалистов, которые регулярно улучшают свои навыки, а также уделяют особое внимание сырью из которого производятся детали. Все автозапчасти АвтоЭлектрика проходят тестирование на соответствие стандартам качества, что гарантирует безупречную работу автомобильного электрооборудования.
AVTOELECTRICA предлагает своим клиентам широкий выбор электрических компонентов для автомобилей различных марок и моделей. Они имеют масштабный ассортимент генераторов и стартеров, а также аккумуляторов, которые обеспечивают надежную и долговечную работу электрооборудования автомобилей.
Бренд АвтоЭлектрика также обладает широкой сетью дистрибьюторов, что обеспечивает легкий доступ к их продуктам для потребителей. Благодаря этому, автолюбители и профессиональные автомеханики могут легко найти и приобрести нужную им автозапчасть, которая отличается высокой эффективностью и надежностью.
AVTOELECTRICA предоставляет гарантию до 3 лет на свой каталог, что дает потребителям уверенность в качестве приобретаемых автозапчастей. Благодаря этому, автовладельцы могут не беспокоиться о проблемах с электрооборудованием своих транспортных средств.
Ассортимент AVTOELECTRICA:
- Датчики, приборы, указатели
- Оборудование для коммунальной и сельхозтехники
- Рулевое управление
- Система охлаждения и отопления
- Стартеры и комплектующие
- Трансмиссия
- Генераторы и комплектующие
- Двигатель
- Гидравлика
- Кузов
- РТИ
- Светотехника
- Система питания
- Система зажигания
- Система смазки
- Стеклоочистители и омыватели
- Ходовая часть
- Тормозная система
- Электрооборудование

AVTOELECTRICA (АвтоЭлектрика) - это лидирующая российская компания, которая уже более 30 лет специализируется на производстве и поставке высококачественных запчастей для электрооборудования автомобилей. Они предлагают широкий ассортимент продукции, в каталоге бренда более 15000 наименований доступных товаров.
Одним из ключевых преимуществ продукции AVTOELECTRICA является ее износостойкость и долговечность. Компания совместила в себе продвинутые технологии производства, квалифицированную команду специалистов, которые регулярно улучшают свои навыки, а также уделяют особое внимание сырью из которого производятся детали. Все автозапчасти АвтоЭлектрика проходят тестирование на соответствие стандартам качества, что гарантирует безупречную работу автомобильного электрооборудования.
AVTOELECTRICA предлагает своим клиентам широкий выбор электрических компонентов для автомобилей различных марок и моделей. Они имеют масштабный ассортимент генераторов и стартеров, а также аккумуляторов, которые обеспечивают надежную и долговечную работу электрооборудования автомобилей.
Бренд АвтоЭлектрика также обладает широкой сетью дистрибьюторов, что обеспечивает легкий доступ к их продуктам для потребителей. Благодаря этому, автолюбители и профессиональные автомеханики могут легко найти и приобрести нужную им автозапчасть, которая отличается высокой эффективностью и надежностью.
AVTOELECTRICA предоставляет гарантию до 3 лет на свой каталог, что дает потребителям уверенность в качестве приобретаемых автозапчастей. Благодаря этому, автовладельцы могут не беспокоиться о проблемах с электрооборудованием своих транспортных средств.
Ассортимент AVTOELECTRICA:
- Датчики, приборы, указатели
- Оборудование для коммунальной и сельхозтехники
- Рулевое управление
- Система охлаждения и отопления
- Стартеры и комплектующие
- Трансмиссия
- Генераторы и комплектующие
- Двигатель
- Гидравлика
- Кузов
- РТИ
- Светотехника
- Система питания
- Система зажигания
- Система смазки
- Стеклоочистители и омыватели
- Ходовая часть
- Тормозная система
- Электрооборудование

Компания NORMA Group — ведущий мировой производитель соединительных технологий, включая хомуты, зажимы, трубные соединители и комплектующие для систем транспортировки жидкостей. История компании началась в 1949 году с основания германской Rasmussen GmbH, которая позже стала частью современного концерна NORMA Group. В 2006 году произошло объединение немецкой NORMA и шведской ABA, существовавшей с 1896 года, что позволило создать крупный международный промышленный холдинг. Позднее к группе присоединились такие предприятия, как американская Breeze Industrial Products и малазийская Chien Jin Plastic, что расширило географию поставок и ассортимент продукции.
Сегодня компания имеет 29 производственных и офисных площадок по всему миру — в Европе, Америке, Азии и России. В России бренд представлен с начала 1990-х годов, а собственное производство в Тольятти открылось в 2011 году. Здесь выпускают широкую линейку изделий для автомобильной промышленности: червячные и силовые хомуты, пластиковые коннекторы, адаптеры и трубки для подачи жидкостей и газов. Локализация производства обеспечила близость к ключевым клиентам, таким как АвтоВАЗ и другие автопроизводители, а также снизила зависимость от внешних поставок, что особенно важно в текущих экономических условиях.
Продукция NORMA Group соответствует высоким стандартам качества и разрабатывается с применением инновационных решений. Компания активно внедряет технологии бережливого производства и цифровизации, чтобы выпускать надежные и долговечные изделия, соответствующие требованиям ISO 9001, ISO/TS 16949 и ISO 14001. Продукция применяется не только в автомобилестроении, но и в строительстве, сельском хозяйстве, водоснабжении, системах орошения и других отраслях по всему миру.
Важное место занимает выпуск хомутов и соединителей для грузовых автомобилей, включая российские КАМАЗ, ГАЗ и Урал, а также популярные зарубежные марки — Mercedes-Benz, MAN, Volvo, Scania, FAW, JAC, SHAANXI и SITRAK. Это позволяет использовать продукцию в сложных условиях эксплуатации — от городских перевозок до строительства и сельскохозяйственных работ.
NORMA Group продолжает развиваться, расширяя линейку продукции и делая ставку на решения для электромобилей, возобновляемой энергетики и экологичных технологий. Особое внимание уделяется автоматизации и цифровизации производственных процессов, а также внедрению материалов, снижающих воздействие на окружающую среду. Компания укрепляет свои позиции на рынках Европы, Азии и Северной Америки, одновременно развивая локальные производства в регионах с развитой промышленной базой.
NORMA Group сочетает многолетний опыт европейского машиностроения с современными технологиями и глобальным присутствием. Бренд остается надежным поставщиком соединительных решений для автопроизводителей и промышленных предприятий, предлагая продукты, обеспечивающие безопасность, эффективность и долговечность в различных областях применения.
Ассортимент:
- Хомут ленточный
- Хомут глушителя
- Хомут силовой
- Соединитель для шлангов
- Хомут резиноармированный
- Хомут пружинный
- Хомут с резиной
- Соединитель для шлангов
На складах : 4228 шт.

Компания NORMA Group — ведущий мировой производитель соединительных технологий, включая хомуты, зажимы, трубные соединители и комплектующие для систем транспортировки жидкостей. История компании началась в 1949 году с основания германской Rasmussen GmbH, которая позже стала частью современного концерна NORMA Group. В 2006 году произошло объединение немецкой NORMA и шведской ABA, существовавшей с 1896 года, что позволило создать крупный международный промышленный холдинг. Позднее к группе присоединились такие предприятия, как американская Breeze Industrial Products и малазийская Chien Jin Plastic, что расширило географию поставок и ассортимент продукции.
Сегодня компания имеет 29 производственных и офисных площадок по всему миру — в Европе, Америке, Азии и России. В России бренд представлен с начала 1990-х годов, а собственное производство в Тольятти открылось в 2011 году. Здесь выпускают широкую линейку изделий для автомобильной промышленности: червячные и силовые хомуты, пластиковые коннекторы, адаптеры и трубки для подачи жидкостей и газов. Локализация производства обеспечила близость к ключевым клиентам, таким как АвтоВАЗ и другие автопроизводители, а также снизила зависимость от внешних поставок, что особенно важно в текущих экономических условиях.
Продукция NORMA Group соответствует высоким стандартам качества и разрабатывается с применением инновационных решений. Компания активно внедряет технологии бережливого производства и цифровизации, чтобы выпускать надежные и долговечные изделия, соответствующие требованиям ISO 9001, ISO/TS 16949 и ISO 14001. Продукция применяется не только в автомобилестроении, но и в строительстве, сельском хозяйстве, водоснабжении, системах орошения и других отраслях по всему миру.
Важное место занимает выпуск хомутов и соединителей для грузовых автомобилей, включая российские КАМАЗ, ГАЗ и Урал, а также популярные зарубежные марки — Mercedes-Benz, MAN, Volvo, Scania, FAW, JAC, SHAANXI и SITRAK. Это позволяет использовать продукцию в сложных условиях эксплуатации — от городских перевозок до строительства и сельскохозяйственных работ.
NORMA Group продолжает развиваться, расширяя линейку продукции и делая ставку на решения для электромобилей, возобновляемой энергетики и экологичных технологий. Особое внимание уделяется автоматизации и цифровизации производственных процессов, а также внедрению материалов, снижающих воздействие на окружающую среду. Компания укрепляет свои позиции на рынках Европы, Азии и Северной Америки, одновременно развивая локальные производства в регионах с развитой промышленной базой.
NORMA Group сочетает многолетний опыт европейского машиностроения с современными технологиями и глобальным присутствием. Бренд остается надежным поставщиком соединительных решений для автопроизводителей и промышленных предприятий, предлагая продукты, обеспечивающие безопасность, эффективность и долговечность в различных областях применения.
Ассортимент:
- Хомут ленточный
- Хомут глушителя
- Хомут силовой
- Соединитель для шлангов
- Хомут резиноармированный
- Хомут пружинный
- Хомут с резиной
- Соединитель для шлангов

Организация megapower начала свой путь с принятия заказов по исследованию и созданию электронных элементов для спутниковых систем навигации. Имея собственные разработки в этой сфере и защищая свое авторское право, megapower удалось стать популярным производителем электронных изделий высокого по международным меркам качества для различных сфер жизни и производства в России и за рубежом. Рынок компонентов для авто активно расширялся и качественно совершенствовался. Это побудило megapower открыть свой следующий филиал - megapower automotive. Вскоре этот бренд стал ответственным за исследование и введение достижений в области автомобилестроения, технологий и идей в данную промышленность. Компания MEGAPOWER Automotive является одной из первых, кто занялся экспериментом разработки в индустрии светодиодов (LED) и начал использовать их как замену традиционным привычным лампам накаливания. Сегодня широко известный бренд megapower является основным производителем на рынке электроники и мегакорпорацией, работающей со странами Европы, США, Канадой, Гонконгом, Кореей и Россией. На территории Германии и Тайваня организация имеет одни из лучших производственных площадок бренда, работает с оборудованием и технологиями высокого класса, что позволяет производить соответствующую продукцию.
- Домкраты
- Пылесосы
- Автолампы
- Светодиоды
- Компрессоры
- Скотч
- Хомуты
- Зарядные устройства
- Щетки
На складах : 33014 шт.

Организация megapower начала свой путь с принятия заказов по исследованию и созданию электронных элементов для спутниковых систем навигации. Имея собственные разработки в этой сфере и защищая свое авторское право, megapower удалось стать популярным производителем электронных изделий высокого по международным меркам качества для различных сфер жизни и производства в России и за рубежом. Рынок компонентов для авто активно расширялся и качественно совершенствовался. Это побудило megapower открыть свой следующий филиал - megapower automotive. Вскоре этот бренд стал ответственным за исследование и введение достижений в области автомобилестроения, технологий и идей в данную промышленность. Компания MEGAPOWER Automotive является одной из первых, кто занялся экспериментом разработки в индустрии светодиодов (LED) и начал использовать их как замену традиционным привычным лампам накаливания. Сегодня широко известный бренд megapower является основным производителем на рынке электроники и мегакорпорацией, работающей со странами Европы, США, Канадой, Гонконгом, Кореей и Россией. На территории Германии и Тайваня организация имеет одни из лучших производственных площадок бренда, работает с оборудованием и технологиями высокого класса, что позволяет производить соответствующую продукцию.
- Домкраты
- Пылесосы
- Автолампы
- Светодиоды
- Компрессоры
- Скотч
- Хомуты
- Зарядные устройства
- Щетки
На складах : 15419 шт.
На складах : 451 шт.

Компания NORMA Group — ведущий мировой производитель соединительных технологий, включая хомуты, зажимы, трубные соединители и комплектующие для систем транспортировки жидкостей. История компании началась в 1949 году с основания германской Rasmussen GmbH, которая позже стала частью современного концерна NORMA Group. В 2006 году произошло объединение немецкой NORMA и шведской ABA, существовавшей с 1896 года, что позволило создать крупный международный промышленный холдинг. Позднее к группе присоединились такие предприятия, как американская Breeze Industrial Products и малазийская Chien Jin Plastic, что расширило географию поставок и ассортимент продукции.
Сегодня компания имеет 29 производственных и офисных площадок по всему миру — в Европе, Америке, Азии и России. В России бренд представлен с начала 1990-х годов, а собственное производство в Тольятти открылось в 2011 году. Здесь выпускают широкую линейку изделий для автомобильной промышленности: червячные и силовые хомуты, пластиковые коннекторы, адаптеры и трубки для подачи жидкостей и газов. Локализация производства обеспечила близость к ключевым клиентам, таким как АвтоВАЗ и другие автопроизводители, а также снизила зависимость от внешних поставок, что особенно важно в текущих экономических условиях.
Продукция NORMA Group соответствует высоким стандартам качества и разрабатывается с применением инновационных решений. Компания активно внедряет технологии бережливого производства и цифровизации, чтобы выпускать надежные и долговечные изделия, соответствующие требованиям ISO 9001, ISO/TS 16949 и ISO 14001. Продукция применяется не только в автомобилестроении, но и в строительстве, сельском хозяйстве, водоснабжении, системах орошения и других отраслях по всему миру.
Важное место занимает выпуск хомутов и соединителей для грузовых автомобилей, включая российские КАМАЗ, ГАЗ и Урал, а также популярные зарубежные марки — Mercedes-Benz, MAN, Volvo, Scania, FAW, JAC, SHAANXI и SITRAK. Это позволяет использовать продукцию в сложных условиях эксплуатации — от городских перевозок до строительства и сельскохозяйственных работ.
NORMA Group продолжает развиваться, расширяя линейку продукции и делая ставку на решения для электромобилей, возобновляемой энергетики и экологичных технологий. Особое внимание уделяется автоматизации и цифровизации производственных процессов, а также внедрению материалов, снижающих воздействие на окружающую среду. Компания укрепляет свои позиции на рынках Европы, Азии и Северной Америки, одновременно развивая локальные производства в регионах с развитой промышленной базой.
NORMA Group сочетает многолетний опыт европейского машиностроения с современными технологиями и глобальным присутствием. Бренд остается надежным поставщиком соединительных решений для автопроизводителей и промышленных предприятий, предлагая продукты, обеспечивающие безопасность, эффективность и долговечность в различных областях применения.
Ассортимент:
- Хомут ленточный
- Хомут глушителя
- Хомут силовой
- Соединитель для шлангов
- Хомут резиноармированный
- Хомут пружинный
- Хомут с резиной
- Соединитель для шлангов
На складах : 6240 шт.

Компания NORMA Group — ведущий мировой производитель соединительных технологий, включая хомуты, зажимы, трубные соединители и комплектующие для систем транспортировки жидкостей. История компании началась в 1949 году с основания германской Rasmussen GmbH, которая позже стала частью современного концерна NORMA Group. В 2006 году произошло объединение немецкой NORMA и шведской ABA, существовавшей с 1896 года, что позволило создать крупный международный промышленный холдинг. Позднее к группе присоединились такие предприятия, как американская Breeze Industrial Products и малазийская Chien Jin Plastic, что расширило географию поставок и ассортимент продукции.
Сегодня компания имеет 29 производственных и офисных площадок по всему миру — в Европе, Америке, Азии и России. В России бренд представлен с начала 1990-х годов, а собственное производство в Тольятти открылось в 2011 году. Здесь выпускают широкую линейку изделий для автомобильной промышленности: червячные и силовые хомуты, пластиковые коннекторы, адаптеры и трубки для подачи жидкостей и газов. Локализация производства обеспечила близость к ключевым клиентам, таким как АвтоВАЗ и другие автопроизводители, а также снизила зависимость от внешних поставок, что особенно важно в текущих экономических условиях.
Продукция NORMA Group соответствует высоким стандартам качества и разрабатывается с применением инновационных решений. Компания активно внедряет технологии бережливого производства и цифровизации, чтобы выпускать надежные и долговечные изделия, соответствующие требованиям ISO 9001, ISO/TS 16949 и ISO 14001. Продукция применяется не только в автомобилестроении, но и в строительстве, сельском хозяйстве, водоснабжении, системах орошения и других отраслях по всему миру.
Важное место занимает выпуск хомутов и соединителей для грузовых автомобилей, включая российские КАМАЗ, ГАЗ и Урал, а также популярные зарубежные марки — Mercedes-Benz, MAN, Volvo, Scania, FAW, JAC, SHAANXI и SITRAK. Это позволяет использовать продукцию в сложных условиях эксплуатации — от городских перевозок до строительства и сельскохозяйственных работ.
NORMA Group продолжает развиваться, расширяя линейку продукции и делая ставку на решения для электромобилей, возобновляемой энергетики и экологичных технологий. Особое внимание уделяется автоматизации и цифровизации производственных процессов, а также внедрению материалов, снижающих воздействие на окружающую среду. Компания укрепляет свои позиции на рынках Европы, Азии и Северной Америки, одновременно развивая локальные производства в регионах с развитой промышленной базой.
NORMA Group сочетает многолетний опыт европейского машиностроения с современными технологиями и глобальным присутствием. Бренд остается надежным поставщиком соединительных решений для автопроизводителей и промышленных предприятий, предлагая продукты, обеспечивающие безопасность, эффективность и долговечность в различных областях применения.
Ассортимент:
- Хомут ленточный
- Хомут глушителя
- Хомут силовой
- Соединитель для шлангов
- Хомут резиноармированный
- Хомут пружинный
- Хомут с резиной
- Соединитель для шлангов

Организация megapower начала свой путь с принятия заказов по исследованию и созданию электронных элементов для спутниковых систем навигации. Имея собственные разработки в этой сфере и защищая свое авторское право, megapower удалось стать популярным производителем электронных изделий высокого по международным меркам качества для различных сфер жизни и производства в России и за рубежом. Рынок компонентов для авто активно расширялся и качественно совершенствовался. Это побудило megapower открыть свой следующий филиал - megapower automotive. Вскоре этот бренд стал ответственным за исследование и введение достижений в области автомобилестроения, технологий и идей в данную промышленность. Компания MEGAPOWER Automotive является одной из первых, кто занялся экспериментом разработки в индустрии светодиодов (LED) и начал использовать их как замену традиционным привычным лампам накаливания. Сегодня широко известный бренд megapower является основным производителем на рынке электроники и мегакорпорацией, работающей со странами Европы, США, Канадой, Гонконгом, Кореей и Россией. На территории Германии и Тайваня организация имеет одни из лучших производственных площадок бренда, работает с оборудованием и технологиями высокого класса, что позволяет производить соответствующую продукцию.
- Домкраты
- Пылесосы
- Автолампы
- Светодиоды
- Компрессоры
- Скотч
- Хомуты
- Зарядные устройства
- Щетки
На складах : 39150 шт.

Организация megapower начала свой путь с принятия заказов по исследованию и созданию электронных элементов для спутниковых систем навигации. Имея собственные разработки в этой сфере и защищая свое авторское право, megapower удалось стать популярным производителем электронных изделий высокого по международным меркам качества для различных сфер жизни и производства в России и за рубежом. Рынок компонентов для авто активно расширялся и качественно совершенствовался. Это побудило megapower открыть свой следующий филиал - megapower automotive. Вскоре этот бренд стал ответственным за исследование и введение достижений в области автомобилестроения, технологий и идей в данную промышленность. Компания MEGAPOWER Automotive является одной из первых, кто занялся экспериментом разработки в индустрии светодиодов (LED) и начал использовать их как замену традиционным привычным лампам накаливания. Сегодня широко известный бренд megapower является основным производителем на рынке электроники и мегакорпорацией, работающей со странами Европы, США, Канадой, Гонконгом, Кореей и Россией. На территории Германии и Тайваня организация имеет одни из лучших производственных площадок бренда, работает с оборудованием и технологиями высокого класса, что позволяет производить соответствующую продукцию.
- Домкраты
- Пылесосы
- Автолампы
- Светодиоды
- Компрессоры
- Скотч
- Хомуты
- Зарядные устройства
- Щетки

Компания NORMA Group — ведущий мировой производитель соединительных технологий, включая хомуты, зажимы, трубные соединители и комплектующие для систем транспортировки жидкостей. История компании началась в 1949 году с основания германской Rasmussen GmbH, которая позже стала частью современного концерна NORMA Group. В 2006 году произошло объединение немецкой NORMA и шведской ABA, существовавшей с 1896 года, что позволило создать крупный международный промышленный холдинг. Позднее к группе присоединились такие предприятия, как американская Breeze Industrial Products и малазийская Chien Jin Plastic, что расширило географию поставок и ассортимент продукции.
Сегодня компания имеет 29 производственных и офисных площадок по всему миру — в Европе, Америке, Азии и России. В России бренд представлен с начала 1990-х годов, а собственное производство в Тольятти открылось в 2011 году. Здесь выпускают широкую линейку изделий для автомобильной промышленности: червячные и силовые хомуты, пластиковые коннекторы, адаптеры и трубки для подачи жидкостей и газов. Локализация производства обеспечила близость к ключевым клиентам, таким как АвтоВАЗ и другие автопроизводители, а также снизила зависимость от внешних поставок, что особенно важно в текущих экономических условиях.
Продукция NORMA Group соответствует высоким стандартам качества и разрабатывается с применением инновационных решений. Компания активно внедряет технологии бережливого производства и цифровизации, чтобы выпускать надежные и долговечные изделия, соответствующие требованиям ISO 9001, ISO/TS 16949 и ISO 14001. Продукция применяется не только в автомобилестроении, но и в строительстве, сельском хозяйстве, водоснабжении, системах орошения и других отраслях по всему миру.
Важное место занимает выпуск хомутов и соединителей для грузовых автомобилей, включая российские КАМАЗ, ГАЗ и Урал, а также популярные зарубежные марки — Mercedes-Benz, MAN, Volvo, Scania, FAW, JAC, SHAANXI и SITRAK. Это позволяет использовать продукцию в сложных условиях эксплуатации — от городских перевозок до строительства и сельскохозяйственных работ.
NORMA Group продолжает развиваться, расширяя линейку продукции и делая ставку на решения для электромобилей, возобновляемой энергетики и экологичных технологий. Особое внимание уделяется автоматизации и цифровизации производственных процессов, а также внедрению материалов, снижающих воздействие на окружающую среду. Компания укрепляет свои позиции на рынках Европы, Азии и Северной Америки, одновременно развивая локальные производства в регионах с развитой промышленной базой.
NORMA Group сочетает многолетний опыт европейского машиностроения с современными технологиями и глобальным присутствием. Бренд остается надежным поставщиком соединительных решений для автопроизводителей и промышленных предприятий, предлагая продукты, обеспечивающие безопасность, эффективность и долговечность в различных областях применения.
Ассортимент:
- Хомут ленточный
- Хомут глушителя
- Хомут силовой
- Соединитель для шлангов
- Хомут резиноармированный
- Хомут пружинный
- Хомут с резиной
- Соединитель для шлангов
На складах : 2271 шт.

Компания NORMA Group — ведущий мировой производитель соединительных технологий, включая хомуты, зажимы, трубные соединители и комплектующие для систем транспортировки жидкостей. История компании началась в 1949 году с основания германской Rasmussen GmbH, которая позже стала частью современного концерна NORMA Group. В 2006 году произошло объединение немецкой NORMA и шведской ABA, существовавшей с 1896 года, что позволило создать крупный международный промышленный холдинг. Позднее к группе присоединились такие предприятия, как американская Breeze Industrial Products и малазийская Chien Jin Plastic, что расширило географию поставок и ассортимент продукции.
Сегодня компания имеет 29 производственных и офисных площадок по всему миру — в Европе, Америке, Азии и России. В России бренд представлен с начала 1990-х годов, а собственное производство в Тольятти открылось в 2011 году. Здесь выпускают широкую линейку изделий для автомобильной промышленности: червячные и силовые хомуты, пластиковые коннекторы, адаптеры и трубки для подачи жидкостей и газов. Локализация производства обеспечила близость к ключевым клиентам, таким как АвтоВАЗ и другие автопроизводители, а также снизила зависимость от внешних поставок, что особенно важно в текущих экономических условиях.
Продукция NORMA Group соответствует высоким стандартам качества и разрабатывается с применением инновационных решений. Компания активно внедряет технологии бережливого производства и цифровизации, чтобы выпускать надежные и долговечные изделия, соответствующие требованиям ISO 9001, ISO/TS 16949 и ISO 14001. Продукция применяется не только в автомобилестроении, но и в строительстве, сельском хозяйстве, водоснабжении, системах орошения и других отраслях по всему миру.
Важное место занимает выпуск хомутов и соединителей для грузовых автомобилей, включая российские КАМАЗ, ГАЗ и Урал, а также популярные зарубежные марки — Mercedes-Benz, MAN, Volvo, Scania, FAW, JAC, SHAANXI и SITRAK. Это позволяет использовать продукцию в сложных условиях эксплуатации — от городских перевозок до строительства и сельскохозяйственных работ.
NORMA Group продолжает развиваться, расширяя линейку продукции и делая ставку на решения для электромобилей, возобновляемой энергетики и экологичных технологий. Особое внимание уделяется автоматизации и цифровизации производственных процессов, а также внедрению материалов, снижающих воздействие на окружающую среду. Компания укрепляет свои позиции на рынках Европы, Азии и Северной Америки, одновременно развивая локальные производства в регионах с развитой промышленной базой.
NORMA Group сочетает многолетний опыт европейского машиностроения с современными технологиями и глобальным присутствием. Бренд остается надежным поставщиком соединительных решений для автопроизводителей и промышленных предприятий, предлагая продукты, обеспечивающие безопасность, эффективность и долговечность в различных областях применения.
Ассортимент:
- Хомут ленточный
- Хомут глушителя
- Хомут силовой
- Соединитель для шлангов
- Хомут резиноармированный
- Хомут пружинный
- Хомут с резиной
- Соединитель для шлангов
На складах : 36363 шт.

ОАО «КАМАЗ», как крупнейший производитель грузовых автомобилей в России, занимает лидирующие позиции и на рынке продаж запасных частей к своей технике. Значительное увеличение доли высококачественной фирменной продукции на нём признаётся компанией одним из стратегически важных направлений продуктовой и сбытовой политики. ТФК «КАМАЗ» это эксклюзивный дистрибьютор, которому предоставлено исключительное право на продажу основной продукции ОАО «КАМАЗ» на территории России. Единый производственный комплекс группы организаций ОАО "КАМАЗ" охватывает весь технологический цикл производства грузовых автомобилей - от разработки, изготовления, сборки автотехники и автокомпонентов до сбыта готовой продукции и сервисного сопровождения. Система качества продукции ОАО "КАМАЗ" отвечает требованиям международного стандарта ИСО 9001-2000 и одобрена органом по сертификации систем управления "Русский регистр". Двигатели КАМАЗ-740.60-360, КАМАЗ-740.61-320 и КАМАЗ-740.62-280 соответствуют требованиям международных экологических стандартов "Евро-3". ОАО "КАМАЗ" выпускает широкую гамму грузовой техники: грузовые автомобили (более 30 моделей, свыше 400 комплектаций) ,прицепы, автобусы, двигатели, силовые агрегаты и различный инструмент. "КАМАЗ" традиционно позиционируется на рынке грузовых автомобилей полной массой от 14 до 40 тонн. В последние годы гамма продукции компании значительно расширилась. Освоено производство среднетоннажных автомобилей, модернизированной модели КАМАЗ-5460М ("Стайер"), расширен модельный ряд автомобилей повышенной грузоподъемности. Эти машины не раз доказали свою надежность и уникальную проходимость. Именно поэтому опытные водители, которые занимаются перевозками, отдают предпочтение такой продукции как автомобили КАМАЗ. Техника КАМАЗ работает в любых дорожных и климатических условиях: в районах Крайнего Севера и в тропиках, в зонах пустынь и высокогорья. Есть только одна особенность у этих автомашин - при поломке стоит использовать только те запасные части, которые соответствуют качеству машины. "АвтоАльянс" предлагает именно такие запчасти КАМАЗ. "АвтоАльянс" является официальным дилером по продаже запасных частей и силовых агрегатов ОАО "КАМАЗ". Компания предлагает оригинальные запасные части к автомобилям "КАМАЗ". Главные принципы нашей работы - это всесторонняя поддержка клиентов при формировании заявки на запчасти, а также широчайший ассортимент запчастей производства ОАО "КАМАЗ". В "АвтоАльянс" можно заказывать запчасти от "А" до "Я", от шайбы до агрегата. Экономия нужна везде и во всем, но нельзя экономить на своем верном помощнике. Вся продукция ОАО "КАМАЗ", предлагаемая к продаже, имеет сертификаты качества. Причем это касается не только крупных узлов и агрегатов. От работы множеств мелких деталей так же зависит успешное функционирование всего механизма в целом. Каждый год появляются все более совершенные модели автомобиля КАМАЗ. И "АвтоАльянс" идет в ногу со временем и постоянно расширяет ассортиментный ряд запасных частей на новые КАМАЗы. "АвтоАльянс" в заводском рейтинге дилеров является крупнейшим дилером по запчастям КАМАЗ в Центральном регионе РФ.

ОАО «КАМАЗ», как крупнейший производитель грузовых автомобилей в России, занимает лидирующие позиции и на рынке продаж запасных частей к своей технике. Значительное увеличение доли высококачественной фирменной продукции на нём признаётся компанией одним из стратегически важных направлений продуктовой и сбытовой политики. ТФК «КАМАЗ» это эксклюзивный дистрибьютор, которому предоставлено исключительное право на продажу основной продукции ОАО «КАМАЗ» на территории России. Единый производственный комплекс группы организаций ОАО "КАМАЗ" охватывает весь технологический цикл производства грузовых автомобилей - от разработки, изготовления, сборки автотехники и автокомпонентов до сбыта готовой продукции и сервисного сопровождения. Система качества продукции ОАО "КАМАЗ" отвечает требованиям международного стандарта ИСО 9001-2000 и одобрена органом по сертификации систем управления "Русский регистр". Двигатели КАМАЗ-740.60-360, КАМАЗ-740.61-320 и КАМАЗ-740.62-280 соответствуют требованиям международных экологических стандартов "Евро-3". ОАО "КАМАЗ" выпускает широкую гамму грузовой техники: грузовые автомобили (более 30 моделей, свыше 400 комплектаций) ,прицепы, автобусы, двигатели, силовые агрегаты и различный инструмент. "КАМАЗ" традиционно позиционируется на рынке грузовых автомобилей полной массой от 14 до 40 тонн. В последние годы гамма продукции компании значительно расширилась. Освоено производство среднетоннажных автомобилей, модернизированной модели КАМАЗ-5460М ("Стайер"), расширен модельный ряд автомобилей повышенной грузоподъемности. Эти машины не раз доказали свою надежность и уникальную проходимость. Именно поэтому опытные водители, которые занимаются перевозками, отдают предпочтение такой продукции как автомобили КАМАЗ. Техника КАМАЗ работает в любых дорожных и климатических условиях: в районах Крайнего Севера и в тропиках, в зонах пустынь и высокогорья. Есть только одна особенность у этих автомашин - при поломке стоит использовать только те запасные части, которые соответствуют качеству машины. "АвтоАльянс" предлагает именно такие запчасти КАМАЗ. "АвтоАльянс" является официальным дилером по продаже запасных частей и силовых агрегатов ОАО "КАМАЗ". Компания предлагает оригинальные запасные части к автомобилям "КАМАЗ". Главные принципы нашей работы - это всесторонняя поддержка клиентов при формировании заявки на запчасти, а также широчайший ассортимент запчастей производства ОАО "КАМАЗ". В "АвтоАльянс" можно заказывать запчасти от "А" до "Я", от шайбы до агрегата. Экономия нужна везде и во всем, но нельзя экономить на своем верном помощнике. Вся продукция ОАО "КАМАЗ", предлагаемая к продаже, имеет сертификаты качества. Причем это касается не только крупных узлов и агрегатов. От работы множеств мелких деталей так же зависит успешное функционирование всего механизма в целом. Каждый год появляются все более совершенные модели автомобиля КАМАЗ. И "АвтоАльянс" идет в ногу со временем и постоянно расширяет ассортиментный ряд запасных частей на новые КАМАЗы. "АвтоАльянс" в заводском рейтинге дилеров является крупнейшим дилером по запчастям КАМАЗ в Центральном регионе РФ.
На складах : 164 шт.
На складах : 378 шт.