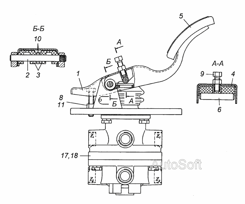
5320-3514108 Кран тормозной двухсекционный с педалью в сборе КамАЗ-43501 (4х4). Каталог 2007г.

ОАО «КАМАЗ», как крупнейший производитель грузовых автомобилей в России, занимает лидирующие позиции и на рынке продаж запасных частей к своей технике. Значительное увеличение доли высококачественной фирменной продукции на нём признаётся компанией одним из стратегически важных направлений продуктовой и сбытовой политики. ТФК «КАМАЗ» это эксклюзивный дистрибьютор, которому предоставлено исключительное право на продажу основной продукции ОАО «КАМАЗ» на территории России. Единый производственный комплекс группы организаций ОАО "КАМАЗ" охватывает весь технологический цикл производства грузовых автомобилей - от разработки, изготовления, сборки автотехники и автокомпонентов до сбыта готовой продукции и сервисного сопровождения. Система качества продукции ОАО "КАМАЗ" отвечает требованиям международного стандарта ИСО 9001-2000 и одобрена органом по сертификации систем управления "Русский регистр". Двигатели КАМАЗ-740.60-360, КАМАЗ-740.61-320 и КАМАЗ-740.62-280 соответствуют требованиям международных экологических стандартов "Евро-3". ОАО "КАМАЗ" выпускает широкую гамму грузовой техники: грузовые автомобили (более 30 моделей, свыше 400 комплектаций) ,прицепы, автобусы, двигатели, силовые агрегаты и различный инструмент. "КАМАЗ" традиционно позиционируется на рынке грузовых автомобилей полной массой от 14 до 40 тонн. В последние годы гамма продукции компании значительно расширилась. Освоено производство среднетоннажных автомобилей, модернизированной модели КАМАЗ-5460М ("Стайер"), расширен модельный ряд автомобилей повышенной грузоподъемности. Эти машины не раз доказали свою надежность и уникальную проходимость. Именно поэтому опытные водители, которые занимаются перевозками, отдают предпочтение такой продукции как автомобили КАМАЗ. Техника КАМАЗ работает в любых дорожных и климатических условиях: в районах Крайнего Севера и в тропиках, в зонах пустынь и высокогорья. Есть только одна особенность у этих автомашин - при поломке стоит использовать только те запасные части, которые соответствуют качеству машины. "АвтоАльянс" предлагает именно такие запчасти КАМАЗ. "АвтоАльянс" является официальным дилером по продаже запасных частей и силовых агрегатов ОАО "КАМАЗ". Компания предлагает оригинальные запасные части к автомобилям "КАМАЗ". Главные принципы нашей работы - это всесторонняя поддержка клиентов при формировании заявки на запчасти, а также широчайший ассортимент запчастей производства ОАО "КАМАЗ". В "АвтоАльянс" можно заказывать запчасти от "А" до "Я", от шайбы до агрегата. Экономия нужна везде и во всем, но нельзя экономить на своем верном помощнике. Вся продукция ОАО "КАМАЗ", предлагаемая к продаже, имеет сертификаты качества. Причем это касается не только крупных узлов и агрегатов. От работы множеств мелких деталей так же зависит успешное функционирование всего механизма в целом. Каждый год появляются все более совершенные модели автомобиля КАМАЗ. И "АвтоАльянс" идет в ногу со временем и постоянно расширяет ассортиментный ряд запасных частей на новые КАМАЗы. "АвтоАльянс" в заводском рейтинге дилеров является крупнейшим дилером по запчастям КАМАЗ в Центральном регионе РФ.
На складах : 16 шт.

ОАО «КАМАЗ», как крупнейший производитель грузовых автомобилей в России, занимает лидирующие позиции и на рынке продаж запасных частей к своей технике. Значительное увеличение доли высококачественной фирменной продукции на нём признаётся компанией одним из стратегически важных направлений продуктовой и сбытовой политики. ТФК «КАМАЗ» это эксклюзивный дистрибьютор, которому предоставлено исключительное право на продажу основной продукции ОАО «КАМАЗ» на территории России. Единый производственный комплекс группы организаций ОАО "КАМАЗ" охватывает весь технологический цикл производства грузовых автомобилей - от разработки, изготовления, сборки автотехники и автокомпонентов до сбыта готовой продукции и сервисного сопровождения. Система качества продукции ОАО "КАМАЗ" отвечает требованиям международного стандарта ИСО 9001-2000 и одобрена органом по сертификации систем управления "Русский регистр". Двигатели КАМАЗ-740.60-360, КАМАЗ-740.61-320 и КАМАЗ-740.62-280 соответствуют требованиям международных экологических стандартов "Евро-3". ОАО "КАМАЗ" выпускает широкую гамму грузовой техники: грузовые автомобили (более 30 моделей, свыше 400 комплектаций) ,прицепы, автобусы, двигатели, силовые агрегаты и различный инструмент. "КАМАЗ" традиционно позиционируется на рынке грузовых автомобилей полной массой от 14 до 40 тонн. В последние годы гамма продукции компании значительно расширилась. Освоено производство среднетоннажных автомобилей, модернизированной модели КАМАЗ-5460М ("Стайер"), расширен модельный ряд автомобилей повышенной грузоподъемности. Эти машины не раз доказали свою надежность и уникальную проходимость. Именно поэтому опытные водители, которые занимаются перевозками, отдают предпочтение такой продукции как автомобили КАМАЗ. Техника КАМАЗ работает в любых дорожных и климатических условиях: в районах Крайнего Севера и в тропиках, в зонах пустынь и высокогорья. Есть только одна особенность у этих автомашин - при поломке стоит использовать только те запасные части, которые соответствуют качеству машины. "АвтоАльянс" предлагает именно такие запчасти КАМАЗ. "АвтоАльянс" является официальным дилером по продаже запасных частей и силовых агрегатов ОАО "КАМАЗ". Компания предлагает оригинальные запасные части к автомобилям "КАМАЗ". Главные принципы нашей работы - это всесторонняя поддержка клиентов при формировании заявки на запчасти, а также широчайший ассортимент запчастей производства ОАО "КАМАЗ". В "АвтоАльянс" можно заказывать запчасти от "А" до "Я", от шайбы до агрегата. Экономия нужна везде и во всем, но нельзя экономить на своем верном помощнике. Вся продукция ОАО "КАМАЗ", предлагаемая к продаже, имеет сертификаты качества. Причем это касается не только крупных узлов и агрегатов. От работы множеств мелких деталей так же зависит успешное функционирование всего механизма в целом. Каждый год появляются все более совершенные модели автомобиля КАМАЗ. И "АвтоАльянс" идет в ногу со временем и постоянно расширяет ассортиментный ряд запасных частей на новые КАМАЗы. "АвтоАльянс" в заводском рейтинге дилеров является крупнейшим дилером по запчастям КАМАЗ в Центральном регионе РФ.

MEGAPOWER Automotive – бренд с почти 30-летней историей.
История производства автомобильных компонентов MEGAPOWER Automotive началась в 1995 году. Бренд MEGAPOWER Automotive стал одним из первых на рынке, кто предложил автомобилистам светодиодные лампы в качестве достойной и технологичной альтернативы традиционным лампочкам накаливания. На протяжении второй половины 90-х и начала 2000х годов к ассортименту выпускаемой MEGAPOWER продукции добавились компрессоры для шин, безотказно работающие при любой погоде и обстоятельствах, щетки стеклоочистителя для широкой гаммы легковых и грузовых автомобилей, гидравлические домкраты грузоподъемностью до 50-ти тонн, надежные буксировочные тросы, зарядные устройства, стяжки груза и многое другое.
Важная особенность MEGAPOWER Automotive – поступательное развитие и внимание к деталям. Сочетание высоких технических характеристик, практичность и разумные цены сделали продукцию MEGAPOWER крайне востребованной как опытными водителями, так и сотрудниками сервисных центров.
В начале 2010-х MEGAPOWER Automotive перешел к новому этапу своего развития. Существенно расширился ассортименти и параллельно был запущен проект по выходу на смежный рынок автомобильных запчастей. С этого момента компания разделила 2 своих направления: автотовары, светотехнику и аксессуары продолжили выпускать с исходным красным логотипом, а для автомобильных запчастей была разработана обновленная стилистика оформления, упаковки и черно-голубой логотип.
Абсолютно все запасные части MEGAPOWER Automotive перед тем как попасть к конечному потребителю проверяются на 4х независимых этапах: проверка качества сырья перед началом производственного цикла, постоянный контроль всех параметров технологического процесса, осмотр и контроль изготовленных деталей перед упаковкой, выборочные испытания деталей из каждой партии на специализированных стендах. Запчасти MEGAPOWER имеют расширенную гарантию до 2 лет.
Основу предложения запасных частей MEGAPOWER Automotive составили высококачественные детали для грузовиков, малотоннажного транспорта, а с 2022 года и легковых автомобилей. Сегодня бренд выпускает запчасти двигателя и трансмиссии, подвески и ходовой части, тормозной и рулевой систем, электрооборудование и многое другое.
Продолжая свое развитие, MEGAPOWER Automotive совершенствует технологии, расширяет ассортимент, активно взаимодействует с потребителями продукции, улучшая текущие товары и разрабатывая новые.
Преимущества бренда:
- постоянное расширение ассортимента;
- двухлетняя гарантия качества продукции (1 год на турбокомпрессоры и автотовары);
- более 3500 позиций для грузовых и легковых автомобилей;
- крупносерийное производство;
- квалифицированные специалисты в области инженерных разработок;
На складах : 38 шт.

MEGAPOWER Automotive – бренд с почти 30-летней историей.
История производства автомобильных компонентов MEGAPOWER Automotive началась в 1995 году. Бренд MEGAPOWER Automotive стал одним из первых на рынке, кто предложил автомобилистам светодиодные лампы в качестве достойной и технологичной альтернативы традиционным лампочкам накаливания. На протяжении второй половины 90-х и начала 2000х годов к ассортименту выпускаемой MEGAPOWER продукции добавились компрессоры для шин, безотказно работающие при любой погоде и обстоятельствах, щетки стеклоочистителя для широкой гаммы легковых и грузовых автомобилей, гидравлические домкраты грузоподъемностью до 50-ти тонн, надежные буксировочные тросы, зарядные устройства, стяжки груза и многое другое.
Важная особенность MEGAPOWER Automotive – поступательное развитие и внимание к деталям. Сочетание высоких технических характеристик, практичность и разумные цены сделали продукцию MEGAPOWER крайне востребованной как опытными водителями, так и сотрудниками сервисных центров.
В начале 2010-х MEGAPOWER Automotive перешел к новому этапу своего развития. Существенно расширился ассортименти и параллельно был запущен проект по выходу на смежный рынок автомобильных запчастей. С этого момента компания разделила 2 своих направления: автотовары, светотехнику и аксессуары продолжили выпускать с исходным красным логотипом, а для автомобильных запчастей была разработана обновленная стилистика оформления, упаковки и черно-голубой логотип.
Абсолютно все запасные части MEGAPOWER Automotive перед тем как попасть к конечному потребителю проверяются на 4х независимых этапах: проверка качества сырья перед началом производственного цикла, постоянный контроль всех параметров технологического процесса, осмотр и контроль изготовленных деталей перед упаковкой, выборочные испытания деталей из каждой партии на специализированных стендах. Запчасти MEGAPOWER имеют расширенную гарантию до 2 лет.
Основу предложения запасных частей MEGAPOWER Automotive составили высококачественные детали для грузовиков, малотоннажного транспорта, а с 2022 года и легковых автомобилей. Сегодня бренд выпускает запчасти двигателя и трансмиссии, подвески и ходовой части, тормозной и рулевой систем, электрооборудование и многое другое.
Продолжая свое развитие, MEGAPOWER Automotive совершенствует технологии, расширяет ассортимент, активно взаимодействует с потребителями продукции, улучшая текущие товары и разрабатывая новые.
Преимущества бренда:
- постоянное расширение ассортимента;
- двухлетняя гарантия качества продукции (1 год на турбокомпрессоры и автотовары);
- более 3500 позиций для грузовых и легковых автомобилей;
- крупносерийное производство;
- квалифицированные специалисты в области инженерных разработок;

История бренда АВТОМАГНАТ началась в 1998 году, когда компания ООО «Радиатор» — сегодня один из крупнейших дистрибьюторов автозапчастей в России — запустила производство и поставку запчастей под собственной торговой маркой. Основанием для этого решения стал растущий спрос на качественные и доступные комплектующие для грузового и легкового транспорта, сельхозтехники и спецмашин. За четверть века бренд заслужил репутацию надежного поставщика, сотрудничающего с 62 заводами в России и Китае, включая партнерство с YUHUAN HANGCHAO TRANSMISSION SHAFT CO. LTD.
Сегодня ассортимент АВТОМАГНАТ насчитывает свыше 6000 позиций: от амортизаторов и дисков сцепления до насосов, фильтров, тормозных систем и электрооборудования. Продукция охватывает потребности техники ведущих отечественных марок — ГАЗ, КАМАЗ, УАЗ, МАЗ, МТЗ и других, — а также поставляется в страны СНГ, Восточной Европы и Азии.
Гарантия на российскую продукцию составляет 1-2 года, что свидетельствует о высоком качестве и надежности изделий. География поставок охватывает не только Россию, но и страны СНГ, такие как Беларусь, Казахстан, Азербайджан и Туркменистан, а также страны Восточной Европы и Азии, включая Германию, Латвию, Китай и Индию. Это говорит о широкой международной представленности бренда и его конкурентоспособности на внешних рынках.
Продукция компании АВТОМАГНАТ соответствует строгим требованиям российских стандартов ГОСТ Р и Евразийского экономического союза, что гарантирует её законность и безопасность на рынке. В своей деятельности компания руководствуется международными стандартами менеджмента качества ISO 9001, что свидетельствует о высоком уровне организации производства и контроля качества. АвтоАльянс — надёжный партнёр компании АВТОМАГНАТ. На своём сайте autoopt.tu он предлагает широкий ассортимент автозапчастей как от АВТОМАГНАТ, так и от других производителей, обеспечивая комплексное снабжение автомобильной техники качественными деталями по всей России.
Ассортимент:
- Шланг тормозной
- Крестовина
- Барабан тормозной
- Вал карданный
- Мотор отопителя
- Ступица
- Амортизатор
- Компрессор и др.

История бренда АВТОМАГНАТ началась в 1998 году, когда компания ООО «Радиатор» — сегодня один из крупнейших дистрибьюторов автозапчастей в России — запустила производство и поставку запчастей под собственной торговой маркой. Основанием для этого решения стал растущий спрос на качественные и доступные комплектующие для грузового и легкового транспорта, сельхозтехники и спецмашин. За четверть века бренд заслужил репутацию надежного поставщика, сотрудничающего с 62 заводами в России и Китае, включая партнерство с YUHUAN HANGCHAO TRANSMISSION SHAFT CO. LTD.
Сегодня ассортимент АВТОМАГНАТ насчитывает свыше 6000 позиций: от амортизаторов и дисков сцепления до насосов, фильтров, тормозных систем и электрооборудования. Продукция охватывает потребности техники ведущих отечественных марок — ГАЗ, КАМАЗ, УАЗ, МАЗ, МТЗ и других, — а также поставляется в страны СНГ, Восточной Европы и Азии.
Гарантия на российскую продукцию составляет 1-2 года, что свидетельствует о высоком качестве и надежности изделий. География поставок охватывает не только Россию, но и страны СНГ, такие как Беларусь, Казахстан, Азербайджан и Туркменистан, а также страны Восточной Европы и Азии, включая Германию, Латвию, Китай и Индию. Это говорит о широкой международной представленности бренда и его конкурентоспособности на внешних рынках.
Продукция компании АВТОМАГНАТ соответствует строгим требованиям российских стандартов ГОСТ Р и Евразийского экономического союза, что гарантирует её законность и безопасность на рынке. В своей деятельности компания руководствуется международными стандартами менеджмента качества ISO 9001, что свидетельствует о высоком уровне организации производства и контроля качества. АвтоАльянс — надёжный партнёр компании АВТОМАГНАТ. На своём сайте autoopt.tu он предлагает широкий ассортимент автозапчастей как от АВТОМАГНАТ, так и от других производителей, обеспечивая комплексное снабжение автомобильной техники качественными деталями по всей России.
Ассортимент:
- Шланг тормозной
- Крестовина
- Барабан тормозной
- Вал карданный
- Мотор отопителя
- Ступица
- Амортизатор
- Компрессор и др.

ОАО «КАМАЗ», как крупнейший производитель грузовых автомобилей в России, занимает лидирующие позиции и на рынке продаж запасных частей к своей технике. Значительное увеличение доли высококачественной фирменной продукции на нём признаётся компанией одним из стратегически важных направлений продуктовой и сбытовой политики. ТФК «КАМАЗ» это эксклюзивный дистрибьютор, которому предоставлено исключительное право на продажу основной продукции ОАО «КАМАЗ» на территории России. Единый производственный комплекс группы организаций ОАО "КАМАЗ" охватывает весь технологический цикл производства грузовых автомобилей - от разработки, изготовления, сборки автотехники и автокомпонентов до сбыта готовой продукции и сервисного сопровождения. Система качества продукции ОАО "КАМАЗ" отвечает требованиям международного стандарта ИСО 9001-2000 и одобрена органом по сертификации систем управления "Русский регистр". Двигатели КАМАЗ-740.60-360, КАМАЗ-740.61-320 и КАМАЗ-740.62-280 соответствуют требованиям международных экологических стандартов "Евро-3". ОАО "КАМАЗ" выпускает широкую гамму грузовой техники: грузовые автомобили (более 30 моделей, свыше 400 комплектаций) ,прицепы, автобусы, двигатели, силовые агрегаты и различный инструмент. "КАМАЗ" традиционно позиционируется на рынке грузовых автомобилей полной массой от 14 до 40 тонн. В последние годы гамма продукции компании значительно расширилась. Освоено производство среднетоннажных автомобилей, модернизированной модели КАМАЗ-5460М ("Стайер"), расширен модельный ряд автомобилей повышенной грузоподъемности. Эти машины не раз доказали свою надежность и уникальную проходимость. Именно поэтому опытные водители, которые занимаются перевозками, отдают предпочтение такой продукции как автомобили КАМАЗ. Техника КАМАЗ работает в любых дорожных и климатических условиях: в районах Крайнего Севера и в тропиках, в зонах пустынь и высокогорья. Есть только одна особенность у этих автомашин - при поломке стоит использовать только те запасные части, которые соответствуют качеству машины. "АвтоАльянс" предлагает именно такие запчасти КАМАЗ. "АвтоАльянс" является официальным дилером по продаже запасных частей и силовых агрегатов ОАО "КАМАЗ". Компания предлагает оригинальные запасные части к автомобилям "КАМАЗ". Главные принципы нашей работы - это всесторонняя поддержка клиентов при формировании заявки на запчасти, а также широчайший ассортимент запчастей производства ОАО "КАМАЗ". В "АвтоАльянс" можно заказывать запчасти от "А" до "Я", от шайбы до агрегата. Экономия нужна везде и во всем, но нельзя экономить на своем верном помощнике. Вся продукция ОАО "КАМАЗ", предлагаемая к продаже, имеет сертификаты качества. Причем это касается не только крупных узлов и агрегатов. От работы множеств мелких деталей так же зависит успешное функционирование всего механизма в целом. Каждый год появляются все более совершенные модели автомобиля КАМАЗ. И "АвтоАльянс" идет в ногу со временем и постоянно расширяет ассортиментный ряд запасных частей на новые КАМАЗы. "АвтоАльянс" в заводском рейтинге дилеров является крупнейшим дилером по запчастям КАМАЗ в Центральном регионе РФ.
На складах : 30 шт.

ОАО «КАМАЗ», как крупнейший производитель грузовых автомобилей в России, занимает лидирующие позиции и на рынке продаж запасных частей к своей технике. Значительное увеличение доли высококачественной фирменной продукции на нём признаётся компанией одним из стратегически важных направлений продуктовой и сбытовой политики. ТФК «КАМАЗ» это эксклюзивный дистрибьютор, которому предоставлено исключительное право на продажу основной продукции ОАО «КАМАЗ» на территории России. Единый производственный комплекс группы организаций ОАО "КАМАЗ" охватывает весь технологический цикл производства грузовых автомобилей - от разработки, изготовления, сборки автотехники и автокомпонентов до сбыта готовой продукции и сервисного сопровождения. Система качества продукции ОАО "КАМАЗ" отвечает требованиям международного стандарта ИСО 9001-2000 и одобрена органом по сертификации систем управления "Русский регистр". Двигатели КАМАЗ-740.60-360, КАМАЗ-740.61-320 и КАМАЗ-740.62-280 соответствуют требованиям международных экологических стандартов "Евро-3". ОАО "КАМАЗ" выпускает широкую гамму грузовой техники: грузовые автомобили (более 30 моделей, свыше 400 комплектаций) ,прицепы, автобусы, двигатели, силовые агрегаты и различный инструмент. "КАМАЗ" традиционно позиционируется на рынке грузовых автомобилей полной массой от 14 до 40 тонн. В последние годы гамма продукции компании значительно расширилась. Освоено производство среднетоннажных автомобилей, модернизированной модели КАМАЗ-5460М ("Стайер"), расширен модельный ряд автомобилей повышенной грузоподъемности. Эти машины не раз доказали свою надежность и уникальную проходимость. Именно поэтому опытные водители, которые занимаются перевозками, отдают предпочтение такой продукции как автомобили КАМАЗ. Техника КАМАЗ работает в любых дорожных и климатических условиях: в районах Крайнего Севера и в тропиках, в зонах пустынь и высокогорья. Есть только одна особенность у этих автомашин - при поломке стоит использовать только те запасные части, которые соответствуют качеству машины. "АвтоАльянс" предлагает именно такие запчасти КАМАЗ. "АвтоАльянс" является официальным дилером по продаже запасных частей и силовых агрегатов ОАО "КАМАЗ". Компания предлагает оригинальные запасные части к автомобилям "КАМАЗ". Главные принципы нашей работы - это всесторонняя поддержка клиентов при формировании заявки на запчасти, а также широчайший ассортимент запчастей производства ОАО "КАМАЗ". В "АвтоАльянс" можно заказывать запчасти от "А" до "Я", от шайбы до агрегата. Экономия нужна везде и во всем, но нельзя экономить на своем верном помощнике. Вся продукция ОАО "КАМАЗ", предлагаемая к продаже, имеет сертификаты качества. Причем это касается не только крупных узлов и агрегатов. От работы множеств мелких деталей так же зависит успешное функционирование всего механизма в целом. Каждый год появляются все более совершенные модели автомобиля КАМАЗ. И "АвтоАльянс" идет в ногу со временем и постоянно расширяет ассортиментный ряд запасных частей на новые КАМАЗы. "АвтоАльянс" в заводском рейтинге дилеров является крупнейшим дилером по запчастям КАМАЗ в Центральном регионе РФ.

ОАО «КАМАЗ», как крупнейший производитель грузовых автомобилей в России, занимает лидирующие позиции и на рынке продаж запасных частей к своей технике. Значительное увеличение доли высококачественной фирменной продукции на нём признаётся компанией одним из стратегически важных направлений продуктовой и сбытовой политики. ТФК «КАМАЗ» это эксклюзивный дистрибьютор, которому предоставлено исключительное право на продажу основной продукции ОАО «КАМАЗ» на территории России. Единый производственный комплекс группы организаций ОАО "КАМАЗ" охватывает весь технологический цикл производства грузовых автомобилей - от разработки, изготовления, сборки автотехники и автокомпонентов до сбыта готовой продукции и сервисного сопровождения. Система качества продукции ОАО "КАМАЗ" отвечает требованиям международного стандарта ИСО 9001-2000 и одобрена органом по сертификации систем управления "Русский регистр". Двигатели КАМАЗ-740.60-360, КАМАЗ-740.61-320 и КАМАЗ-740.62-280 соответствуют требованиям международных экологических стандартов "Евро-3". ОАО "КАМАЗ" выпускает широкую гамму грузовой техники: грузовые автомобили (более 30 моделей, свыше 400 комплектаций) ,прицепы, автобусы, двигатели, силовые агрегаты и различный инструмент. "КАМАЗ" традиционно позиционируется на рынке грузовых автомобилей полной массой от 14 до 40 тонн. В последние годы гамма продукции компании значительно расширилась. Освоено производство среднетоннажных автомобилей, модернизированной модели КАМАЗ-5460М ("Стайер"), расширен модельный ряд автомобилей повышенной грузоподъемности. Эти машины не раз доказали свою надежность и уникальную проходимость. Именно поэтому опытные водители, которые занимаются перевозками, отдают предпочтение такой продукции как автомобили КАМАЗ. Техника КАМАЗ работает в любых дорожных и климатических условиях: в районах Крайнего Севера и в тропиках, в зонах пустынь и высокогорья. Есть только одна особенность у этих автомашин - при поломке стоит использовать только те запасные части, которые соответствуют качеству машины. "АвтоАльянс" предлагает именно такие запчасти КАМАЗ. "АвтоАльянс" является официальным дилером по продаже запасных частей и силовых агрегатов ОАО "КАМАЗ". Компания предлагает оригинальные запасные части к автомобилям "КАМАЗ". Главные принципы нашей работы - это всесторонняя поддержка клиентов при формировании заявки на запчасти, а также широчайший ассортимент запчастей производства ОАО "КАМАЗ". В "АвтоАльянс" можно заказывать запчасти от "А" до "Я", от шайбы до агрегата. Экономия нужна везде и во всем, но нельзя экономить на своем верном помощнике. Вся продукция ОАО "КАМАЗ", предлагаемая к продаже, имеет сертификаты качества. Причем это касается не только крупных узлов и агрегатов. От работы множеств мелких деталей так же зависит успешное функционирование всего механизма в целом. Каждый год появляются все более совершенные модели автомобиля КАМАЗ. И "АвтоАльянс" идет в ногу со временем и постоянно расширяет ассортиментный ряд запасных частей на новые КАМАЗы. "АвтоАльянс" в заводском рейтинге дилеров является крупнейшим дилером по запчастям КАМАЗ в Центральном регионе РФ.

ОАО «КАМАЗ», как крупнейший производитель грузовых автомобилей в России, занимает лидирующие позиции и на рынке продаж запасных частей к своей технике. Значительное увеличение доли высококачественной фирменной продукции на нём признаётся компанией одним из стратегически важных направлений продуктовой и сбытовой политики. ТФК «КАМАЗ» это эксклюзивный дистрибьютор, которому предоставлено исключительное право на продажу основной продукции ОАО «КАМАЗ» на территории России. Единый производственный комплекс группы организаций ОАО "КАМАЗ" охватывает весь технологический цикл производства грузовых автомобилей - от разработки, изготовления, сборки автотехники и автокомпонентов до сбыта готовой продукции и сервисного сопровождения. Система качества продукции ОАО "КАМАЗ" отвечает требованиям международного стандарта ИСО 9001-2000 и одобрена органом по сертификации систем управления "Русский регистр". Двигатели КАМАЗ-740.60-360, КАМАЗ-740.61-320 и КАМАЗ-740.62-280 соответствуют требованиям международных экологических стандартов "Евро-3". ОАО "КАМАЗ" выпускает широкую гамму грузовой техники: грузовые автомобили (более 30 моделей, свыше 400 комплектаций) ,прицепы, автобусы, двигатели, силовые агрегаты и различный инструмент. "КАМАЗ" традиционно позиционируется на рынке грузовых автомобилей полной массой от 14 до 40 тонн. В последние годы гамма продукции компании значительно расширилась. Освоено производство среднетоннажных автомобилей, модернизированной модели КАМАЗ-5460М ("Стайер"), расширен модельный ряд автомобилей повышенной грузоподъемности. Эти машины не раз доказали свою надежность и уникальную проходимость. Именно поэтому опытные водители, которые занимаются перевозками, отдают предпочтение такой продукции как автомобили КАМАЗ. Техника КАМАЗ работает в любых дорожных и климатических условиях: в районах Крайнего Севера и в тропиках, в зонах пустынь и высокогорья. Есть только одна особенность у этих автомашин - при поломке стоит использовать только те запасные части, которые соответствуют качеству машины. "АвтоАльянс" предлагает именно такие запчасти КАМАЗ. "АвтоАльянс" является официальным дилером по продаже запасных частей и силовых агрегатов ОАО "КАМАЗ". Компания предлагает оригинальные запасные части к автомобилям "КАМАЗ". Главные принципы нашей работы - это всесторонняя поддержка клиентов при формировании заявки на запчасти, а также широчайший ассортимент запчастей производства ОАО "КАМАЗ". В "АвтоАльянс" можно заказывать запчасти от "А" до "Я", от шайбы до агрегата. Экономия нужна везде и во всем, но нельзя экономить на своем верном помощнике. Вся продукция ОАО "КАМАЗ", предлагаемая к продаже, имеет сертификаты качества. Причем это касается не только крупных узлов и агрегатов. От работы множеств мелких деталей так же зависит успешное функционирование всего механизма в целом. Каждый год появляются все более совершенные модели автомобиля КАМАЗ. И "АвтоАльянс" идет в ногу со временем и постоянно расширяет ассортиментный ряд запасных частей на новые КАМАЗы. "АвтоАльянс" в заводском рейтинге дилеров является крупнейшим дилером по запчастям КАМАЗ в Центральном регионе РФ.

Компания «Технотрон» является лидером в области машиностроения и производит огромный перечень автокомпонентов для коммерческой техники, кранового оборудования и электрооборудования, а так же для почвообрабатывающей и прицепной сельскохозяйственной техники. Организация входит в холдинг «ТЭМПО» - один из крупнейших промышленных концернов России. «Технотрон» владеет собственной научно-технической базой, благодаря которой осуществляет производственный цикл полностью и самостоятельно и выпускает продукцию, актуальную для различных сфер экономики и промышленности. Кроме научно-технической базы предприятие обладает испытательным центром, парком роботизированного оборудования и широким спектром технологий для обработки различных материалов. Система качества предприятия, начиная с проектирования продукции и заканчивая ее выпуском, соответствует требованиям международных стандартов и ежегодно подтверждается независимыми органами. В конце 2020 года в «Технотрон» прошел аудит на соответствие немецкому стандарту VDA 6.3, являющийся составной частью стратегии «Стандарт качества немецкой автомобильной промышленности. Бесперебойность работы и скорость всех производственных процессов достигается благодаря высококвалифицированным сотрудникам компании. На данный момент их общая численность достигает 700 человек. Главная цель предприятия «Технотрон» - выстраивание надежных взаимоотношений с клиентом, основанных на уважении. Компания изучает рынок, модернизирует производство и стремится не просто удовлетворить потребности покупателей, а превзойти их ожидания. Сегодня основными потребителями продукции «Технотрон» являются такие организации как ПАО "КАМАЗ", ОАО "МАЗ", "Группа ГАЗ", DAIMLER KAMAZ RUS, АЗ "УРАЛ".
На складах : 170 шт.

Компания «Технотрон» является лидером в области машиностроения и производит огромный перечень автокомпонентов для коммерческой техники, кранового оборудования и электрооборудования, а так же для почвообрабатывающей и прицепной сельскохозяйственной техники. Организация входит в холдинг «ТЭМПО» - один из крупнейших промышленных концернов России. «Технотрон» владеет собственной научно-технической базой, благодаря которой осуществляет производственный цикл полностью и самостоятельно и выпускает продукцию, актуальную для различных сфер экономики и промышленности. Кроме научно-технической базы предприятие обладает испытательным центром, парком роботизированного оборудования и широким спектром технологий для обработки различных материалов. Система качества предприятия, начиная с проектирования продукции и заканчивая ее выпуском, соответствует требованиям международных стандартов и ежегодно подтверждается независимыми органами. В конце 2020 года в «Технотрон» прошел аудит на соответствие немецкому стандарту VDA 6.3, являющийся составной частью стратегии «Стандарт качества немецкой автомобильной промышленности. Бесперебойность работы и скорость всех производственных процессов достигается благодаря высококвалифицированным сотрудникам компании. На данный момент их общая численность достигает 700 человек. Главная цель предприятия «Технотрон» - выстраивание надежных взаимоотношений с клиентом, основанных на уважении. Компания изучает рынок, модернизирует производство и стремится не просто удовлетворить потребности покупателей, а превзойти их ожидания. Сегодня основными потребителями продукции «Технотрон» являются такие организации как ПАО "КАМАЗ", ОАО "МАЗ", "Группа ГАЗ", DAIMLER KAMAZ RUS, АЗ "УРАЛ".

TEHNOTRON — созданное в Набережных Челнах передовое предприятие машиностроительной направленности, водящее в состав холдинга «ТЭМПО». Технотрон обеспечивает запчастями сферу коммерческой и сельскохозяйственной техники, в особенности электрооборудование, краны и почвообрабатывающую аппаратуру.
Располагая внушительной технической и научной базой в Набережных Челнах, Tehnotron независимо осуществляет полный цикл изготовления продукции, от проектирования и подготовки ресурсов, до тестирования и реализации товара, необходимого, в том числе для экономических нужд легкой и тяжелой промышленности.
Важно отметить, что в структурно-производственной цепи, есть место для проверки итогового продукта испытательным центром, который ответственен не только за предотвращение возможных проблем, но и за наиболее продуктивное совершенствование характеристик каждого конкретного изделия. Своим конкурентным преимуществом Технотрон выделяет особую технологию окрашивания автокомплектующих из SMC.
Бренд Tehnotron отвечает за соответствие высоким международным стандартам качества, что регулярно подтверждается обновляемым перечнем сертификатов и независимым органом оценки United Registrar of Systems Ltd. (URS Certification), благодаря контролю сырья, материалов и входящих комплектующих. Производственный потенциал в концерне позволяют конструировать и собирать все элементы самостоятельно в Набережных Челнах, не привлекая сторонние организации.
В настоящее время Технотрон в основном ориентированы на активное сотрудничество с такими автомобильными марками как ПАО «КАМАЗ», ОАО «МАЗ», «Группа ГАЗ», DAIMLER KAMAZ RUS и АЗ «УРАЛ». Компания стремится выйти на стабильный рост объемов производства, освоить также и региональные рынки и консолидировать автопромышленность.
Ассортимент:
- Система охлаждения
- Система питания
- Оперение кабины (экстерьер а/м 5490)
- Принадлежности кабины
- Элементы подвески
- Тягово-сцепные устройства
- Электрика
- Седельно-сцепные устройства
- Троллейный шинопровод и многое другое
На складах : 1037 шт.

TEHNOTRON — созданное в Набережных Челнах передовое предприятие машиностроительной направленности, водящее в состав холдинга «ТЭМПО». Технотрон обеспечивает запчастями сферу коммерческой и сельскохозяйственной техники, в особенности электрооборудование, краны и почвообрабатывающую аппаратуру.
Располагая внушительной технической и научной базой в Набережных Челнах, Tehnotron независимо осуществляет полный цикл изготовления продукции, от проектирования и подготовки ресурсов, до тестирования и реализации товара, необходимого, в том числе для экономических нужд легкой и тяжелой промышленности.
Важно отметить, что в структурно-производственной цепи, есть место для проверки итогового продукта испытательным центром, который ответственен не только за предотвращение возможных проблем, но и за наиболее продуктивное совершенствование характеристик каждого конкретного изделия. Своим конкурентным преимуществом Технотрон выделяет особую технологию окрашивания автокомплектующих из SMC.
Бренд Tehnotron отвечает за соответствие высоким международным стандартам качества, что регулярно подтверждается обновляемым перечнем сертификатов и независимым органом оценки United Registrar of Systems Ltd. (URS Certification), благодаря контролю сырья, материалов и входящих комплектующих. Производственный потенциал в концерне позволяют конструировать и собирать все элементы самостоятельно в Набережных Челнах, не привлекая сторонние организации.
В настоящее время Технотрон в основном ориентированы на активное сотрудничество с такими автомобильными марками как ПАО «КАМАЗ», ОАО «МАЗ», «Группа ГАЗ», DAIMLER KAMAZ RUS и АЗ «УРАЛ». Компания стремится выйти на стабильный рост объемов производства, освоить также и региональные рынки и консолидировать автопромышленность.
Ассортимент:
- Система охлаждения
- Система питания
- Оперение кабины (экстерьер а/м 5490)
- Принадлежности кабины
- Элементы подвески
- Тягово-сцепные устройства
- Электрика
- Седельно-сцепные устройства
- Троллейный шинопровод и многое другое
На складах : 580 шт.

История БелОМО берет свое начало с создания в 1957 году Минского механического завода им. С. И. Вавилова (первая продукция - фотоаппараты и станки для обработки оптики). В связи с расширением объемов и номенклатуры выпускаемых изделий, в 1971 году на базе Минского механического завода им. С.И. Вавилова было создано БелОМО. БелОМО занимало лидирующее положение в оптической отрасли СССР и решало задачи по созданию и производству изделий специального назначения и гражданской тематики. Заводы, входящие в объединение, специализировались на определенных видах изделий: ММЗ им. С. И. Вавилова - особо сложная оптико-механическая и оптико-электронная аппаратура (космические, топографические, спектрозональные, фотограмметрические системы и комплексы; кинотеодолитная техника; бронетанковые, гиростабилизированные прицелы, приборы лазерного наведения; промышленные передвижные и стационарные киноустановки). В 90-х годах в составе БелОМО были созданы унитарное предприятие ЛЭМТ , специализирующееся на разработке и изготовлении лазерных изделий и изделий для медицины; совместное белоруско - немецкое предприятие «ЦЕЙСС-БелОМО» , изготавливающее высокоточные оптические изделия; совместное белоруско – итальянское предприятие СП «БелОМО-КОЕМАР», изготавливающее осветительную технику, организован ряд обособленных предприятий: завод СФЕРА , изготавливающий оптические детали, и завод ФОРМА , изготавливающий литейные и штамповые формы. За время своего существования деятельность БелОМО неоднократно удостаивалось наград и дипломов. БелОМО награждено орденом Трудового Красного Знамени, 228 рабочих, специалистов и служащих награждено медалями и орденами СССР, 28 специалистам присвоены звания лауреатов Государственных премий БССР и СССР, 2 лауреата Ленинских премий , 3 работника удостоены звания Героя Социалистического труда. В копилке БелОМО имеются приз и диплом «Золотой глобус» - за выдающийся вклад в развитие экономики страны и интеграцию в мировую экономику, приз и диплом «Бермингемский факел» - за успехи в выживании и развитии в сложных условиях, другие призы. Наибольший удельный вес в продукции головного предприятия БелОМО – ММЗ им. С.И. Вавилова, в настоящее время составляют узлы для автомобилей, счетчики газа, светильники различного назначения, оптические изделия и различные товары для населения. ММЗ им. С. И. Вавилова имеет сертификаты соответствия системе менеджмента качества и требованиям стандартов СРПП ВТ, ГОСТ Р и СТБ ИСО 9001 – 2001 при производстве, ремонте, гарантийном обслуживании и утилизации ряда видов своей продукции.
На складах : 23 шт.

История БелОМО берет свое начало с создания в 1957 году Минского механического завода им. С. И. Вавилова (первая продукция - фотоаппараты и станки для обработки оптики). В связи с расширением объемов и номенклатуры выпускаемых изделий, в 1971 году на базе Минского механического завода им. С.И. Вавилова было создано БелОМО. БелОМО занимало лидирующее положение в оптической отрасли СССР и решало задачи по созданию и производству изделий специального назначения и гражданской тематики. Заводы, входящие в объединение, специализировались на определенных видах изделий: ММЗ им. С. И. Вавилова - особо сложная оптико-механическая и оптико-электронная аппаратура (космические, топографические, спектрозональные, фотограмметрические системы и комплексы; кинотеодолитная техника; бронетанковые, гиростабилизированные прицелы, приборы лазерного наведения; промышленные передвижные и стационарные киноустановки). В 90-х годах в составе БелОМО были созданы унитарное предприятие ЛЭМТ , специализирующееся на разработке и изготовлении лазерных изделий и изделий для медицины; совместное белоруско - немецкое предприятие «ЦЕЙСС-БелОМО» , изготавливающее высокоточные оптические изделия; совместное белоруско – итальянское предприятие СП «БелОМО-КОЕМАР», изготавливающее осветительную технику, организован ряд обособленных предприятий: завод СФЕРА , изготавливающий оптические детали, и завод ФОРМА , изготавливающий литейные и штамповые формы. За время своего существования деятельность БелОМО неоднократно удостаивалось наград и дипломов. БелОМО награждено орденом Трудового Красного Знамени, 228 рабочих, специалистов и служащих награждено медалями и орденами СССР, 28 специалистам присвоены звания лауреатов Государственных премий БССР и СССР, 2 лауреата Ленинских премий , 3 работника удостоены звания Героя Социалистического труда. В копилке БелОМО имеются приз и диплом «Золотой глобус» - за выдающийся вклад в развитие экономики страны и интеграцию в мировую экономику, приз и диплом «Бермингемский факел» - за успехи в выживании и развитии в сложных условиях, другие призы. Наибольший удельный вес в продукции головного предприятия БелОМО – ММЗ им. С.И. Вавилова, в настоящее время составляют узлы для автомобилей, счетчики газа, светильники различного назначения, оптические изделия и различные товары для населения. ММЗ им. С. И. Вавилова имеет сертификаты соответствия системе менеджмента качества и требованиям стандартов СРПП ВТ, ГОСТ Р и СТБ ИСО 9001 – 2001 при производстве, ремонте, гарантийном обслуживании и утилизации ряда видов своей продукции.

«Рославльский автоагрегатный завод» – крупнейший российский комплекс, специализирующийся на производстве пневматической тормозной аппаратуры. Предприятие активно развивается с момента своего основания в 1958 году. Именно тогда завод начал производство мостов для автобусов ЗИЛ, а через год освоил серийный выпуск запасных частей для автомобилей и начал массовое производство. В настоящее время завод сфокусирован на двух основных направлениях производства. Первым из них является производство аппаратов пневматического тормозного привода (краны, осушители, клапана и т.д.), вторым – выпуск тормозных камер и энергоаккумуляторов.
Завод построен по лицензии WABCO и предоставляет 3 года гарантии на свою продукцию. Текущая площадь завода - 118 тыс.м2. Рославльский автоагрегатный завод экспортирует огромное количество продукции в страны ближнего и дальнего зарубежья, а именно в Германию, Беларусь, Латвию, Польшу, Финляндию, Украину, Литву и другие страны. Влияние климатических условий на продукцию торговой марки «РААЗ» исключено.
Запасные части обладают отличными характеристиками и могут эксплуатироваться при температуре как -45°С, так и +80°С . Аппараты в специальном исполнении ХЛ выдерживают до −60 °С в районах с холодным климатом по ГОСТ 15150-69. ООО «Рославльские тормозные системы» поставляет свою продукцию на конвейеры таких предприятий как КАМАЗ, МАЗ, ГАЗ, УРАЛ, НЕФАЗ, ПАЗ, ПТЗ, МЗКТ и других. АвтоАльянс – официальный дилер завода, рекомендует Вам приобрести необходимые запчасти торговой марки РААЗ на сайте autoopt.ru. Будьте уверены в качестве!
На складах : 58 шт.

«Рославльский автоагрегатный завод» – крупнейший российский комплекс, специализирующийся на производстве пневматической тормозной аппаратуры. Предприятие активно развивается с момента своего основания в 1958 году. Именно тогда завод начал производство мостов для автобусов ЗИЛ, а через год освоил серийный выпуск запасных частей для автомобилей и начал массовое производство. В настоящее время завод сфокусирован на двух основных направлениях производства. Первым из них является производство аппаратов пневматического тормозного привода (краны, осушители, клапана и т.д.), вторым – выпуск тормозных камер и энергоаккумуляторов.
Завод построен по лицензии WABCO и предоставляет 3 года гарантии на свою продукцию. Текущая площадь завода - 118 тыс.м2. Рославльский автоагрегатный завод экспортирует огромное количество продукции в страны ближнего и дальнего зарубежья, а именно в Германию, Беларусь, Латвию, Польшу, Финляндию, Украину, Литву и другие страны. Влияние климатических условий на продукцию торговой марки «РААЗ» исключено.
Запасные части обладают отличными характеристиками и могут эксплуатироваться при температуре как -45°С, так и +80°С . Аппараты в специальном исполнении ХЛ выдерживают до −60 °С в районах с холодным климатом по ГОСТ 15150-69. ООО «Рославльские тормозные системы» поставляет свою продукцию на конвейеры таких предприятий как КАМАЗ, МАЗ, ГАЗ, УРАЛ, НЕФАЗ, ПАЗ, ПТЗ, МЗКТ и других. АвтоАльянс – официальный дилер завода, рекомендует Вам приобрести необходимые запчасти торговой марки РААЗ на сайте autoopt.ru. Будьте уверены в качестве!

«Рославльский автоагрегатный завод» – крупнейший российский комплекс, специализирующийся на производстве пневматической тормозной аппаратуры. Предприятие активно развивается с момента своего основания в 1958 году. Именно тогда завод начал производство мостов для автобусов ЗИЛ, а через год освоил серийный выпуск запасных частей для автомобилей и начал массовое производство. В настоящее время завод сфокусирован на двух основных направлениях производства. Первым из них является производство аппаратов пневматического тормозного привода (краны, осушители, клапана и т.д.), вторым – выпуск тормозных камер и энергоаккумуляторов.
Завод построен по лицензии WABCO и предоставляет 3 года гарантии на свою продукцию. Текущая площадь завода - 118 тыс.м2. Рославльский автоагрегатный завод экспортирует огромное количество продукции в страны ближнего и дальнего зарубежья, а именно в Германию, Беларусь, Латвию, Польшу, Финляндию, Украину, Литву и другие страны. Влияние климатических условий на продукцию торговой марки «РААЗ» исключено.
Запасные части обладают отличными характеристиками и могут эксплуатироваться при температуре как -45°С, так и +80°С . Аппараты в специальном исполнении ХЛ выдерживают до −60 °С в районах с холодным климатом по ГОСТ 15150-69. ООО «Рославльские тормозные системы» поставляет свою продукцию на конвейеры таких предприятий как КАМАЗ, МАЗ, ГАЗ, УРАЛ, НЕФАЗ, ПАЗ, ПТЗ, МЗКТ и других. АвтоАльянс – официальный дилер завода, рекомендует Вам приобрести необходимые запчасти торговой марки РААЗ на сайте autoopt.ru. Будьте уверены в качестве!
На складах : 16 шт.

«Рославльский автоагрегатный завод» – крупнейший российский комплекс, специализирующийся на производстве пневматической тормозной аппаратуры. Предприятие активно развивается с момента своего основания в 1958 году. Именно тогда завод начал производство мостов для автобусов ЗИЛ, а через год освоил серийный выпуск запасных частей для автомобилей и начал массовое производство. В настоящее время завод сфокусирован на двух основных направлениях производства. Первым из них является производство аппаратов пневматического тормозного привода (краны, осушители, клапана и т.д.), вторым – выпуск тормозных камер и энергоаккумуляторов.
Завод построен по лицензии WABCO и предоставляет 3 года гарантии на свою продукцию. Текущая площадь завода - 118 тыс.м2. Рославльский автоагрегатный завод экспортирует огромное количество продукции в страны ближнего и дальнего зарубежья, а именно в Германию, Беларусь, Латвию, Польшу, Финляндию, Украину, Литву и другие страны. Влияние климатических условий на продукцию торговой марки «РААЗ» исключено.
Запасные части обладают отличными характеристиками и могут эксплуатироваться при температуре как -45°С, так и +80°С . Аппараты в специальном исполнении ХЛ выдерживают до −60 °С в районах с холодным климатом по ГОСТ 15150-69. ООО «Рославльские тормозные системы» поставляет свою продукцию на конвейеры таких предприятий как КАМАЗ, МАЗ, ГАЗ, УРАЛ, НЕФАЗ, ПАЗ, ПТЗ, МЗКТ и других. АвтоАльянс – официальный дилер завода, рекомендует Вам приобрести необходимые запчасти торговой марки РААЗ на сайте autoopt.ru. Будьте уверены в качестве!

ОАО «КАМАЗ», как крупнейший производитель грузовых автомобилей в России, занимает лидирующие позиции и на рынке продаж запасных частей к своей технике. Значительное увеличение доли высококачественной фирменной продукции на нём признаётся компанией одним из стратегически важных направлений продуктовой и сбытовой политики. ТФК «КАМАЗ» это эксклюзивный дистрибьютор, которому предоставлено исключительное право на продажу основной продукции ОАО «КАМАЗ» на территории России. Единый производственный комплекс группы организаций ОАО "КАМАЗ" охватывает весь технологический цикл производства грузовых автомобилей - от разработки, изготовления, сборки автотехники и автокомпонентов до сбыта готовой продукции и сервисного сопровождения. Система качества продукции ОАО "КАМАЗ" отвечает требованиям международного стандарта ИСО 9001-2000 и одобрена органом по сертификации систем управления "Русский регистр". Двигатели КАМАЗ-740.60-360, КАМАЗ-740.61-320 и КАМАЗ-740.62-280 соответствуют требованиям международных экологических стандартов "Евро-3". ОАО "КАМАЗ" выпускает широкую гамму грузовой техники: грузовые автомобили (более 30 моделей, свыше 400 комплектаций) ,прицепы, автобусы, двигатели, силовые агрегаты и различный инструмент. "КАМАЗ" традиционно позиционируется на рынке грузовых автомобилей полной массой от 14 до 40 тонн. В последние годы гамма продукции компании значительно расширилась. Освоено производство среднетоннажных автомобилей, модернизированной модели КАМАЗ-5460М ("Стайер"), расширен модельный ряд автомобилей повышенной грузоподъемности. Эти машины не раз доказали свою надежность и уникальную проходимость. Именно поэтому опытные водители, которые занимаются перевозками, отдают предпочтение такой продукции как автомобили КАМАЗ. Техника КАМАЗ работает в любых дорожных и климатических условиях: в районах Крайнего Севера и в тропиках, в зонах пустынь и высокогорья. Есть только одна особенность у этих автомашин - при поломке стоит использовать только те запасные части, которые соответствуют качеству машины. "АвтоАльянс" предлагает именно такие запчасти КАМАЗ. "АвтоАльянс" является официальным дилером по продаже запасных частей и силовых агрегатов ОАО "КАМАЗ". Компания предлагает оригинальные запасные части к автомобилям "КАМАЗ". Главные принципы нашей работы - это всесторонняя поддержка клиентов при формировании заявки на запчасти, а также широчайший ассортимент запчастей производства ОАО "КАМАЗ". В "АвтоАльянс" можно заказывать запчасти от "А" до "Я", от шайбы до агрегата. Экономия нужна везде и во всем, но нельзя экономить на своем верном помощнике. Вся продукция ОАО "КАМАЗ", предлагаемая к продаже, имеет сертификаты качества. Причем это касается не только крупных узлов и агрегатов. От работы множеств мелких деталей так же зависит успешное функционирование всего механизма в целом. Каждый год появляются все более совершенные модели автомобиля КАМАЗ. И "АвтоАльянс" идет в ногу со временем и постоянно расширяет ассортиментный ряд запасных частей на новые КАМАЗы. "АвтоАльянс" в заводском рейтинге дилеров является крупнейшим дилером по запчастям КАМАЗ в Центральном регионе РФ.

ОАО «КАМАЗ», как крупнейший производитель грузовых автомобилей в России, занимает лидирующие позиции и на рынке продаж запасных частей к своей технике. Значительное увеличение доли высококачественной фирменной продукции на нём признаётся компанией одним из стратегически важных направлений продуктовой и сбытовой политики. ТФК «КАМАЗ» это эксклюзивный дистрибьютор, которому предоставлено исключительное право на продажу основной продукции ОАО «КАМАЗ» на территории России. Единый производственный комплекс группы организаций ОАО "КАМАЗ" охватывает весь технологический цикл производства грузовых автомобилей - от разработки, изготовления, сборки автотехники и автокомпонентов до сбыта готовой продукции и сервисного сопровождения. Система качества продукции ОАО "КАМАЗ" отвечает требованиям международного стандарта ИСО 9001-2000 и одобрена органом по сертификации систем управления "Русский регистр". Двигатели КАМАЗ-740.60-360, КАМАЗ-740.61-320 и КАМАЗ-740.62-280 соответствуют требованиям международных экологических стандартов "Евро-3". ОАО "КАМАЗ" выпускает широкую гамму грузовой техники: грузовые автомобили (более 30 моделей, свыше 400 комплектаций) ,прицепы, автобусы, двигатели, силовые агрегаты и различный инструмент. "КАМАЗ" традиционно позиционируется на рынке грузовых автомобилей полной массой от 14 до 40 тонн. В последние годы гамма продукции компании значительно расширилась. Освоено производство среднетоннажных автомобилей, модернизированной модели КАМАЗ-5460М ("Стайер"), расширен модельный ряд автомобилей повышенной грузоподъемности. Эти машины не раз доказали свою надежность и уникальную проходимость. Именно поэтому опытные водители, которые занимаются перевозками, отдают предпочтение такой продукции как автомобили КАМАЗ. Техника КАМАЗ работает в любых дорожных и климатических условиях: в районах Крайнего Севера и в тропиках, в зонах пустынь и высокогорья. Есть только одна особенность у этих автомашин - при поломке стоит использовать только те запасные части, которые соответствуют качеству машины. "АвтоАльянс" предлагает именно такие запчасти КАМАЗ. "АвтоАльянс" является официальным дилером по продаже запасных частей и силовых агрегатов ОАО "КАМАЗ". Компания предлагает оригинальные запасные части к автомобилям "КАМАЗ". Главные принципы нашей работы - это всесторонняя поддержка клиентов при формировании заявки на запчасти, а также широчайший ассортимент запчастей производства ОАО "КАМАЗ". В "АвтоАльянс" можно заказывать запчасти от "А" до "Я", от шайбы до агрегата. Экономия нужна везде и во всем, но нельзя экономить на своем верном помощнике. Вся продукция ОАО "КАМАЗ", предлагаемая к продаже, имеет сертификаты качества. Причем это касается не только крупных узлов и агрегатов. От работы множеств мелких деталей так же зависит успешное функционирование всего механизма в целом. Каждый год появляются все более совершенные модели автомобиля КАМАЗ. И "АвтоАльянс" идет в ногу со временем и постоянно расширяет ассортиментный ряд запасных частей на новые КАМАЗы. "АвтоАльянс" в заводском рейтинге дилеров является крупнейшим дилером по запчастям КАМАЗ в Центральном регионе РФ.

Сегодня SORL представлен в Азии, Австралии, Европе, Северной и Южной Америке. SORL - один из лидеров по производству тормозных механизмов, пневматической аппаратуры и компонентов для грузовых автомобилей, признанный во всем мире. SORL является конвейерным поставщиком для ведущих отечественных автомобильных заводов: KAMAZ, ГАЗ, МАЗ; производителей прицепов: Nordtank, Политранс, Сеспель, Grunwald и еще порядка 20 заводов. Весь производственный процесс реализован на современных роботизированных заводах. На всех 11-х производствах автоматизированное оборудование контролируется внедренной системой контроля качества на основе машинного 3D-зрения.
Вся продукция SORL сертифицирована в соответствии с международными и российскими стандартами качества.
Комплектующие SORL - это выбор крупнейших поставщиков запасных частей и комплектующих:
- Качество оригинальной детали по разумной цене
- Высокий ресурс деталей и полное соответствие OEM чертежам
- Расширенная гарантия (до 24 месяцев) без ограничений по пробегу
- Широкий ассортимент компонентов: более 500 наименований на складах в РФ и более 8 тысяч - под заказ из Китая
- Минимальный процент брака с количеством частей на миллион (PPM) менее 50
Продукция SORL всегда в наличии на складах АвтоАльянса.
На складах : 16 шт.

Сегодня SORL представлен в Азии, Австралии, Европе, Северной и Южной Америке. SORL - один из лидеров по производству тормозных механизмов, пневматической аппаратуры и компонентов для грузовых автомобилей, признанный во всем мире. SORL является конвейерным поставщиком для ведущих отечественных автомобильных заводов: KAMAZ, ГАЗ, МАЗ; производителей прицепов: Nordtank, Политранс, Сеспель, Grunwald и еще порядка 20 заводов. Весь производственный процесс реализован на современных роботизированных заводах. На всех 11-х производствах автоматизированное оборудование контролируется внедренной системой контроля качества на основе машинного 3D-зрения.
Вся продукция SORL сертифицирована в соответствии с международными и российскими стандартами качества.
Комплектующие SORL - это выбор крупнейших поставщиков запасных частей и комплектующих:
- Качество оригинальной детали по разумной цене
- Высокий ресурс деталей и полное соответствие OEM чертежам
- Расширенная гарантия (до 24 месяцев) без ограничений по пробегу
- Широкий ассортимент компонентов: более 500 наименований на складах в РФ и более 8 тысяч - под заказ из Китая
- Минимальный процент брака с количеством частей на миллион (PPM) менее 50
Продукция SORL всегда в наличии на складах АвтоАльянса.

Сегодня SORL представлен в Азии, Австралии, Европе, Северной и Южной Америке. SORL - один из лидеров по производству тормозных механизмов, пневматической аппаратуры и компонентов для грузовых автомобилей, признанный во всем мире. SORL является конвейерным поставщиком для ведущих отечественных автомобильных заводов: KAMAZ, ГАЗ, МАЗ; производителей прицепов: Nordtank, Политранс, Сеспель, Grunwald и еще порядка 20 заводов. Весь производственный процесс реализован на современных роботизированных заводах. На всех 11-х производствах автоматизированное оборудование контролируется внедренной системой контроля качества на основе машинного 3D-зрения.
Вся продукция SORL сертифицирована в соответствии с международными и российскими стандартами качества.
Комплектующие SORL - это выбор крупнейших поставщиков запасных частей и комплектующих:
- Качество оригинальной детали по разумной цене
- Высокий ресурс деталей и полное соответствие OEM чертежам
- Расширенная гарантия (до 24 месяцев) без ограничений по пробегу
- Широкий ассортимент компонентов: более 500 наименований на складах в РФ и более 8 тысяч - под заказ из Китая
- Минимальный процент брака с количеством частей на миллион (PPM) менее 50
Продукция SORL всегда в наличии на складах АвтоАльянса.
На складах : 19 шт.

Сегодня SORL представлен в Азии, Австралии, Европе, Северной и Южной Америке. SORL - один из лидеров по производству тормозных механизмов, пневматической аппаратуры и компонентов для грузовых автомобилей, признанный во всем мире. SORL является конвейерным поставщиком для ведущих отечественных автомобильных заводов: KAMAZ, ГАЗ, МАЗ; производителей прицепов: Nordtank, Политранс, Сеспель, Grunwald и еще порядка 20 заводов. Весь производственный процесс реализован на современных роботизированных заводах. На всех 11-х производствах автоматизированное оборудование контролируется внедренной системой контроля качества на основе машинного 3D-зрения.
Вся продукция SORL сертифицирована в соответствии с международными и российскими стандартами качества.
Комплектующие SORL - это выбор крупнейших поставщиков запасных частей и комплектующих:
- Качество оригинальной детали по разумной цене
- Высокий ресурс деталей и полное соответствие OEM чертежам
- Расширенная гарантия (до 24 месяцев) без ограничений по пробегу
- Широкий ассортимент компонентов: более 500 наименований на складах в РФ и более 8 тысяч - под заказ из Китая
- Минимальный процент брака с количеством частей на миллион (PPM) менее 50
Продукция SORL всегда в наличии на складах АвтоАльянса.

MEGAPOWER Automotive – бренд с почти 30-летней историей.
История производства автомобильных компонентов MEGAPOWER Automotive началась в 1995 году. Бренд MEGAPOWER Automotive стал одним из первых на рынке, кто предложил автомобилистам светодиодные лампы в качестве достойной и технологичной альтернативы традиционным лампочкам накаливания. На протяжении второй половины 90-х и начала 2000х годов к ассортименту выпускаемой MEGAPOWER продукции добавились компрессоры для шин, безотказно работающие при любой погоде и обстоятельствах, щетки стеклоочистителя для широкой гаммы легковых и грузовых автомобилей, гидравлические домкраты грузоподъемностью до 50-ти тонн, надежные буксировочные тросы, зарядные устройства, стяжки груза и многое другое.
Важная особенность MEGAPOWER Automotive – поступательное развитие и внимание к деталям. Сочетание высоких технических характеристик, практичность и разумные цены сделали продукцию MEGAPOWER крайне востребованной как опытными водителями, так и сотрудниками сервисных центров.
В начале 2010-х MEGAPOWER Automotive перешел к новому этапу своего развития. Существенно расширился ассортименти и параллельно был запущен проект по выходу на смежный рынок автомобильных запчастей. С этого момента компания разделила 2 своих направления: автотовары, светотехнику и аксессуары продолжили выпускать с исходным красным логотипом, а для автомобильных запчастей была разработана обновленная стилистика оформления, упаковки и черно-голубой логотип.
Абсолютно все запасные части MEGAPOWER Automotive перед тем как попасть к конечному потребителю проверяются на 4х независимых этапах: проверка качества сырья перед началом производственного цикла, постоянный контроль всех параметров технологического процесса, осмотр и контроль изготовленных деталей перед упаковкой, выборочные испытания деталей из каждой партии на специализированных стендах. Запчасти MEGAPOWER имеют расширенную гарантию до 2 лет.
Основу предложения запасных частей MEGAPOWER Automotive составили высококачественные детали для грузовиков, малотоннажного транспорта, а с 2022 года и легковых автомобилей. Сегодня бренд выпускает запчасти двигателя и трансмиссии, подвески и ходовой части, тормозной и рулевой систем, электрооборудование и многое другое.
Продолжая свое развитие, MEGAPOWER Automotive совершенствует технологии, расширяет ассортимент, активно взаимодействует с потребителями продукции, улучшая текущие товары и разрабатывая новые.
Преимущества бренда:
- постоянное расширение ассортимента;
- двухлетняя гарантия качества продукции (1 год на турбокомпрессоры и автотовары);
- более 3500 позиций для грузовых и легковых автомобилей;
- крупносерийное производство;
- квалифицированные специалисты в области инженерных разработок;
На складах : 212 шт.

MEGAPOWER Automotive – бренд с почти 30-летней историей.
История производства автомобильных компонентов MEGAPOWER Automotive началась в 1995 году. Бренд MEGAPOWER Automotive стал одним из первых на рынке, кто предложил автомобилистам светодиодные лампы в качестве достойной и технологичной альтернативы традиционным лампочкам накаливания. На протяжении второй половины 90-х и начала 2000х годов к ассортименту выпускаемой MEGAPOWER продукции добавились компрессоры для шин, безотказно работающие при любой погоде и обстоятельствах, щетки стеклоочистителя для широкой гаммы легковых и грузовых автомобилей, гидравлические домкраты грузоподъемностью до 50-ти тонн, надежные буксировочные тросы, зарядные устройства, стяжки груза и многое другое.
Важная особенность MEGAPOWER Automotive – поступательное развитие и внимание к деталям. Сочетание высоких технических характеристик, практичность и разумные цены сделали продукцию MEGAPOWER крайне востребованной как опытными водителями, так и сотрудниками сервисных центров.
В начале 2010-х MEGAPOWER Automotive перешел к новому этапу своего развития. Существенно расширился ассортименти и параллельно был запущен проект по выходу на смежный рынок автомобильных запчастей. С этого момента компания разделила 2 своих направления: автотовары, светотехнику и аксессуары продолжили выпускать с исходным красным логотипом, а для автомобильных запчастей была разработана обновленная стилистика оформления, упаковки и черно-голубой логотип.
Абсолютно все запасные части MEGAPOWER Automotive перед тем как попасть к конечному потребителю проверяются на 4х независимых этапах: проверка качества сырья перед началом производственного цикла, постоянный контроль всех параметров технологического процесса, осмотр и контроль изготовленных деталей перед упаковкой, выборочные испытания деталей из каждой партии на специализированных стендах. Запчасти MEGAPOWER имеют расширенную гарантию до 2 лет.
Основу предложения запасных частей MEGAPOWER Automotive составили высококачественные детали для грузовиков, малотоннажного транспорта, а с 2022 года и легковых автомобилей. Сегодня бренд выпускает запчасти двигателя и трансмиссии, подвески и ходовой части, тормозной и рулевой систем, электрооборудование и многое другое.
Продолжая свое развитие, MEGAPOWER Automotive совершенствует технологии, расширяет ассортимент, активно взаимодействует с потребителями продукции, улучшая текущие товары и разрабатывая новые.
Преимущества бренда:
- постоянное расширение ассортимента;
- двухлетняя гарантия качества продукции (1 год на турбокомпрессоры и автотовары);
- более 3500 позиций для грузовых и легковых автомобилей;
- крупносерийное производство;
- квалифицированные специалисты в области инженерных разработок;

История бренда АВТОМАГНАТ началась в 1998 году, когда компания ООО «Радиатор» — сегодня один из крупнейших дистрибьюторов автозапчастей в России — запустила производство и поставку запчастей под собственной торговой маркой. Основанием для этого решения стал растущий спрос на качественные и доступные комплектующие для грузового и легкового транспорта, сельхозтехники и спецмашин. За четверть века бренд заслужил репутацию надежного поставщика, сотрудничающего с 62 заводами в России и Китае, включая партнерство с YUHUAN HANGCHAO TRANSMISSION SHAFT CO. LTD.
Сегодня ассортимент АВТОМАГНАТ насчитывает свыше 6000 позиций: от амортизаторов и дисков сцепления до насосов, фильтров, тормозных систем и электрооборудования. Продукция охватывает потребности техники ведущих отечественных марок — ГАЗ, КАМАЗ, УАЗ, МАЗ, МТЗ и других, — а также поставляется в страны СНГ, Восточной Европы и Азии.
Гарантия на российскую продукцию составляет 1-2 года, что свидетельствует о высоком качестве и надежности изделий. География поставок охватывает не только Россию, но и страны СНГ, такие как Беларусь, Казахстан, Азербайджан и Туркменистан, а также страны Восточной Европы и Азии, включая Германию, Латвию, Китай и Индию. Это говорит о широкой международной представленности бренда и его конкурентоспособности на внешних рынках.
Продукция компании АВТОМАГНАТ соответствует строгим требованиям российских стандартов ГОСТ Р и Евразийского экономического союза, что гарантирует её законность и безопасность на рынке. В своей деятельности компания руководствуется международными стандартами менеджмента качества ISO 9001, что свидетельствует о высоком уровне организации производства и контроля качества. АвтоАльянс — надёжный партнёр компании АВТОМАГНАТ. На своём сайте autoopt.tu он предлагает широкий ассортимент автозапчастей как от АВТОМАГНАТ, так и от других производителей, обеспечивая комплексное снабжение автомобильной техники качественными деталями по всей России.
Ассортимент:
- Шланг тормозной
- Крестовина
- Барабан тормозной
- Вал карданный
- Мотор отопителя
- Ступица
- Амортизатор
- Компрессор и др.

История бренда АВТОМАГНАТ началась в 1998 году, когда компания ООО «Радиатор» — сегодня один из крупнейших дистрибьюторов автозапчастей в России — запустила производство и поставку запчастей под собственной торговой маркой. Основанием для этого решения стал растущий спрос на качественные и доступные комплектующие для грузового и легкового транспорта, сельхозтехники и спецмашин. За четверть века бренд заслужил репутацию надежного поставщика, сотрудничающего с 62 заводами в России и Китае, включая партнерство с YUHUAN HANGCHAO TRANSMISSION SHAFT CO. LTD.
Сегодня ассортимент АВТОМАГНАТ насчитывает свыше 6000 позиций: от амортизаторов и дисков сцепления до насосов, фильтров, тормозных систем и электрооборудования. Продукция охватывает потребности техники ведущих отечественных марок — ГАЗ, КАМАЗ, УАЗ, МАЗ, МТЗ и других, — а также поставляется в страны СНГ, Восточной Европы и Азии.
Гарантия на российскую продукцию составляет 1-2 года, что свидетельствует о высоком качестве и надежности изделий. География поставок охватывает не только Россию, но и страны СНГ, такие как Беларусь, Казахстан, Азербайджан и Туркменистан, а также страны Восточной Европы и Азии, включая Германию, Латвию, Китай и Индию. Это говорит о широкой международной представленности бренда и его конкурентоспособности на внешних рынках.
Продукция компании АВТОМАГНАТ соответствует строгим требованиям российских стандартов ГОСТ Р и Евразийского экономического союза, что гарантирует её законность и безопасность на рынке. В своей деятельности компания руководствуется международными стандартами менеджмента качества ISO 9001, что свидетельствует о высоком уровне организации производства и контроля качества. АвтоАльянс — надёжный партнёр компании АВТОМАГНАТ. На своём сайте autoopt.tu он предлагает широкий ассортимент автозапчастей как от АВТОМАГНАТ, так и от других производителей, обеспечивая комплексное снабжение автомобильной техники качественными деталями по всей России.
Ассортимент:
- Шланг тормозной
- Крестовина
- Барабан тормозной
- Вал карданный
- Мотор отопителя
- Ступица
- Амортизатор
- Компрессор и др.

СПЕЦМАШ — имя, ставшее синонимом надежности в сфере спецтехники и комплектующих. С момента основания в 1932 году в Ленинграде компания прошла путь от конструкторского бюро до ведущего производителя энергонасыщенных машин, востребованных в дорожном строительстве, нефтегазовой отрасли и других сферах.
За почти столетие инженеры СПЕЦМАШ разработали более 140 моделей техники, 75 из которых выпущены серийно. В их числе — уникальные гусеничные краны, самоходные установки на базе «Кировца» и другие решения, подтвержденные сотнями патентов и государственных наград.
Сегодня СПЕЦМАШ — это не просто завод, а полноценный инновационный холдинг с собственным КБ, исследовательским центром и испытательной базой. Такая структура позволяет не только создавать технику, но и внедрять прорывные технологии, гарантируя качество и долговечность продукции.
Ответом на современные вызовы стал запуск производства запчастей для грузовиков. Это снизило зависимость от импорта, укрепило контроль качества и расширило ассортимент для рынков России и ЕАЭС. Компания активно сотрудничает со странами СНГ, соблюдая строгие стандарты Таможенного союза.
В планах до 2030 года — цифровая трансформация: внедрение AI, IoT и роботизации. Акцент делается на экологичность и энергоэффективность, что соответствует глобальным трендам. Опытная команда СПЕЦМАШ сочетает техническое мастерство с клиентоориентированностью, предлагая не просто машины, а комплексные решения. Это делает компанию trusted-партнером в транспортном машиностроении.
Ассортимент:
- Ремкомплект трубки тормозной
- Болт-штуцер
- Болт
- Трубка тормозная
- Палец
- Фильтр масляный
- Кольцо
- Трубка топливная
- Ось
- Шланг подкачки колеса
- Втулка
- Замок двери
- Опора

СПЕЦМАШ — имя, ставшее синонимом надежности в сфере спецтехники и комплектующих. С момента основания в 1932 году в Ленинграде компания прошла путь от конструкторского бюро до ведущего производителя энергонасыщенных машин, востребованных в дорожном строительстве, нефтегазовой отрасли и других сферах.
За почти столетие инженеры СПЕЦМАШ разработали более 140 моделей техники, 75 из которых выпущены серийно. В их числе — уникальные гусеничные краны, самоходные установки на базе «Кировца» и другие решения, подтвержденные сотнями патентов и государственных наград.
Сегодня СПЕЦМАШ — это не просто завод, а полноценный инновационный холдинг с собственным КБ, исследовательским центром и испытательной базой. Такая структура позволяет не только создавать технику, но и внедрять прорывные технологии, гарантируя качество и долговечность продукции.
Ответом на современные вызовы стал запуск производства запчастей для грузовиков. Это снизило зависимость от импорта, укрепило контроль качества и расширило ассортимент для рынков России и ЕАЭС. Компания активно сотрудничает со странами СНГ, соблюдая строгие стандарты Таможенного союза.
В планах до 2030 года — цифровая трансформация: внедрение AI, IoT и роботизации. Акцент делается на экологичность и энергоэффективность, что соответствует глобальным трендам. Опытная команда СПЕЦМАШ сочетает техническое мастерство с клиентоориентированностью, предлагая не просто машины, а комплексные решения. Это делает компанию trusted-партнером в транспортном машиностроении.
Ассортимент:
- Ремкомплект трубки тормозной
- Болт-штуцер
- Болт
- Трубка тормозная
- Палец
- Фильтр масляный
- Кольцо
- Трубка топливная
- Ось
- Шланг подкачки колеса
- Втулка
- Замок двери
- Опора

MEGAPOWER Automotive – бренд с почти 30-летней историей.
История производства автомобильных компонентов MEGAPOWER Automotive началась в 1995 году. Бренд MEGAPOWER Automotive стал одним из первых на рынке, кто предложил автомобилистам светодиодные лампы в качестве достойной и технологичной альтернативы традиционным лампочкам накаливания. На протяжении второй половины 90-х и начала 2000х годов к ассортименту выпускаемой MEGAPOWER продукции добавились компрессоры для шин, безотказно работающие при любой погоде и обстоятельствах, щетки стеклоочистителя для широкой гаммы легковых и грузовых автомобилей, гидравлические домкраты грузоподъемностью до 50-ти тонн, надежные буксировочные тросы, зарядные устройства, стяжки груза и многое другое.
Важная особенность MEGAPOWER Automotive – поступательное развитие и внимание к деталям. Сочетание высоких технических характеристик, практичность и разумные цены сделали продукцию MEGAPOWER крайне востребованной как опытными водителями, так и сотрудниками сервисных центров.
В начале 2010-х MEGAPOWER Automotive перешел к новому этапу своего развития. Существенно расширился ассортименти и параллельно был запущен проект по выходу на смежный рынок автомобильных запчастей. С этого момента компания разделила 2 своих направления: автотовары, светотехнику и аксессуары продолжили выпускать с исходным красным логотипом, а для автомобильных запчастей была разработана обновленная стилистика оформления, упаковки и черно-голубой логотип.
Абсолютно все запасные части MEGAPOWER Automotive перед тем как попасть к конечному потребителю проверяются на 4х независимых этапах: проверка качества сырья перед началом производственного цикла, постоянный контроль всех параметров технологического процесса, осмотр и контроль изготовленных деталей перед упаковкой, выборочные испытания деталей из каждой партии на специализированных стендах. Запчасти MEGAPOWER имеют расширенную гарантию до 2 лет.
Основу предложения запасных частей MEGAPOWER Automotive составили высококачественные детали для грузовиков, малотоннажного транспорта, а с 2022 года и легковых автомобилей. Сегодня бренд выпускает запчасти двигателя и трансмиссии, подвески и ходовой части, тормозной и рулевой систем, электрооборудование и многое другое.
Продолжая свое развитие, MEGAPOWER Automotive совершенствует технологии, расширяет ассортимент, активно взаимодействует с потребителями продукции, улучшая текущие товары и разрабатывая новые.
Преимущества бренда:
- постоянное расширение ассортимента;
- двухлетняя гарантия качества продукции (1 год на турбокомпрессоры и автотовары);
- более 3500 позиций для грузовых и легковых автомобилей;
- крупносерийное производство;
- квалифицированные специалисты в области инженерных разработок;
На складах : 68 шт.

MEGAPOWER Automotive – бренд с почти 30-летней историей.
История производства автомобильных компонентов MEGAPOWER Automotive началась в 1995 году. Бренд MEGAPOWER Automotive стал одним из первых на рынке, кто предложил автомобилистам светодиодные лампы в качестве достойной и технологичной альтернативы традиционным лампочкам накаливания. На протяжении второй половины 90-х и начала 2000х годов к ассортименту выпускаемой MEGAPOWER продукции добавились компрессоры для шин, безотказно работающие при любой погоде и обстоятельствах, щетки стеклоочистителя для широкой гаммы легковых и грузовых автомобилей, гидравлические домкраты грузоподъемностью до 50-ти тонн, надежные буксировочные тросы, зарядные устройства, стяжки груза и многое другое.
Важная особенность MEGAPOWER Automotive – поступательное развитие и внимание к деталям. Сочетание высоких технических характеристик, практичность и разумные цены сделали продукцию MEGAPOWER крайне востребованной как опытными водителями, так и сотрудниками сервисных центров.
В начале 2010-х MEGAPOWER Automotive перешел к новому этапу своего развития. Существенно расширился ассортименти и параллельно был запущен проект по выходу на смежный рынок автомобильных запчастей. С этого момента компания разделила 2 своих направления: автотовары, светотехнику и аксессуары продолжили выпускать с исходным красным логотипом, а для автомобильных запчастей была разработана обновленная стилистика оформления, упаковки и черно-голубой логотип.
Абсолютно все запасные части MEGAPOWER Automotive перед тем как попасть к конечному потребителю проверяются на 4х независимых этапах: проверка качества сырья перед началом производственного цикла, постоянный контроль всех параметров технологического процесса, осмотр и контроль изготовленных деталей перед упаковкой, выборочные испытания деталей из каждой партии на специализированных стендах. Запчасти MEGAPOWER имеют расширенную гарантию до 2 лет.
Основу предложения запасных частей MEGAPOWER Automotive составили высококачественные детали для грузовиков, малотоннажного транспорта, а с 2022 года и легковых автомобилей. Сегодня бренд выпускает запчасти двигателя и трансмиссии, подвески и ходовой части, тормозной и рулевой систем, электрооборудование и многое другое.
Продолжая свое развитие, MEGAPOWER Automotive совершенствует технологии, расширяет ассортимент, активно взаимодействует с потребителями продукции, улучшая текущие товары и разрабатывая новые.
Преимущества бренда:
- постоянное расширение ассортимента;
- двухлетняя гарантия качества продукции (1 год на турбокомпрессоры и автотовары);
- более 3500 позиций для грузовых и легковых автомобилей;
- крупносерийное производство;
- квалифицированные специалисты в области инженерных разработок;

MEGAPOWER Automotive – бренд с почти 30-летней историей.
История производства автомобильных компонентов MEGAPOWER Automotive началась в 1995 году. Бренд MEGAPOWER Automotive стал одним из первых на рынке, кто предложил автомобилистам светодиодные лампы в качестве достойной и технологичной альтернативы традиционным лампочкам накаливания. На протяжении второй половины 90-х и начала 2000х годов к ассортименту выпускаемой MEGAPOWER продукции добавились компрессоры для шин, безотказно работающие при любой погоде и обстоятельствах, щетки стеклоочистителя для широкой гаммы легковых и грузовых автомобилей, гидравлические домкраты грузоподъемностью до 50-ти тонн, надежные буксировочные тросы, зарядные устройства, стяжки груза и многое другое.
Важная особенность MEGAPOWER Automotive – поступательное развитие и внимание к деталям. Сочетание высоких технических характеристик, практичность и разумные цены сделали продукцию MEGAPOWER крайне востребованной как опытными водителями, так и сотрудниками сервисных центров.
В начале 2010-х MEGAPOWER Automotive перешел к новому этапу своего развития. Существенно расширился ассортименти и параллельно был запущен проект по выходу на смежный рынок автомобильных запчастей. С этого момента компания разделила 2 своих направления: автотовары, светотехнику и аксессуары продолжили выпускать с исходным красным логотипом, а для автомобильных запчастей была разработана обновленная стилистика оформления, упаковки и черно-голубой логотип.
Абсолютно все запасные части MEGAPOWER Automotive перед тем как попасть к конечному потребителю проверяются на 4х независимых этапах: проверка качества сырья перед началом производственного цикла, постоянный контроль всех параметров технологического процесса, осмотр и контроль изготовленных деталей перед упаковкой, выборочные испытания деталей из каждой партии на специализированных стендах. Запчасти MEGAPOWER имеют расширенную гарантию до 2 лет.
Основу предложения запасных частей MEGAPOWER Automotive составили высококачественные детали для грузовиков, малотоннажного транспорта, а с 2022 года и легковых автомобилей. Сегодня бренд выпускает запчасти двигателя и трансмиссии, подвески и ходовой части, тормозной и рулевой систем, электрооборудование и многое другое.
Продолжая свое развитие, MEGAPOWER Automotive совершенствует технологии, расширяет ассортимент, активно взаимодействует с потребителями продукции, улучшая текущие товары и разрабатывая новые.
Преимущества бренда:
- постоянное расширение ассортимента;
- двухлетняя гарантия качества продукции (1 год на турбокомпрессоры и автотовары);
- более 3500 позиций для грузовых и легковых автомобилей;
- крупносерийное производство;
- квалифицированные специалисты в области инженерных разработок;
На складах : 82 шт.

MEGAPOWER Automotive – бренд с почти 30-летней историей.
История производства автомобильных компонентов MEGAPOWER Automotive началась в 1995 году. Бренд MEGAPOWER Automotive стал одним из первых на рынке, кто предложил автомобилистам светодиодные лампы в качестве достойной и технологичной альтернативы традиционным лампочкам накаливания. На протяжении второй половины 90-х и начала 2000х годов к ассортименту выпускаемой MEGAPOWER продукции добавились компрессоры для шин, безотказно работающие при любой погоде и обстоятельствах, щетки стеклоочистителя для широкой гаммы легковых и грузовых автомобилей, гидравлические домкраты грузоподъемностью до 50-ти тонн, надежные буксировочные тросы, зарядные устройства, стяжки груза и многое другое.
Важная особенность MEGAPOWER Automotive – поступательное развитие и внимание к деталям. Сочетание высоких технических характеристик, практичность и разумные цены сделали продукцию MEGAPOWER крайне востребованной как опытными водителями, так и сотрудниками сервисных центров.
В начале 2010-х MEGAPOWER Automotive перешел к новому этапу своего развития. Существенно расширился ассортименти и параллельно был запущен проект по выходу на смежный рынок автомобильных запчастей. С этого момента компания разделила 2 своих направления: автотовары, светотехнику и аксессуары продолжили выпускать с исходным красным логотипом, а для автомобильных запчастей была разработана обновленная стилистика оформления, упаковки и черно-голубой логотип.
Абсолютно все запасные части MEGAPOWER Automotive перед тем как попасть к конечному потребителю проверяются на 4х независимых этапах: проверка качества сырья перед началом производственного цикла, постоянный контроль всех параметров технологического процесса, осмотр и контроль изготовленных деталей перед упаковкой, выборочные испытания деталей из каждой партии на специализированных стендах. Запчасти MEGAPOWER имеют расширенную гарантию до 2 лет.
Основу предложения запасных частей MEGAPOWER Automotive составили высококачественные детали для грузовиков, малотоннажного транспорта, а с 2022 года и легковых автомобилей. Сегодня бренд выпускает запчасти двигателя и трансмиссии, подвески и ходовой части, тормозной и рулевой систем, электрооборудование и многое другое.
Продолжая свое развитие, MEGAPOWER Automotive совершенствует технологии, расширяет ассортимент, активно взаимодействует с потребителями продукции, улучшая текущие товары и разрабатывая новые.
Преимущества бренда:
- постоянное расширение ассортимента;
- двухлетняя гарантия качества продукции (1 год на турбокомпрессоры и автотовары);
- более 3500 позиций для грузовых и легковых автомобилей;
- крупносерийное производство;
- квалифицированные специалисты в области инженерных разработок;

Компания FENOX начала свой путь в 1989 году, когда на постсоветском пространстве появилась небольшая фирма, выпускавшая гидравлические цилиндры для автомобилей ВАЗ. С тех пор компания прошла долгий путь развития — от узкоспециализированного производителя до международного концерна с современными заводами в Беларуси, России и Германии. В 1996 году FENOX сделала важный шаг, приобретя оборудование немецкой Bremse Hydraulic, что позволило значительно повысить качество продукции и выйти на рынки Европы и Америки. Сегодня FENOX — это более 12 современных производственных площадок и тысячи сотрудников, среди которых сотни инженеров, работающих над инновационными решениями и расширением ассортимента.
Ассортимент продукции FENOX насчитывает более 5000 наименований автокомпонентов, охватывающих все ключевые системы автомобиля. Компания производит детали для тормозных систем, электрических и охлаждающих систем, подвески, трансмиссии и рулевого управления. В числе выпускаемых изделий — амортизаторы, тормозные диски и колодки, гидроцилиндры, генераторы, стартеры, свечи зажигания, рулевые рейки, насосы, муфты сцепления, вентиляторы отопления и охлаждения, а также комплектующие для карданных шарниров и многое другое. Продукция ориентирована на широкий спектр техники: от легковых автомобилей ВАЗ и зарубежных брендов до грузовиков КАМАЗ, МАЗ, ГАЗ и УАЗ.
FENOX известна своей приверженностью качеству и инновациям. Компания обладает собственным конструкторским бюро и испытательным центром, аккредитованным по международным стандартам, что гарантирует надежность и безопасность выпускаемых изделий. Сертификация по ISO 9001 и соответствие требованиям VDA 6.1 позволяют поставлять продукцию не только на вторичный рынок, но и на конвейеры ведущих мировых автопроизводителей, таких как Volkswagen, Renault, General Motors и другие.
Сегодня FENOX экспортирует свою продукцию более чем в 50 стран мира, укрепляя позиции на международном рынке и продолжая расширять ассортимент. В планах компании — дальнейшее внедрение современных технологий, развитие производства и создание новых решений, которые помогут сделать автомобили еще более надежными и безопасными. История FENOX — это пример успешного развития, основанного на качестве, инновациях и стремлении удовлетворять потребности самых требовательных клиентов.
Ассортимент:
- Система охлаждения
- Электрическая система
- Система рулевого управления
- Система подвески
- Система трансмиссии
- Главные тормозные цилиндры
- Датчики ABS
- Лямбда-зонды

Компания FENOX начала свой путь в 1989 году, когда на постсоветском пространстве появилась небольшая фирма, выпускавшая гидравлические цилиндры для автомобилей ВАЗ. С тех пор компания прошла долгий путь развития — от узкоспециализированного производителя до международного концерна с современными заводами в Беларуси, России и Германии. В 1996 году FENOX сделала важный шаг, приобретя оборудование немецкой Bremse Hydraulic, что позволило значительно повысить качество продукции и выйти на рынки Европы и Америки. Сегодня FENOX — это более 12 современных производственных площадок и тысячи сотрудников, среди которых сотни инженеров, работающих над инновационными решениями и расширением ассортимента.
Ассортимент продукции FENOX насчитывает более 5000 наименований автокомпонентов, охватывающих все ключевые системы автомобиля. Компания производит детали для тормозных систем, электрических и охлаждающих систем, подвески, трансмиссии и рулевого управления. В числе выпускаемых изделий — амортизаторы, тормозные диски и колодки, гидроцилиндры, генераторы, стартеры, свечи зажигания, рулевые рейки, насосы, муфты сцепления, вентиляторы отопления и охлаждения, а также комплектующие для карданных шарниров и многое другое. Продукция ориентирована на широкий спектр техники: от легковых автомобилей ВАЗ и зарубежных брендов до грузовиков КАМАЗ, МАЗ, ГАЗ и УАЗ.
FENOX известна своей приверженностью качеству и инновациям. Компания обладает собственным конструкторским бюро и испытательным центром, аккредитованным по международным стандартам, что гарантирует надежность и безопасность выпускаемых изделий. Сертификация по ISO 9001 и соответствие требованиям VDA 6.1 позволяют поставлять продукцию не только на вторичный рынок, но и на конвейеры ведущих мировых автопроизводителей, таких как Volkswagen, Renault, General Motors и другие.
Сегодня FENOX экспортирует свою продукцию более чем в 50 стран мира, укрепляя позиции на международном рынке и продолжая расширять ассортимент. В планах компании — дальнейшее внедрение современных технологий, развитие производства и создание новых решений, которые помогут сделать автомобили еще более надежными и безопасными. История FENOX — это пример успешного развития, основанного на качестве, инновациях и стремлении удовлетворять потребности самых требовательных клиентов.
Ассортимент:
- Система охлаждения
- Электрическая система
- Система рулевого управления
- Система подвески
- Система трансмиссии
- Главные тормозные цилиндры
- Датчики ABS
- Лямбда-зонды

Компания FENOX начала свой путь в 1989 году, когда на постсоветском пространстве появилась небольшая фирма, выпускавшая гидравлические цилиндры для автомобилей ВАЗ. С тех пор компания прошла долгий путь развития — от узкоспециализированного производителя до международного концерна с современными заводами в Беларуси, России и Германии. В 1996 году FENOX сделала важный шаг, приобретя оборудование немецкой Bremse Hydraulic, что позволило значительно повысить качество продукции и выйти на рынки Европы и Америки. Сегодня FENOX — это более 12 современных производственных площадок и тысячи сотрудников, среди которых сотни инженеров, работающих над инновационными решениями и расширением ассортимента.
Ассортимент продукции FENOX насчитывает более 5000 наименований автокомпонентов, охватывающих все ключевые системы автомобиля. Компания производит детали для тормозных систем, электрических и охлаждающих систем, подвески, трансмиссии и рулевого управления. В числе выпускаемых изделий — амортизаторы, тормозные диски и колодки, гидроцилиндры, генераторы, стартеры, свечи зажигания, рулевые рейки, насосы, муфты сцепления, вентиляторы отопления и охлаждения, а также комплектующие для карданных шарниров и многое другое. Продукция ориентирована на широкий спектр техники: от легковых автомобилей ВАЗ и зарубежных брендов до грузовиков КАМАЗ, МАЗ, ГАЗ и УАЗ.
FENOX известна своей приверженностью качеству и инновациям. Компания обладает собственным конструкторским бюро и испытательным центром, аккредитованным по международным стандартам, что гарантирует надежность и безопасность выпускаемых изделий. Сертификация по ISO 9001 и соответствие требованиям VDA 6.1 позволяют поставлять продукцию не только на вторичный рынок, но и на конвейеры ведущих мировых автопроизводителей, таких как Volkswagen, Renault, General Motors и другие.
Сегодня FENOX экспортирует свою продукцию более чем в 50 стран мира, укрепляя позиции на международном рынке и продолжая расширять ассортимент. В планах компании — дальнейшее внедрение современных технологий, развитие производства и создание новых решений, которые помогут сделать автомобили еще более надежными и безопасными. История FENOX — это пример успешного развития, основанного на качестве, инновациях и стремлении удовлетворять потребности самых требовательных клиентов.
Ассортимент:
- Система охлаждения
- Электрическая система
- Система рулевого управления
- Система подвески
- Система трансмиссии
- Главные тормозные цилиндры
- Датчики ABS
- Лямбда-зонды

Компания FENOX начала свой путь в 1989 году, когда на постсоветском пространстве появилась небольшая фирма, выпускавшая гидравлические цилиндры для автомобилей ВАЗ. С тех пор компания прошла долгий путь развития — от узкоспециализированного производителя до международного концерна с современными заводами в Беларуси, России и Германии. В 1996 году FENOX сделала важный шаг, приобретя оборудование немецкой Bremse Hydraulic, что позволило значительно повысить качество продукции и выйти на рынки Европы и Америки. Сегодня FENOX — это более 12 современных производственных площадок и тысячи сотрудников, среди которых сотни инженеров, работающих над инновационными решениями и расширением ассортимента.
Ассортимент продукции FENOX насчитывает более 5000 наименований автокомпонентов, охватывающих все ключевые системы автомобиля. Компания производит детали для тормозных систем, электрических и охлаждающих систем, подвески, трансмиссии и рулевого управления. В числе выпускаемых изделий — амортизаторы, тормозные диски и колодки, гидроцилиндры, генераторы, стартеры, свечи зажигания, рулевые рейки, насосы, муфты сцепления, вентиляторы отопления и охлаждения, а также комплектующие для карданных шарниров и многое другое. Продукция ориентирована на широкий спектр техники: от легковых автомобилей ВАЗ и зарубежных брендов до грузовиков КАМАЗ, МАЗ, ГАЗ и УАЗ.
FENOX известна своей приверженностью качеству и инновациям. Компания обладает собственным конструкторским бюро и испытательным центром, аккредитованным по международным стандартам, что гарантирует надежность и безопасность выпускаемых изделий. Сертификация по ISO 9001 и соответствие требованиям VDA 6.1 позволяют поставлять продукцию не только на вторичный рынок, но и на конвейеры ведущих мировых автопроизводителей, таких как Volkswagen, Renault, General Motors и другие.
Сегодня FENOX экспортирует свою продукцию более чем в 50 стран мира, укрепляя позиции на международном рынке и продолжая расширять ассортимент. В планах компании — дальнейшее внедрение современных технологий, развитие производства и создание новых решений, которые помогут сделать автомобили еще более надежными и безопасными. История FENOX — это пример успешного развития, основанного на качестве, инновациях и стремлении удовлетворять потребности самых требовательных клиентов.
Ассортимент:
- Система охлаждения
- Электрическая система
- Система рулевого управления
- Система подвески
- Система трансмиссии
- Главные тормозные цилиндры
- Датчики ABS
- Лямбда-зонды

СПЕЦМАШ — имя, ставшее синонимом надежности в сфере спецтехники и комплектующих. С момента основания в 1932 году в Ленинграде компания прошла путь от конструкторского бюро до ведущего производителя энергонасыщенных машин, востребованных в дорожном строительстве, нефтегазовой отрасли и других сферах.
За почти столетие инженеры СПЕЦМАШ разработали более 140 моделей техники, 75 из которых выпущены серийно. В их числе — уникальные гусеничные краны, самоходные установки на базе «Кировца» и другие решения, подтвержденные сотнями патентов и государственных наград.
Сегодня СПЕЦМАШ — это не просто завод, а полноценный инновационный холдинг с собственным КБ, исследовательским центром и испытательной базой. Такая структура позволяет не только создавать технику, но и внедрять прорывные технологии, гарантируя качество и долговечность продукции.
Ответом на современные вызовы стал запуск производства запчастей для грузовиков. Это снизило зависимость от импорта, укрепило контроль качества и расширило ассортимент для рынков России и ЕАЭС. Компания активно сотрудничает со странами СНГ, соблюдая строгие стандарты Таможенного союза.
В планах до 2030 года — цифровая трансформация: внедрение AI, IoT и роботизации. Акцент делается на экологичность и энергоэффективность, что соответствует глобальным трендам. Опытная команда СПЕЦМАШ сочетает техническое мастерство с клиентоориентированностью, предлагая не просто машины, а комплексные решения. Это делает компанию trusted-партнером в транспортном машиностроении.
Ассортимент:
- Ремкомплект трубки тормозной
- Болт-штуцер
- Болт
- Трубка тормозная
- Палец
- Фильтр масляный
- Кольцо
- Трубка топливная
- Ось
- Шланг подкачки колеса
- Втулка
- Замок двери
- Опора

СПЕЦМАШ — имя, ставшее синонимом надежности в сфере спецтехники и комплектующих. С момента основания в 1932 году в Ленинграде компания прошла путь от конструкторского бюро до ведущего производителя энергонасыщенных машин, востребованных в дорожном строительстве, нефтегазовой отрасли и других сферах.
За почти столетие инженеры СПЕЦМАШ разработали более 140 моделей техники, 75 из которых выпущены серийно. В их числе — уникальные гусеничные краны, самоходные установки на базе «Кировца» и другие решения, подтвержденные сотнями патентов и государственных наград.
Сегодня СПЕЦМАШ — это не просто завод, а полноценный инновационный холдинг с собственным КБ, исследовательским центром и испытательной базой. Такая структура позволяет не только создавать технику, но и внедрять прорывные технологии, гарантируя качество и долговечность продукции.
Ответом на современные вызовы стал запуск производства запчастей для грузовиков. Это снизило зависимость от импорта, укрепило контроль качества и расширило ассортимент для рынков России и ЕАЭС. Компания активно сотрудничает со странами СНГ, соблюдая строгие стандарты Таможенного союза.
В планах до 2030 года — цифровая трансформация: внедрение AI, IoT и роботизации. Акцент делается на экологичность и энергоэффективность, что соответствует глобальным трендам. Опытная команда СПЕЦМАШ сочетает техническое мастерство с клиентоориентированностью, предлагая не просто машины, а комплексные решения. Это делает компанию trusted-партнером в транспортном машиностроении.
Ассортимент:
- Ремкомплект трубки тормозной
- Болт-штуцер
- Болт
- Трубка тормозная
- Палец
- Фильтр масляный
- Кольцо
- Трубка топливная
- Ось
- Шланг подкачки колеса
- Втулка
- Замок двери
- Опора