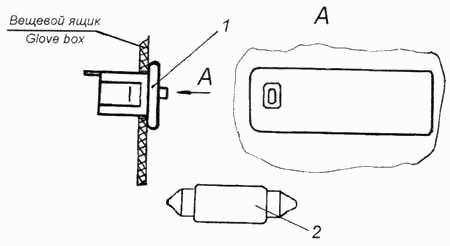
Установка плафона освещения вещевого ящика КамАЗ-4326. Каталог 2003гг.

История бренда ОСВАР берет свое начало в 1967 году, когда советская автомобильная промышленность совершила стремительный рывок вперед. В этот период были построены Волжский автомобильный завод (ВАЗ) и Камский автомобильный завод (КамАЗ), что потребовало создания специализированного производства для обеспечения новых автомобилей надежной светотехникой.
Так в городе Вязники Владимирской области появился завод, которому суждено было стать одним из ключевых поставщиков автосвета в СССР. Уже в 1969 году, еще до официального открытия предприятия, здесь были выпущены первые образцы продукции: подкапотные лампы, розетки и штепсели. А 29 декабря 1975 года завод, получивший название ОСВАР, начал свою работу в полную силу, поставляя продукцию для АВТОВАЗа: прикуриватели, плафоны салона и другие элементы. 1977 год стал знаменательной датой в истории компании ОСВАР. В этот год предприятие первым в стране освоило массовое производство фар с галогенными лампами, что позволило не только удовлетворить растущий спрос на внутреннем рынке, но и выйти на международный уровень. К 1984 году ассортимент ОСВАРа насчитывал более 120 наименований, а его продукция экспортировалась в 20 стран мира. Даже в сложные 1990-е годы компания сохранила свои лидирующие позиции, а в 1998 году вошла в число финалистов конкурса «100 лучших товаров России».
Сегодня ОСВАР является частью Группы ОАТ и остается ведущим производителем автомобильной светотехники в России. Его продукция — более 500 наименований, включая фары, фонари, указатели поворота и светодиодные решения — используется на автомобилях LADA, ГАЗ, КамАЗ, УАЗ и других марок. Предприятие продолжает развиваться, внедряя современные технологии, такие как светодиодное освещение, и укрепляя партнерские связи с зарубежными компаниями, включая словенскую GRAH Automotive. География поставок ОСВАР простирается не только по России, но и за её пределы: в страны Европы и Азии, такие как Испания, Иран, Болгария и Польша. Качество нашей продукции подтверждено международными сертификатами, включая ISO 9001 и соответствие стандартам ЕЭК ООН.
АвтоАльянс – ваш надежный партнер на рынке автозапчастей. В нашем ассортименте представлено более 444 169 наименований, включая фары, двигатели и другие важные детали для грузовых автомобилей, спецтехники и легковых автомобилей европейского, корейского и китайского производства. Мы предлагаем как оптовые, так и розничные цены, а также гарантируем высокое качество товаров, что делает нас предпочтительным выбором для автомагазинов, автопарков и частных клиентов. лучшее, гарантируя высокое качество и соблюдение сроков поставки.
Ассортимент:
- Фонарь заднего хода
- Фара блок
- Рассеиватель
- Фонарь освещения
- Указатель поворота
- Фара прожектор

История бренда ОСВАР берет свое начало в 1967 году, когда советская автомобильная промышленность совершила стремительный рывок вперед. В этот период были построены Волжский автомобильный завод (ВАЗ) и Камский автомобильный завод (КамАЗ), что потребовало создания специализированного производства для обеспечения новых автомобилей надежной светотехникой.
Так в городе Вязники Владимирской области появился завод, которому суждено было стать одним из ключевых поставщиков автосвета в СССР. Уже в 1969 году, еще до официального открытия предприятия, здесь были выпущены первые образцы продукции: подкапотные лампы, розетки и штепсели. А 29 декабря 1975 года завод, получивший название ОСВАР, начал свою работу в полную силу, поставляя продукцию для АВТОВАЗа: прикуриватели, плафоны салона и другие элементы. 1977 год стал знаменательной датой в истории компании ОСВАР. В этот год предприятие первым в стране освоило массовое производство фар с галогенными лампами, что позволило не только удовлетворить растущий спрос на внутреннем рынке, но и выйти на международный уровень. К 1984 году ассортимент ОСВАРа насчитывал более 120 наименований, а его продукция экспортировалась в 20 стран мира. Даже в сложные 1990-е годы компания сохранила свои лидирующие позиции, а в 1998 году вошла в число финалистов конкурса «100 лучших товаров России».
Сегодня ОСВАР является частью Группы ОАТ и остается ведущим производителем автомобильной светотехники в России. Его продукция — более 500 наименований, включая фары, фонари, указатели поворота и светодиодные решения — используется на автомобилях LADA, ГАЗ, КамАЗ, УАЗ и других марок. Предприятие продолжает развиваться, внедряя современные технологии, такие как светодиодное освещение, и укрепляя партнерские связи с зарубежными компаниями, включая словенскую GRAH Automotive. География поставок ОСВАР простирается не только по России, но и за её пределы: в страны Европы и Азии, такие как Испания, Иран, Болгария и Польша. Качество нашей продукции подтверждено международными сертификатами, включая ISO 9001 и соответствие стандартам ЕЭК ООН.
АвтоАльянс – ваш надежный партнер на рынке автозапчастей. В нашем ассортименте представлено более 444 169 наименований, включая фары, двигатели и другие важные детали для грузовых автомобилей, спецтехники и легковых автомобилей европейского, корейского и китайского производства. Мы предлагаем как оптовые, так и розничные цены, а также гарантируем высокое качество товаров, что делает нас предпочтительным выбором для автомагазинов, автопарков и частных клиентов. лучшее, гарантируя высокое качество и соблюдение сроков поставки.
Ассортимент:
- Фонарь заднего хода
- Фара блок
- Рассеиватель
- Фонарь освещения
- Указатель поворота
- Фара прожектор
На складах : 391 шт.
На складах : 549 шт.
На складах : 155 шт.

Компания «NARVA» была основана в Германии в 1948 году как предприятие по производству общего освещения. С первых лет существования компании, ее специалисты стали использовать при изготовлении товаров азот и аргон. Модернизация рабочих процессов привела организацию к выпуску первых галогенных ламп, а позднее, ламп из кварцевого стекла. Через 30 лет с момента основания предприятия, была разработана новая технология – тугоплавкое стекло. А в 1994 «NARVA» вышла на американский рынок, увеличив масштабы и производственные мощности. В 2008 году, когда компании исполнилось 60 лет, она уже прочно закрепила за собой статус эксперта в вопросах автомобильного освещения.
На складах : 177 шт.

Компания «NARVA» была основана в Германии в 1948 году как предприятие по производству общего освещения. С первых лет существования компании, ее специалисты стали использовать при изготовлении товаров азот и аргон. Модернизация рабочих процессов привела организацию к выпуску первых галогенных ламп, а позднее, ламп из кварцевого стекла. Через 30 лет с момента основания предприятия, была разработана новая технология – тугоплавкое стекло. А в 1994 «NARVA» вышла на американский рынок, увеличив масштабы и производственные мощности. В 2008 году, когда компании исполнилось 60 лет, она уже прочно закрепила за собой статус эксперта в вопросах автомобильного освещения.

OSRAM, базирующаяся в Мюнхене, - ведущая мировая компания в области высокотехнологичной фотоники, история которой насчитывает более 110 лет. Продукция компания, в первую очередь ориентированная на полупроводниковые технологии, используется в самых разных приложениях, от виртуальной реальности до автономного вождения, от смартфонов до сетевых интеллектуальных световых решений в зданиях и городах. В области автомобильного освещения компания является мировым лидером рынка и технологий.
Идентичность OSRAM сформирована давними традициями инноваций в области светотехники. Будь то лазерный свет для автомобилей, повышенная безопасность или интеллектуально подключенное освещение.
Благодаря значительным мощностям производственных линий компания может позволить себе выпускать продукцию высшего качества, как на автомобильный конвейер, так и на полки магазинов
Организация определяет свою миссию следующими четырьмя областями: мобильность, безопасность и связь. Помимо этого, OSRAM предоставляет гарантии на собственную автомобильную продукцию и аксессуары.
OSRAM дважды удостаивалась премии Американской академии киноискусств, а так же премии журнала Architectural SSL «Инновационные технологии».
Ассортимент:
- автомобильное освещение
- Компрессоры
- Обслуживание АКБ
- Светодиоды
- Датчики
- Светодиодные двигатели и модули
- Системы управления освещением
- Электронные пускорегулирующие аппараты
- Традиционные и специальные лампы
На складах : 247 шт.

OSRAM, базирующаяся в Мюнхене, - ведущая мировая компания в области высокотехнологичной фотоники, история которой насчитывает более 110 лет. Продукция компания, в первую очередь ориентированная на полупроводниковые технологии, используется в самых разных приложениях, от виртуальной реальности до автономного вождения, от смартфонов до сетевых интеллектуальных световых решений в зданиях и городах. В области автомобильного освещения компания является мировым лидером рынка и технологий.
Идентичность OSRAM сформирована давними традициями инноваций в области светотехники. Будь то лазерный свет для автомобилей, повышенная безопасность или интеллектуально подключенное освещение.
Благодаря значительным мощностям производственных линий компания может позволить себе выпускать продукцию высшего качества, как на автомобильный конвейер, так и на полки магазинов
Организация определяет свою миссию следующими четырьмя областями: мобильность, безопасность и связь. Помимо этого, OSRAM предоставляет гарантии на собственную автомобильную продукцию и аксессуары.
OSRAM дважды удостаивалась премии Американской академии киноискусств, а так же премии журнала Architectural SSL «Инновационные технологии».
Ассортимент:
- автомобильное освещение
- Компрессоры
- Обслуживание АКБ
- Светодиоды
- Датчики
- Светодиодные двигатели и модули
- Системы управления освещением
- Электронные пускорегулирующие аппараты
- Традиционные и специальные лампы

OSRAM, базирующаяся в Мюнхене, - ведущая мировая компания в области высокотехнологичной фотоники, история которой насчитывает более 110 лет. Продукция компания, в первую очередь ориентированная на полупроводниковые технологии, используется в самых разных приложениях, от виртуальной реальности до автономного вождения, от смартфонов до сетевых интеллектуальных световых решений в зданиях и городах. В области автомобильного освещения компания является мировым лидером рынка и технологий.
Идентичность OSRAM сформирована давними традициями инноваций в области светотехники. Будь то лазерный свет для автомобилей, повышенная безопасность или интеллектуально подключенное освещение.
Благодаря значительным мощностям производственных линий компания может позволить себе выпускать продукцию высшего качества, как на автомобильный конвейер, так и на полки магазинов
Организация определяет свою миссию следующими четырьмя областями: мобильность, безопасность и связь. Помимо этого, OSRAM предоставляет гарантии на собственную автомобильную продукцию и аксессуары.
OSRAM дважды удостаивалась премии Американской академии киноискусств, а так же премии журнала Architectural SSL «Инновационные технологии».
Ассортимент:
- автомобильное освещение
- Компрессоры
- Обслуживание АКБ
- Светодиоды
- Датчики
- Светодиодные двигатели и модули
- Системы управления освещением
- Электронные пускорегулирующие аппараты
- Традиционные и специальные лампы
На складах : 347 шт.

OSRAM, базирующаяся в Мюнхене, - ведущая мировая компания в области высокотехнологичной фотоники, история которой насчитывает более 110 лет. Продукция компания, в первую очередь ориентированная на полупроводниковые технологии, используется в самых разных приложениях, от виртуальной реальности до автономного вождения, от смартфонов до сетевых интеллектуальных световых решений в зданиях и городах. В области автомобильного освещения компания является мировым лидером рынка и технологий.
Идентичность OSRAM сформирована давними традициями инноваций в области светотехники. Будь то лазерный свет для автомобилей, повышенная безопасность или интеллектуально подключенное освещение.
Благодаря значительным мощностям производственных линий компания может позволить себе выпускать продукцию высшего качества, как на автомобильный конвейер, так и на полки магазинов
Организация определяет свою миссию следующими четырьмя областями: мобильность, безопасность и связь. Помимо этого, OSRAM предоставляет гарантии на собственную автомобильную продукцию и аксессуары.
OSRAM дважды удостаивалась премии Американской академии киноискусств, а так же премии журнала Architectural SSL «Инновационные технологии».
Ассортимент:
- автомобильное освещение
- Компрессоры
- Обслуживание АКБ
- Светодиоды
- Датчики
- Светодиодные двигатели и модули
- Системы управления освещением
- Электронные пускорегулирующие аппараты
- Традиционные и специальные лампы

Компания «NARVA» была основана в Германии в 1948 году как предприятие по производству общего освещения. С первых лет существования компании, ее специалисты стали использовать при изготовлении товаров азот и аргон. Модернизация рабочих процессов привела организацию к выпуску первых галогенных ламп, а позднее, ламп из кварцевого стекла. Через 30 лет с момента основания предприятия, была разработана новая технология – тугоплавкое стекло. А в 1994 «NARVA» вышла на американский рынок, увеличив масштабы и производственные мощности. В 2008 году, когда компании исполнилось 60 лет, она уже прочно закрепила за собой статус эксперта в вопросах автомобильного освещения.
На складах : 131 шт.

Компания «NARVA» была основана в Германии в 1948 году как предприятие по производству общего освещения. С первых лет существования компании, ее специалисты стали использовать при изготовлении товаров азот и аргон. Модернизация рабочих процессов привела организацию к выпуску первых галогенных ламп, а позднее, ламп из кварцевого стекла. Через 30 лет с момента основания предприятия, была разработана новая технология – тугоплавкое стекло. А в 1994 «NARVA» вышла на американский рынок, увеличив масштабы и производственные мощности. В 2008 году, когда компании исполнилось 60 лет, она уже прочно закрепила за собой статус эксперта в вопросах автомобильного освещения.

OSRAM, базирующаяся в Мюнхене, - ведущая мировая компания в области высокотехнологичной фотоники, история которой насчитывает более 110 лет. Продукция компания, в первую очередь ориентированная на полупроводниковые технологии, используется в самых разных приложениях, от виртуальной реальности до автономного вождения, от смартфонов до сетевых интеллектуальных световых решений в зданиях и городах. В области автомобильного освещения компания является мировым лидером рынка и технологий.
Идентичность OSRAM сформирована давними традициями инноваций в области светотехники. Будь то лазерный свет для автомобилей, повышенная безопасность или интеллектуально подключенное освещение.
Благодаря значительным мощностям производственных линий компания может позволить себе выпускать продукцию высшего качества, как на автомобильный конвейер, так и на полки магазинов
Организация определяет свою миссию следующими четырьмя областями: мобильность, безопасность и связь. Помимо этого, OSRAM предоставляет гарантии на собственную автомобильную продукцию и аксессуары.
OSRAM дважды удостаивалась премии Американской академии киноискусств, а так же премии журнала Architectural SSL «Инновационные технологии».
Ассортимент:
- автомобильное освещение
- Компрессоры
- Обслуживание АКБ
- Светодиоды
- Датчики
- Светодиодные двигатели и модули
- Системы управления освещением
- Электронные пускорегулирующие аппараты
- Традиционные и специальные лампы

OSRAM, базирующаяся в Мюнхене, - ведущая мировая компания в области высокотехнологичной фотоники, история которой насчитывает более 110 лет. Продукция компания, в первую очередь ориентированная на полупроводниковые технологии, используется в самых разных приложениях, от виртуальной реальности до автономного вождения, от смартфонов до сетевых интеллектуальных световых решений в зданиях и городах. В области автомобильного освещения компания является мировым лидером рынка и технологий.
Идентичность OSRAM сформирована давними традициями инноваций в области светотехники. Будь то лазерный свет для автомобилей, повышенная безопасность или интеллектуально подключенное освещение.
Благодаря значительным мощностям производственных линий компания может позволить себе выпускать продукцию высшего качества, как на автомобильный конвейер, так и на полки магазинов
Организация определяет свою миссию следующими четырьмя областями: мобильность, безопасность и связь. Помимо этого, OSRAM предоставляет гарантии на собственную автомобильную продукцию и аксессуары.
OSRAM дважды удостаивалась премии Американской академии киноискусств, а так же премии журнала Architectural SSL «Инновационные технологии».
Ассортимент:
- автомобильное освещение
- Компрессоры
- Обслуживание АКБ
- Светодиоды
- Датчики
- Светодиодные двигатели и модули
- Системы управления освещением
- Электронные пускорегулирующие аппараты
- Традиционные и специальные лампы
На складах : 6652 шт.

Организация megapower начала свой путь с принятия заказов по исследованию и созданию электронных элементов для спутниковых систем навигации. Имея собственные разработки в этой сфере и защищая свое авторское право, megapower удалось стать популярным производителем электронных изделий высокого по международным меркам качества для различных сфер жизни и производства в России и за рубежом. Рынок компонентов для авто активно расширялся и качественно совершенствовался. Это побудило megapower открыть свой следующий филиал - megapower automotive. Вскоре этот бренд стал ответственным за исследование и введение достижений в области автомобилестроения, технологий и идей в данную промышленность. Компания MEGAPOWER Automotive является одной из первых, кто занялся экспериментом разработки в индустрии светодиодов (LED) и начал использовать их как замену традиционным привычным лампам накаливания. Сегодня широко известный бренд megapower является основным производителем на рынке электроники и мегакорпорацией, работающей со странами Европы, США, Канадой, Гонконгом, Кореей и Россией. На территории Германии и Тайваня организация имеет одни из лучших производственных площадок бренда, работает с оборудованием и технологиями высокого класса, что позволяет производить соответствующую продукцию.
- Домкраты
- Пылесосы
- Автолампы
- Светодиоды
- Компрессоры
- Скотч
- Хомуты
- Зарядные устройства
- Щетки
На складах : 120 шт.

Организация megapower начала свой путь с принятия заказов по исследованию и созданию электронных элементов для спутниковых систем навигации. Имея собственные разработки в этой сфере и защищая свое авторское право, megapower удалось стать популярным производителем электронных изделий высокого по международным меркам качества для различных сфер жизни и производства в России и за рубежом. Рынок компонентов для авто активно расширялся и качественно совершенствовался. Это побудило megapower открыть свой следующий филиал - megapower automotive. Вскоре этот бренд стал ответственным за исследование и введение достижений в области автомобилестроения, технологий и идей в данную промышленность. Компания MEGAPOWER Automotive является одной из первых, кто занялся экспериментом разработки в индустрии светодиодов (LED) и начал использовать их как замену традиционным привычным лампам накаливания. Сегодня широко известный бренд megapower является основным производителем на рынке электроники и мегакорпорацией, работающей со странами Европы, США, Канадой, Гонконгом, Кореей и Россией. На территории Германии и Тайваня организация имеет одни из лучших производственных площадок бренда, работает с оборудованием и технологиями высокого класса, что позволяет производить соответствующую продукцию.
- Домкраты
- Пылесосы
- Автолампы
- Светодиоды
- Компрессоры
- Скотч
- Хомуты
- Зарядные устройства
- Щетки

Организация megapower начала свой путь с принятия заказов по исследованию и созданию электронных элементов для спутниковых систем навигации. Имея собственные разработки в этой сфере и защищая свое авторское право, megapower удалось стать популярным производителем электронных изделий высокого по международным меркам качества для различных сфер жизни и производства в России и за рубежом. Рынок компонентов для авто активно расширялся и качественно совершенствовался. Это побудило megapower открыть свой следующий филиал - megapower automotive. Вскоре этот бренд стал ответственным за исследование и введение достижений в области автомобилестроения, технологий и идей в данную промышленность. Компания MEGAPOWER Automotive является одной из первых, кто занялся экспериментом разработки в индустрии светодиодов (LED) и начал использовать их как замену традиционным привычным лампам накаливания. Сегодня широко известный бренд megapower является основным производителем на рынке электроники и мегакорпорацией, работающей со странами Европы, США, Канадой, Гонконгом, Кореей и Россией. На территории Германии и Тайваня организация имеет одни из лучших производственных площадок бренда, работает с оборудованием и технологиями высокого класса, что позволяет производить соответствующую продукцию.
- Домкраты
- Пылесосы
- Автолампы
- Светодиоды
- Компрессоры
- Скотч
- Хомуты
- Зарядные устройства
- Щетки

Организация megapower начала свой путь с принятия заказов по исследованию и созданию электронных элементов для спутниковых систем навигации. Имея собственные разработки в этой сфере и защищая свое авторское право, megapower удалось стать популярным производителем электронных изделий высокого по международным меркам качества для различных сфер жизни и производства в России и за рубежом. Рынок компонентов для авто активно расширялся и качественно совершенствовался. Это побудило megapower открыть свой следующий филиал - megapower automotive. Вскоре этот бренд стал ответственным за исследование и введение достижений в области автомобилестроения, технологий и идей в данную промышленность. Компания MEGAPOWER Automotive является одной из первых, кто занялся экспериментом разработки в индустрии светодиодов (LED) и начал использовать их как замену традиционным привычным лампам накаливания. Сегодня широко известный бренд megapower является основным производителем на рынке электроники и мегакорпорацией, работающей со странами Европы, США, Канадой, Гонконгом, Кореей и Россией. На территории Германии и Тайваня организация имеет одни из лучших производственных площадок бренда, работает с оборудованием и технологиями высокого класса, что позволяет производить соответствующую продукцию.
- Домкраты
- Пылесосы
- Автолампы
- Светодиоды
- Компрессоры
- Скотч
- Хомуты
- Зарядные устройства
- Щетки

Организация megapower начала свой путь с принятия заказов по исследованию и созданию электронных элементов для спутниковых систем навигации. Имея собственные разработки в этой сфере и защищая свое авторское право, megapower удалось стать популярным производителем электронных изделий высокого по международным меркам качества для различных сфер жизни и производства в России и за рубежом. Рынок компонентов для авто активно расширялся и качественно совершенствовался. Это побудило megapower открыть свой следующий филиал - megapower automotive. Вскоре этот бренд стал ответственным за исследование и введение достижений в области автомобилестроения, технологий и идей в данную промышленность. Компания MEGAPOWER Automotive является одной из первых, кто занялся экспериментом разработки в индустрии светодиодов (LED) и начал использовать их как замену традиционным привычным лампам накаливания. Сегодня широко известный бренд megapower является основным производителем на рынке электроники и мегакорпорацией, работающей со странами Европы, США, Канадой, Гонконгом, Кореей и Россией. На территории Германии и Тайваня организация имеет одни из лучших производственных площадок бренда, работает с оборудованием и технологиями высокого класса, что позволяет производить соответствующую продукцию.
- Домкраты
- Пылесосы
- Автолампы
- Светодиоды
- Компрессоры
- Скотч
- Хомуты
- Зарядные устройства
- Щетки

Организация megapower начала свой путь с принятия заказов по исследованию и созданию электронных элементов для спутниковых систем навигации. Имея собственные разработки в этой сфере и защищая свое авторское право, megapower удалось стать популярным производителем электронных изделий высокого по международным меркам качества для различных сфер жизни и производства в России и за рубежом. Рынок компонентов для авто активно расширялся и качественно совершенствовался. Это побудило megapower открыть свой следующий филиал - megapower automotive. Вскоре этот бренд стал ответственным за исследование и введение достижений в области автомобилестроения, технологий и идей в данную промышленность. Компания MEGAPOWER Automotive является одной из первых, кто занялся экспериментом разработки в индустрии светодиодов (LED) и начал использовать их как замену традиционным привычным лампам накаливания. Сегодня широко известный бренд megapower является основным производителем на рынке электроники и мегакорпорацией, работающей со странами Европы, США, Канадой, Гонконгом, Кореей и Россией. На территории Германии и Тайваня организация имеет одни из лучших производственных площадок бренда, работает с оборудованием и технологиями высокого класса, что позволяет производить соответствующую продукцию.
- Домкраты
- Пылесосы
- Автолампы
- Светодиоды
- Компрессоры
- Скотч
- Хомуты
- Зарядные устройства
- Щетки

Организация megapower начала свой путь с принятия заказов по исследованию и созданию электронных элементов для спутниковых систем навигации. Имея собственные разработки в этой сфере и защищая свое авторское право, megapower удалось стать популярным производителем электронных изделий высокого по международным меркам качества для различных сфер жизни и производства в России и за рубежом. Рынок компонентов для авто активно расширялся и качественно совершенствовался. Это побудило megapower открыть свой следующий филиал - megapower automotive. Вскоре этот бренд стал ответственным за исследование и введение достижений в области автомобилестроения, технологий и идей в данную промышленность. Компания MEGAPOWER Automotive является одной из первых, кто занялся экспериментом разработки в индустрии светодиодов (LED) и начал использовать их как замену традиционным привычным лампам накаливания. Сегодня широко известный бренд megapower является основным производителем на рынке электроники и мегакорпорацией, работающей со странами Европы, США, Канадой, Гонконгом, Кореей и Россией. На территории Германии и Тайваня организация имеет одни из лучших производственных площадок бренда, работает с оборудованием и технологиями высокого класса, что позволяет производить соответствующую продукцию.
- Домкраты
- Пылесосы
- Автолампы
- Светодиоды
- Компрессоры
- Скотч
- Хомуты
- Зарядные устройства
- Щетки
На складах : 262 шт.

Организация megapower начала свой путь с принятия заказов по исследованию и созданию электронных элементов для спутниковых систем навигации. Имея собственные разработки в этой сфере и защищая свое авторское право, megapower удалось стать популярным производителем электронных изделий высокого по международным меркам качества для различных сфер жизни и производства в России и за рубежом. Рынок компонентов для авто активно расширялся и качественно совершенствовался. Это побудило megapower открыть свой следующий филиал - megapower automotive. Вскоре этот бренд стал ответственным за исследование и введение достижений в области автомобилестроения, технологий и идей в данную промышленность. Компания MEGAPOWER Automotive является одной из первых, кто занялся экспериментом разработки в индустрии светодиодов (LED) и начал использовать их как замену традиционным привычным лампам накаливания. Сегодня широко известный бренд megapower является основным производителем на рынке электроники и мегакорпорацией, работающей со странами Европы, США, Канадой, Гонконгом, Кореей и Россией. На территории Германии и Тайваня организация имеет одни из лучших производственных площадок бренда, работает с оборудованием и технологиями высокого класса, что позволяет производить соответствующую продукцию.
- Домкраты
- Пылесосы
- Автолампы
- Светодиоды
- Компрессоры
- Скотч
- Хомуты
- Зарядные устройства
- Щетки
На складах : 321 шт.