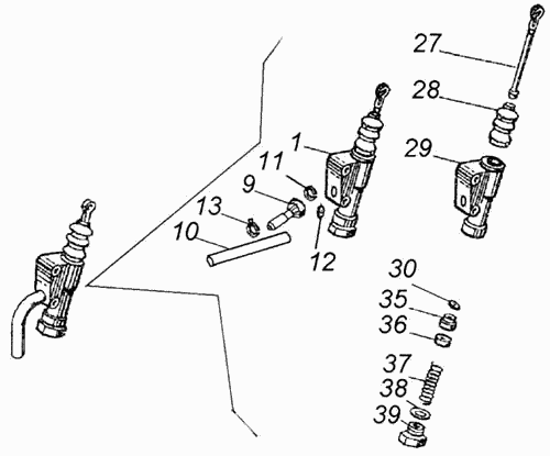
Главный цилиндр управления КамАЗ-4326. Каталог 2003гг.

MEGAPOWER Automotive – бренд с почти 30-летней историей.
История производства автомобильных компонентов MEGAPOWER Automotive началась в 1995 году. Бренд MEGAPOWER Automotive стал одним из первых на рынке, кто предложил автомобилистам светодиодные лампы в качестве достойной и технологичной альтернативы традиционным лампочкам накаливания. На протяжении второй половины 90-х и начала 2000х годов к ассортименту выпускаемой MEGAPOWER продукции добавились компрессоры для шин, безотказно работающие при любой погоде и обстоятельствах, щетки стеклоочистителя для широкой гаммы легковых и грузовых автомобилей, гидравлические домкраты грузоподъемностью до 50-ти тонн, надежные буксировочные тросы, зарядные устройства, стяжки груза и многое другое.
Важная особенность MEGAPOWER Automotive – поступательное развитие и внимание к деталям. Сочетание высоких технических характеристик, практичность и разумные цены сделали продукцию MEGAPOWER крайне востребованной как опытными водителями, так и сотрудниками сервисных центров.
В начале 2010-х MEGAPOWER Automotive перешел к новому этапу своего развития. Существенно расширился ассортименти и параллельно был запущен проект по выходу на смежный рынок автомобильных запчастей. С этого момента компания разделила 2 своих направления: автотовары, светотехнику и аксессуары продолжили выпускать с исходным красным логотипом, а для автомобильных запчастей была разработана обновленная стилистика оформления, упаковки и черно-голубой логотип.
Абсолютно все запасные части MEGAPOWER Automotive перед тем как попасть к конечному потребителю проверяются на 4х независимых этапах: проверка качества сырья перед началом производственного цикла, постоянный контроль всех параметров технологического процесса, осмотр и контроль изготовленных деталей перед упаковкой, выборочные испытания деталей из каждой партии на специализированных стендах. Запчасти MEGAPOWER имеют расширенную гарантию до 2 лет.
Основу предложения запасных частей MEGAPOWER Automotive составили высококачественные детали для грузовиков, малотоннажного транспорта, а с 2022 года и легковых автомобилей. Сегодня бренд выпускает запчасти двигателя и трансмиссии, подвески и ходовой части, тормозной и рулевой систем, электрооборудование и многое другое.
Продолжая свое развитие, MEGAPOWER Automotive совершенствует технологии, расширяет ассортимент, активно взаимодействует с потребителями продукции, улучшая текущие товары и разрабатывая новые.
Преимущества бренда:
- постоянное расширение ассортимента;
- двухлетняя гарантия качества продукции (1 год на турбокомпрессоры и автотовары);
- более 3500 позиций для грузовых и легковых автомобилей;
- крупносерийное производство;
- квалифицированные специалисты в области инженерных разработок;
На складах : 1679 шт.

MEGAPOWER Automotive – бренд с почти 30-летней историей.
История производства автомобильных компонентов MEGAPOWER Automotive началась в 1995 году. Бренд MEGAPOWER Automotive стал одним из первых на рынке, кто предложил автомобилистам светодиодные лампы в качестве достойной и технологичной альтернативы традиционным лампочкам накаливания. На протяжении второй половины 90-х и начала 2000х годов к ассортименту выпускаемой MEGAPOWER продукции добавились компрессоры для шин, безотказно работающие при любой погоде и обстоятельствах, щетки стеклоочистителя для широкой гаммы легковых и грузовых автомобилей, гидравлические домкраты грузоподъемностью до 50-ти тонн, надежные буксировочные тросы, зарядные устройства, стяжки груза и многое другое.
Важная особенность MEGAPOWER Automotive – поступательное развитие и внимание к деталям. Сочетание высоких технических характеристик, практичность и разумные цены сделали продукцию MEGAPOWER крайне востребованной как опытными водителями, так и сотрудниками сервисных центров.
В начале 2010-х MEGAPOWER Automotive перешел к новому этапу своего развития. Существенно расширился ассортименти и параллельно был запущен проект по выходу на смежный рынок автомобильных запчастей. С этого момента компания разделила 2 своих направления: автотовары, светотехнику и аксессуары продолжили выпускать с исходным красным логотипом, а для автомобильных запчастей была разработана обновленная стилистика оформления, упаковки и черно-голубой логотип.
Абсолютно все запасные части MEGAPOWER Automotive перед тем как попасть к конечному потребителю проверяются на 4х независимых этапах: проверка качества сырья перед началом производственного цикла, постоянный контроль всех параметров технологического процесса, осмотр и контроль изготовленных деталей перед упаковкой, выборочные испытания деталей из каждой партии на специализированных стендах. Запчасти MEGAPOWER имеют расширенную гарантию до 2 лет.
Основу предложения запасных частей MEGAPOWER Automotive составили высококачественные детали для грузовиков, малотоннажного транспорта, а с 2022 года и легковых автомобилей. Сегодня бренд выпускает запчасти двигателя и трансмиссии, подвески и ходовой части, тормозной и рулевой систем, электрооборудование и многое другое.
Продолжая свое развитие, MEGAPOWER Automotive совершенствует технологии, расширяет ассортимент, активно взаимодействует с потребителями продукции, улучшая текущие товары и разрабатывая новые.
Преимущества бренда:
- постоянное расширение ассортимента;
- двухлетняя гарантия качества продукции (1 год на турбокомпрессоры и автотовары);
- более 3500 позиций для грузовых и легковых автомобилей;
- крупносерийное производство;
- квалифицированные специалисты в области инженерных разработок;

ОАО «КАМАЗ», как крупнейший производитель грузовых автомобилей в России, занимает лидирующие позиции и на рынке продаж запасных частей к своей технике. Значительное увеличение доли высококачественной фирменной продукции на нём признаётся компанией одним из стратегически важных направлений продуктовой и сбытовой политики. ТФК «КАМАЗ» это эксклюзивный дистрибьютор, которому предоставлено исключительное право на продажу основной продукции ОАО «КАМАЗ» на территории России. Единый производственный комплекс группы организаций ОАО "КАМАЗ" охватывает весь технологический цикл производства грузовых автомобилей - от разработки, изготовления, сборки автотехники и автокомпонентов до сбыта готовой продукции и сервисного сопровождения. Система качества продукции ОАО "КАМАЗ" отвечает требованиям международного стандарта ИСО 9001-2000 и одобрена органом по сертификации систем управления "Русский регистр". Двигатели КАМАЗ-740.60-360, КАМАЗ-740.61-320 и КАМАЗ-740.62-280 соответствуют требованиям международных экологических стандартов "Евро-3". ОАО "КАМАЗ" выпускает широкую гамму грузовой техники: грузовые автомобили (более 30 моделей, свыше 400 комплектаций) ,прицепы, автобусы, двигатели, силовые агрегаты и различный инструмент. "КАМАЗ" традиционно позиционируется на рынке грузовых автомобилей полной массой от 14 до 40 тонн. В последние годы гамма продукции компании значительно расширилась. Освоено производство среднетоннажных автомобилей, модернизированной модели КАМАЗ-5460М ("Стайер"), расширен модельный ряд автомобилей повышенной грузоподъемности. Эти машины не раз доказали свою надежность и уникальную проходимость. Именно поэтому опытные водители, которые занимаются перевозками, отдают предпочтение такой продукции как автомобили КАМАЗ. Техника КАМАЗ работает в любых дорожных и климатических условиях: в районах Крайнего Севера и в тропиках, в зонах пустынь и высокогорья. Есть только одна особенность у этих автомашин - при поломке стоит использовать только те запасные части, которые соответствуют качеству машины. "АвтоАльянс" предлагает именно такие запчасти КАМАЗ. "АвтоАльянс" является официальным дилером по продаже запасных частей и силовых агрегатов ОАО "КАМАЗ". Компания предлагает оригинальные запасные части к автомобилям "КАМАЗ". Главные принципы нашей работы - это всесторонняя поддержка клиентов при формировании заявки на запчасти, а также широчайший ассортимент запчастей производства ОАО "КАМАЗ". В "АвтоАльянс" можно заказывать запчасти от "А" до "Я", от шайбы до агрегата. Экономия нужна везде и во всем, но нельзя экономить на своем верном помощнике. Вся продукция ОАО "КАМАЗ", предлагаемая к продаже, имеет сертификаты качества. Причем это касается не только крупных узлов и агрегатов. От работы множеств мелких деталей так же зависит успешное функционирование всего механизма в целом. Каждый год появляются все более совершенные модели автомобиля КАМАЗ. И "АвтоАльянс" идет в ногу со временем и постоянно расширяет ассортиментный ряд запасных частей на новые КАМАЗы. "АвтоАльянс" в заводском рейтинге дилеров является крупнейшим дилером по запчастям КАМАЗ в Центральном регионе РФ.
На складах : 879 шт.

ОАО «КАМАЗ», как крупнейший производитель грузовых автомобилей в России, занимает лидирующие позиции и на рынке продаж запасных частей к своей технике. Значительное увеличение доли высококачественной фирменной продукции на нём признаётся компанией одним из стратегически важных направлений продуктовой и сбытовой политики. ТФК «КАМАЗ» это эксклюзивный дистрибьютор, которому предоставлено исключительное право на продажу основной продукции ОАО «КАМАЗ» на территории России. Единый производственный комплекс группы организаций ОАО "КАМАЗ" охватывает весь технологический цикл производства грузовых автомобилей - от разработки, изготовления, сборки автотехники и автокомпонентов до сбыта готовой продукции и сервисного сопровождения. Система качества продукции ОАО "КАМАЗ" отвечает требованиям международного стандарта ИСО 9001-2000 и одобрена органом по сертификации систем управления "Русский регистр". Двигатели КАМАЗ-740.60-360, КАМАЗ-740.61-320 и КАМАЗ-740.62-280 соответствуют требованиям международных экологических стандартов "Евро-3". ОАО "КАМАЗ" выпускает широкую гамму грузовой техники: грузовые автомобили (более 30 моделей, свыше 400 комплектаций) ,прицепы, автобусы, двигатели, силовые агрегаты и различный инструмент. "КАМАЗ" традиционно позиционируется на рынке грузовых автомобилей полной массой от 14 до 40 тонн. В последние годы гамма продукции компании значительно расширилась. Освоено производство среднетоннажных автомобилей, модернизированной модели КАМАЗ-5460М ("Стайер"), расширен модельный ряд автомобилей повышенной грузоподъемности. Эти машины не раз доказали свою надежность и уникальную проходимость. Именно поэтому опытные водители, которые занимаются перевозками, отдают предпочтение такой продукции как автомобили КАМАЗ. Техника КАМАЗ работает в любых дорожных и климатических условиях: в районах Крайнего Севера и в тропиках, в зонах пустынь и высокогорья. Есть только одна особенность у этих автомашин - при поломке стоит использовать только те запасные части, которые соответствуют качеству машины. "АвтоАльянс" предлагает именно такие запчасти КАМАЗ. "АвтоАльянс" является официальным дилером по продаже запасных частей и силовых агрегатов ОАО "КАМАЗ". Компания предлагает оригинальные запасные части к автомобилям "КАМАЗ". Главные принципы нашей работы - это всесторонняя поддержка клиентов при формировании заявки на запчасти, а также широчайший ассортимент запчастей производства ОАО "КАМАЗ". В "АвтоАльянс" можно заказывать запчасти от "А" до "Я", от шайбы до агрегата. Экономия нужна везде и во всем, но нельзя экономить на своем верном помощнике. Вся продукция ОАО "КАМАЗ", предлагаемая к продаже, имеет сертификаты качества. Причем это касается не только крупных узлов и агрегатов. От работы множеств мелких деталей так же зависит успешное функционирование всего механизма в целом. Каждый год появляются все более совершенные модели автомобиля КАМАЗ. И "АвтоАльянс" идет в ногу со временем и постоянно расширяет ассортиментный ряд запасных частей на новые КАМАЗы. "АвтоАльянс" в заводском рейтинге дилеров является крупнейшим дилером по запчастям КАМАЗ в Центральном регионе РФ.

ROSTAR — это бренд, ставший синонимом надёжности, технологичности и настоящего промышленного достоинства. Он не просто производит автозапчасти — он создает основу для стабильной и уверенной работы коммерческого транспорта на дорогах России и далеко за её пределами. С 2000 года, с момента своего основания в Набережных Челнах, ROSTAR последовательно и уверенно строит репутацию одного из ведущих российских производителей автокомпонентов для грузовиков, автобусов и прицепной техники.
Сила бренда ROSTAR в балансе между передовыми инженерными разработками и практическим пониманием условий эксплуатации на российских дорогах. Здесь разрабатываются и выпускаются компоненты, которым доверяют перевозчики, логистические компании и ремонтные мастерские. Это бренд, с которым не боятся зимней метели, весенней распутицы и разбитого асфальта: ROSTAR работает там, где другим «тесно» — в суровых, нестабильных условиях, где важна каждая мелочь, каждая сварка, каждый миллиметр в допуске.
Сегодня под маркой ROSTAR выпускается более 1100 наименований продукции. Это штанги V-образные и реактивные, амортизаторы, сайлентблоки, рулевые тяги и наконечники, тормозные колодки, элементы подвески и детали сцепления. Не просто детали, а элементы систем, от которых напрямую зависит безопасность и эффективность грузоперевозок. ROSTAR проектирует свои компоненты с учётом российских реалий: холодов, вибрационных нагрузок, нестабильного дорожного покрытия.
Производственные мощности ROSTAR располагаются в Татарстане, на высокотехнологичном заводе, который не просто повторяет мировые стандарты, а во многом формирует их в отечественной отрасли. Все компоненты проходят многоступенчатый контроль качества и соответствуют техническим требованиям не только российского ГОСТа, но и стандартов европейских производителей. Именно поэтому ROSTAR уже много лет успешно поставляет детали не только для КАМАЗа, но и для Scania, Volvo, MAN, IVECO, ISUZU, DAF, Mercedes-Benz и других мировых брендов.
Отдельное внимание в философии бренда уделено инновациям. ROSTAR активно внедряет запатентованные технические решения, экспериментирует с композитными и полимерными материалами, предлагает рынку новые форматы продукции. И всё это — под знаком стабильности, ответственности и инженерной эволюции.
АвтоАльянс — ваш надёжный партнёр в мире автозапчастей! Мы предлагаем продукцию ROSTAR — надёжные и износостойкие детали для грузовых автомобилей и прицепной техники. В ассортименте — всё, что нужно для уверенной работы транспорта в любых условиях. Работаем по всей России, гарантируя качество и доступные цены.
- Штанги V-образные
- Штанги реактивные
- Рем.комплекты реактивных штанг
- Амортизаторы подвески
- Сайлентблоки
- Тяги рулевые
- Тяги стабилизатора
- Наконечники тяг рулевых
- Колодки барабанного тормоза
- Колодки дискового тормоза
- Стремянки рессоры
- Шкворни ТСУ
- Детали привода управления КПП
- Камеры тормозные, энергоаккумуляторы
- Пневмогидроусилители (ПГУ)
- Рем.комплекты суппорта
- Детали из полимерных композиционных материалов
- Кронштейны подвески
- Рессоры пневматические
- Рычаги тормозные
На складах : 189 шт.

ROSTAR — это бренд, ставший синонимом надёжности, технологичности и настоящего промышленного достоинства. Он не просто производит автозапчасти — он создает основу для стабильной и уверенной работы коммерческого транспорта на дорогах России и далеко за её пределами. С 2000 года, с момента своего основания в Набережных Челнах, ROSTAR последовательно и уверенно строит репутацию одного из ведущих российских производителей автокомпонентов для грузовиков, автобусов и прицепной техники.
Сила бренда ROSTAR в балансе между передовыми инженерными разработками и практическим пониманием условий эксплуатации на российских дорогах. Здесь разрабатываются и выпускаются компоненты, которым доверяют перевозчики, логистические компании и ремонтные мастерские. Это бренд, с которым не боятся зимней метели, весенней распутицы и разбитого асфальта: ROSTAR работает там, где другим «тесно» — в суровых, нестабильных условиях, где важна каждая мелочь, каждая сварка, каждый миллиметр в допуске.
Сегодня под маркой ROSTAR выпускается более 1100 наименований продукции. Это штанги V-образные и реактивные, амортизаторы, сайлентблоки, рулевые тяги и наконечники, тормозные колодки, элементы подвески и детали сцепления. Не просто детали, а элементы систем, от которых напрямую зависит безопасность и эффективность грузоперевозок. ROSTAR проектирует свои компоненты с учётом российских реалий: холодов, вибрационных нагрузок, нестабильного дорожного покрытия.
Производственные мощности ROSTAR располагаются в Татарстане, на высокотехнологичном заводе, который не просто повторяет мировые стандарты, а во многом формирует их в отечественной отрасли. Все компоненты проходят многоступенчатый контроль качества и соответствуют техническим требованиям не только российского ГОСТа, но и стандартов европейских производителей. Именно поэтому ROSTAR уже много лет успешно поставляет детали не только для КАМАЗа, но и для Scania, Volvo, MAN, IVECO, ISUZU, DAF, Mercedes-Benz и других мировых брендов.
Отдельное внимание в философии бренда уделено инновациям. ROSTAR активно внедряет запатентованные технические решения, экспериментирует с композитными и полимерными материалами, предлагает рынку новые форматы продукции. И всё это — под знаком стабильности, ответственности и инженерной эволюции.
АвтоАльянс — ваш надёжный партнёр в мире автозапчастей! Мы предлагаем продукцию ROSTAR — надёжные и износостойкие детали для грузовых автомобилей и прицепной техники. В ассортименте — всё, что нужно для уверенной работы транспорта в любых условиях. Работаем по всей России, гарантируя качество и доступные цены.
- Штанги V-образные
- Штанги реактивные
- Рем.комплекты реактивных штанг
- Амортизаторы подвески
- Сайлентблоки
- Тяги рулевые
- Тяги стабилизатора
- Наконечники тяг рулевых
- Колодки барабанного тормоза
- Колодки дискового тормоза
- Стремянки рессоры
- Шкворни ТСУ
- Детали привода управления КПП
- Камеры тормозные, энергоаккумуляторы
- Пневмогидроусилители (ПГУ)
- Рем.комплекты суппорта
- Детали из полимерных композиционных материалов
- Кронштейны подвески
- Рессоры пневматические
- Рычаги тормозные

MEGAPOWER Automotive – бренд с почти 30-летней историей.
История производства автомобильных компонентов MEGAPOWER Automotive началась в 1995 году. Бренд MEGAPOWER Automotive стал одним из первых на рынке, кто предложил автомобилистам светодиодные лампы в качестве достойной и технологичной альтернативы традиционным лампочкам накаливания. На протяжении второй половины 90-х и начала 2000х годов к ассортименту выпускаемой MEGAPOWER продукции добавились компрессоры для шин, безотказно работающие при любой погоде и обстоятельствах, щетки стеклоочистителя для широкой гаммы легковых и грузовых автомобилей, гидравлические домкраты грузоподъемностью до 50-ти тонн, надежные буксировочные тросы, зарядные устройства, стяжки груза и многое другое.
Важная особенность MEGAPOWER Automotive – поступательное развитие и внимание к деталям. Сочетание высоких технических характеристик, практичность и разумные цены сделали продукцию MEGAPOWER крайне востребованной как опытными водителями, так и сотрудниками сервисных центров.
В начале 2010-х MEGAPOWER Automotive перешел к новому этапу своего развития. Существенно расширился ассортименти и параллельно был запущен проект по выходу на смежный рынок автомобильных запчастей. С этого момента компания разделила 2 своих направления: автотовары, светотехнику и аксессуары продолжили выпускать с исходным красным логотипом, а для автомобильных запчастей была разработана обновленная стилистика оформления, упаковки и черно-голубой логотип.
Абсолютно все запасные части MEGAPOWER Automotive перед тем как попасть к конечному потребителю проверяются на 4х независимых этапах: проверка качества сырья перед началом производственного цикла, постоянный контроль всех параметров технологического процесса, осмотр и контроль изготовленных деталей перед упаковкой, выборочные испытания деталей из каждой партии на специализированных стендах. Запчасти MEGAPOWER имеют расширенную гарантию до 2 лет.
Основу предложения запасных частей MEGAPOWER Automotive составили высококачественные детали для грузовиков, малотоннажного транспорта, а с 2022 года и легковых автомобилей. Сегодня бренд выпускает запчасти двигателя и трансмиссии, подвески и ходовой части, тормозной и рулевой систем, электрооборудование и многое другое.
Продолжая свое развитие, MEGAPOWER Automotive совершенствует технологии, расширяет ассортимент, активно взаимодействует с потребителями продукции, улучшая текущие товары и разрабатывая новые.
Преимущества бренда:
- постоянное расширение ассортимента;
- двухлетняя гарантия качества продукции (1 год на турбокомпрессоры и автотовары);
- более 3500 позиций для грузовых и легковых автомобилей;
- крупносерийное производство;
- квалифицированные специалисты в области инженерных разработок;
На складах : 563 шт.

MEGAPOWER Automotive – бренд с почти 30-летней историей.
История производства автомобильных компонентов MEGAPOWER Automotive началась в 1995 году. Бренд MEGAPOWER Automotive стал одним из первых на рынке, кто предложил автомобилистам светодиодные лампы в качестве достойной и технологичной альтернативы традиционным лампочкам накаливания. На протяжении второй половины 90-х и начала 2000х годов к ассортименту выпускаемой MEGAPOWER продукции добавились компрессоры для шин, безотказно работающие при любой погоде и обстоятельствах, щетки стеклоочистителя для широкой гаммы легковых и грузовых автомобилей, гидравлические домкраты грузоподъемностью до 50-ти тонн, надежные буксировочные тросы, зарядные устройства, стяжки груза и многое другое.
Важная особенность MEGAPOWER Automotive – поступательное развитие и внимание к деталям. Сочетание высоких технических характеристик, практичность и разумные цены сделали продукцию MEGAPOWER крайне востребованной как опытными водителями, так и сотрудниками сервисных центров.
В начале 2010-х MEGAPOWER Automotive перешел к новому этапу своего развития. Существенно расширился ассортименти и параллельно был запущен проект по выходу на смежный рынок автомобильных запчастей. С этого момента компания разделила 2 своих направления: автотовары, светотехнику и аксессуары продолжили выпускать с исходным красным логотипом, а для автомобильных запчастей была разработана обновленная стилистика оформления, упаковки и черно-голубой логотип.
Абсолютно все запасные части MEGAPOWER Automotive перед тем как попасть к конечному потребителю проверяются на 4х независимых этапах: проверка качества сырья перед началом производственного цикла, постоянный контроль всех параметров технологического процесса, осмотр и контроль изготовленных деталей перед упаковкой, выборочные испытания деталей из каждой партии на специализированных стендах. Запчасти MEGAPOWER имеют расширенную гарантию до 2 лет.
Основу предложения запасных частей MEGAPOWER Automotive составили высококачественные детали для грузовиков, малотоннажного транспорта, а с 2022 года и легковых автомобилей. Сегодня бренд выпускает запчасти двигателя и трансмиссии, подвески и ходовой части, тормозной и рулевой систем, электрооборудование и многое другое.
Продолжая свое развитие, MEGAPOWER Automotive совершенствует технологии, расширяет ассортимент, активно взаимодействует с потребителями продукции, улучшая текущие товары и разрабатывая новые.
Преимущества бренда:
- постоянное расширение ассортимента;
- двухлетняя гарантия качества продукции (1 год на турбокомпрессоры и автотовары);
- более 3500 позиций для грузовых и легковых автомобилей;
- крупносерийное производство;
- квалифицированные специалисты в области инженерных разработок;

Компания FENOX начала свой путь в 1989 году, когда на постсоветском пространстве появилась небольшая фирма, выпускавшая гидравлические цилиндры для автомобилей ВАЗ. С тех пор компания прошла долгий путь развития — от узкоспециализированного производителя до международного концерна с современными заводами в Беларуси, России и Германии. В 1996 году FENOX сделала важный шаг, приобретя оборудование немецкой Bremse Hydraulic, что позволило значительно повысить качество продукции и выйти на рынки Европы и Америки. Сегодня FENOX — это более 12 современных производственных площадок и тысячи сотрудников, среди которых сотни инженеров, работающих над инновационными решениями и расширением ассортимента.
Ассортимент продукции FENOX насчитывает более 5000 наименований автокомпонентов, охватывающих все ключевые системы автомобиля. Компания производит детали для тормозных систем, электрических и охлаждающих систем, подвески, трансмиссии и рулевого управления. В числе выпускаемых изделий — амортизаторы, тормозные диски и колодки, гидроцилиндры, генераторы, стартеры, свечи зажигания, рулевые рейки, насосы, муфты сцепления, вентиляторы отопления и охлаждения, а также комплектующие для карданных шарниров и многое другое. Продукция ориентирована на широкий спектр техники: от легковых автомобилей ВАЗ и зарубежных брендов до грузовиков КАМАЗ, МАЗ, ГАЗ и УАЗ.
FENOX известна своей приверженностью качеству и инновациям. Компания обладает собственным конструкторским бюро и испытательным центром, аккредитованным по международным стандартам, что гарантирует надежность и безопасность выпускаемых изделий. Сертификация по ISO 9001 и соответствие требованиям VDA 6.1 позволяют поставлять продукцию не только на вторичный рынок, но и на конвейеры ведущих мировых автопроизводителей, таких как Volkswagen, Renault, General Motors и другие.
Сегодня FENOX экспортирует свою продукцию более чем в 50 стран мира, укрепляя позиции на международном рынке и продолжая расширять ассортимент. В планах компании — дальнейшее внедрение современных технологий, развитие производства и создание новых решений, которые помогут сделать автомобили еще более надежными и безопасными. История FENOX — это пример успешного развития, основанного на качестве, инновациях и стремлении удовлетворять потребности самых требовательных клиентов.
Ассортимент:
- Система охлаждения
- Электрическая система
- Система рулевого управления
- Система подвески
- Система трансмиссии
- Главные тормозные цилиндры
- Датчики ABS
- Лямбда-зонды

Компания FENOX начала свой путь в 1989 году, когда на постсоветском пространстве появилась небольшая фирма, выпускавшая гидравлические цилиндры для автомобилей ВАЗ. С тех пор компания прошла долгий путь развития — от узкоспециализированного производителя до международного концерна с современными заводами в Беларуси, России и Германии. В 1996 году FENOX сделала важный шаг, приобретя оборудование немецкой Bremse Hydraulic, что позволило значительно повысить качество продукции и выйти на рынки Европы и Америки. Сегодня FENOX — это более 12 современных производственных площадок и тысячи сотрудников, среди которых сотни инженеров, работающих над инновационными решениями и расширением ассортимента.
Ассортимент продукции FENOX насчитывает более 5000 наименований автокомпонентов, охватывающих все ключевые системы автомобиля. Компания производит детали для тормозных систем, электрических и охлаждающих систем, подвески, трансмиссии и рулевого управления. В числе выпускаемых изделий — амортизаторы, тормозные диски и колодки, гидроцилиндры, генераторы, стартеры, свечи зажигания, рулевые рейки, насосы, муфты сцепления, вентиляторы отопления и охлаждения, а также комплектующие для карданных шарниров и многое другое. Продукция ориентирована на широкий спектр техники: от легковых автомобилей ВАЗ и зарубежных брендов до грузовиков КАМАЗ, МАЗ, ГАЗ и УАЗ.
FENOX известна своей приверженностью качеству и инновациям. Компания обладает собственным конструкторским бюро и испытательным центром, аккредитованным по международным стандартам, что гарантирует надежность и безопасность выпускаемых изделий. Сертификация по ISO 9001 и соответствие требованиям VDA 6.1 позволяют поставлять продукцию не только на вторичный рынок, но и на конвейеры ведущих мировых автопроизводителей, таких как Volkswagen, Renault, General Motors и другие.
Сегодня FENOX экспортирует свою продукцию более чем в 50 стран мира, укрепляя позиции на международном рынке и продолжая расширять ассортимент. В планах компании — дальнейшее внедрение современных технологий, развитие производства и создание новых решений, которые помогут сделать автомобили еще более надежными и безопасными. История FENOX — это пример успешного развития, основанного на качестве, инновациях и стремлении удовлетворять потребности самых требовательных клиентов.
Ассортимент:
- Система охлаждения
- Электрическая система
- Система рулевого управления
- Система подвески
- Система трансмиссии
- Главные тормозные цилиндры
- Датчики ABS
- Лямбда-зонды

Trialli — это бренд автомобильных автозапчастей с интересной историей. Он зародился в 1995 году в Италии, когда шесть независимых OEM‐поставщиков автокомпонентов, работающих на FIAT Group, объединились под маркой «Trìplice Alleanza».
Цель заключалась в объединении производств и формирования собственной сети дистрибуции. На раннем этапе в альянс входили исключительно итальянские предприятия, но со временем география расширилась: к ним добавились компании из других стран.
В 2012 году Carville стал правообладателем бренда Trialli на всех рынках СНГ, и бренд окончательно трансформировался в полностью российскую торговую марку.
Ассортимент продукции Trialli охватывает широкий спектр автокомпонентов для легковых и грузовых автомобилей. Выпускаются детали тормозных систем, трансмиссии, рулевого управления, а также подшипники, прокладки и резинометаллические изделия. Два уровня качества — Linea Qualita и Linea Superiore — делают компленктующие доступными как для массового потребителя, так и для тех, кто ищет более премиальные решение. В каталоге представлены амортизаторы, тормозные диски и барабаны, суппорты, сцепления и карданные крестовины, а также ремни ГРМ, фильтры, шаровые опоры, втулки и подшипники.
У бренда Trialli есть инженерно-маркетинговая база в России: собственные лаборатории контроля и склады в Москве, Санкт-Петербурге и Екатеринбурге, что обеспечивает качественное тестирование продукции до и после производства. Также бренд активно взаимодействует с клиентами через круглые столы и специальные мероприятия, создавая обратную связь и повышая доверие.
В 2023 году Trialli стал титульным спонсором команды Carville Racing, участвующей в чемпионатах RDS. Их детали тормозной системы проходили испытания на гоночных автомобилях, что подтвердило высокую надёжность даже в экстремальных условиях.
Trialli — это бренд, который вырос из европейского объединения, но сегодня представлен как проработанная инженерно-маркетинговая марка с широкой распределённой сетью, надёжным качеством и обещаниями, которые подкреплены гарантиями и партнёрскими инициативами. Продукция ориентирована на спрос локального рынка, но при этом остаётся конкурентоспособной по цене и качеству.
АвтоАльянс — ваш надёжный партнёр в мире автозапчастей! Мы поставляем продукцию Trialli напрямую от официального дистрибьютора, гарантируя подлинность и высокое качество каждой детали. С нами вы получаете экспертную поддержку, удобный подбор, оперативную доставку и уверенность в надежности вашего автомобиля.
Ассортимент:
- Амортизатор
- Барабан тормозной
- Вал карданный
- Втулка амортизатора
- Гидронатяжитель
- Глушитель
- Глушитель универсальный
- Диск сцепления
- Диск тормозной
- Колодки тормозные
- Колпачок
- Корзина сцепления
- Крестовина
- Кронштейн
- Маховик

Trialli — это бренд автомобильных автозапчастей с интересной историей. Он зародился в 1995 году в Италии, когда шесть независимых OEM‐поставщиков автокомпонентов, работающих на FIAT Group, объединились под маркой «Trìplice Alleanza».
Цель заключалась в объединении производств и формирования собственной сети дистрибуции. На раннем этапе в альянс входили исключительно итальянские предприятия, но со временем география расширилась: к ним добавились компании из других стран.
В 2012 году Carville стал правообладателем бренда Trialli на всех рынках СНГ, и бренд окончательно трансформировался в полностью российскую торговую марку.
Ассортимент продукции Trialli охватывает широкий спектр автокомпонентов для легковых и грузовых автомобилей. Выпускаются детали тормозных систем, трансмиссии, рулевого управления, а также подшипники, прокладки и резинометаллические изделия. Два уровня качества — Linea Qualita и Linea Superiore — делают компленктующие доступными как для массового потребителя, так и для тех, кто ищет более премиальные решение. В каталоге представлены амортизаторы, тормозные диски и барабаны, суппорты, сцепления и карданные крестовины, а также ремни ГРМ, фильтры, шаровые опоры, втулки и подшипники.
У бренда Trialli есть инженерно-маркетинговая база в России: собственные лаборатории контроля и склады в Москве, Санкт-Петербурге и Екатеринбурге, что обеспечивает качественное тестирование продукции до и после производства. Также бренд активно взаимодействует с клиентами через круглые столы и специальные мероприятия, создавая обратную связь и повышая доверие.
В 2023 году Trialli стал титульным спонсором команды Carville Racing, участвующей в чемпионатах RDS. Их детали тормозной системы проходили испытания на гоночных автомобилях, что подтвердило высокую надёжность даже в экстремальных условиях.
Trialli — это бренд, который вырос из европейского объединения, но сегодня представлен как проработанная инженерно-маркетинговая марка с широкой распределённой сетью, надёжным качеством и обещаниями, которые подкреплены гарантиями и партнёрскими инициативами. Продукция ориентирована на спрос локального рынка, но при этом остаётся конкурентоспособной по цене и качеству.
АвтоАльянс — ваш надёжный партнёр в мире автозапчастей! Мы поставляем продукцию Trialli напрямую от официального дистрибьютора, гарантируя подлинность и высокое качество каждой детали. С нами вы получаете экспертную поддержку, удобный подбор, оперативную доставку и уверенность в надежности вашего автомобиля.
Ассортимент:
- Амортизатор
- Барабан тормозной
- Вал карданный
- Втулка амортизатора
- Гидронатяжитель
- Глушитель
- Глушитель универсальный
- Диск сцепления
- Диск тормозной
- Колодки тормозные
- Колпачок
- Корзина сцепления
- Крестовина
- Кронштейн
- Маховик

Сегодня SORL представлен в Азии, Австралии, Европе, Северной и Южной Америке. SORL - один из лидеров по производству тормозных механизмов, пневматической аппаратуры и компонентов для грузовых автомобилей, признанный во всем мире. SORL является конвейерным поставщиком для ведущих отечественных автомобильных заводов: KAMAZ, ГАЗ, МАЗ; производителей прицепов: Nordtank, Политранс, Сеспель, Grunwald и еще порядка 20 заводов. Весь производственный процесс реализован на современных роботизированных заводах. На всех 11-х производствах автоматизированное оборудование контролируется внедренной системой контроля качества на основе машинного 3D-зрения.
Вся продукция SORL сертифицирована в соответствии с международными и российскими стандартами качества.
Комплектующие SORL - это выбор крупнейших поставщиков запасных частей и комплектующих:
- Качество оригинальной детали по разумной цене
- Высокий ресурс деталей и полное соответствие OEM чертежам
- Расширенная гарантия (до 24 месяцев) без ограничений по пробегу
- Широкий ассортимент компонентов: более 500 наименований на складах в РФ и более 8 тысяч - под заказ из Китая
- Минимальный процент брака с количеством частей на миллион (PPM) менее 50
Продукция SORL всегда в наличии на складах АвтоАльянса.

Сегодня SORL представлен в Азии, Австралии, Европе, Северной и Южной Америке. SORL - один из лидеров по производству тормозных механизмов, пневматической аппаратуры и компонентов для грузовых автомобилей, признанный во всем мире. SORL является конвейерным поставщиком для ведущих отечественных автомобильных заводов: KAMAZ, ГАЗ, МАЗ; производителей прицепов: Nordtank, Политранс, Сеспель, Grunwald и еще порядка 20 заводов. Весь производственный процесс реализован на современных роботизированных заводах. На всех 11-х производствах автоматизированное оборудование контролируется внедренной системой контроля качества на основе машинного 3D-зрения.
Вся продукция SORL сертифицирована в соответствии с международными и российскими стандартами качества.
Комплектующие SORL - это выбор крупнейших поставщиков запасных частей и комплектующих:
- Качество оригинальной детали по разумной цене
- Высокий ресурс деталей и полное соответствие OEM чертежам
- Расширенная гарантия (до 24 месяцев) без ограничений по пробегу
- Широкий ассортимент компонентов: более 500 наименований на складах в РФ и более 8 тысяч - под заказ из Китая
- Минимальный процент брака с количеством частей на миллион (PPM) менее 50
Продукция SORL всегда в наличии на складах АвтоАльянса.

MEGAPOWER Automotive – бренд с почти 30-летней историей.
История производства автомобильных компонентов MEGAPOWER Automotive началась в 1995 году. Бренд MEGAPOWER Automotive стал одним из первых на рынке, кто предложил автомобилистам светодиодные лампы в качестве достойной и технологичной альтернативы традиционным лампочкам накаливания. На протяжении второй половины 90-х и начала 2000х годов к ассортименту выпускаемой MEGAPOWER продукции добавились компрессоры для шин, безотказно работающие при любой погоде и обстоятельствах, щетки стеклоочистителя для широкой гаммы легковых и грузовых автомобилей, гидравлические домкраты грузоподъемностью до 50-ти тонн, надежные буксировочные тросы, зарядные устройства, стяжки груза и многое другое.
Важная особенность MEGAPOWER Automotive – поступательное развитие и внимание к деталям. Сочетание высоких технических характеристик, практичность и разумные цены сделали продукцию MEGAPOWER крайне востребованной как опытными водителями, так и сотрудниками сервисных центров.
В начале 2010-х MEGAPOWER Automotive перешел к новому этапу своего развития. Существенно расширился ассортименти и параллельно был запущен проект по выходу на смежный рынок автомобильных запчастей. С этого момента компания разделила 2 своих направления: автотовары, светотехнику и аксессуары продолжили выпускать с исходным красным логотипом, а для автомобильных запчастей была разработана обновленная стилистика оформления, упаковки и черно-голубой логотип.
Абсолютно все запасные части MEGAPOWER Automotive перед тем как попасть к конечному потребителю проверяются на 4х независимых этапах: проверка качества сырья перед началом производственного цикла, постоянный контроль всех параметров технологического процесса, осмотр и контроль изготовленных деталей перед упаковкой, выборочные испытания деталей из каждой партии на специализированных стендах. Запчасти MEGAPOWER имеют расширенную гарантию до 2 лет.
Основу предложения запасных частей MEGAPOWER Automotive составили высококачественные детали для грузовиков, малотоннажного транспорта, а с 2022 года и легковых автомобилей. Сегодня бренд выпускает запчасти двигателя и трансмиссии, подвески и ходовой части, тормозной и рулевой систем, электрооборудование и многое другое.
Продолжая свое развитие, MEGAPOWER Automotive совершенствует технологии, расширяет ассортимент, активно взаимодействует с потребителями продукции, улучшая текущие товары и разрабатывая новые.
Преимущества бренда:
- постоянное расширение ассортимента;
- двухлетняя гарантия качества продукции (1 год на турбокомпрессоры и автотовары);
- более 3500 позиций для грузовых и легковых автомобилей;
- крупносерийное производство;
- квалифицированные специалисты в области инженерных разработок;

MEGAPOWER Automotive – бренд с почти 30-летней историей.
История производства автомобильных компонентов MEGAPOWER Automotive началась в 1995 году. Бренд MEGAPOWER Automotive стал одним из первых на рынке, кто предложил автомобилистам светодиодные лампы в качестве достойной и технологичной альтернативы традиционным лампочкам накаливания. На протяжении второй половины 90-х и начала 2000х годов к ассортименту выпускаемой MEGAPOWER продукции добавились компрессоры для шин, безотказно работающие при любой погоде и обстоятельствах, щетки стеклоочистителя для широкой гаммы легковых и грузовых автомобилей, гидравлические домкраты грузоподъемностью до 50-ти тонн, надежные буксировочные тросы, зарядные устройства, стяжки груза и многое другое.
Важная особенность MEGAPOWER Automotive – поступательное развитие и внимание к деталям. Сочетание высоких технических характеристик, практичность и разумные цены сделали продукцию MEGAPOWER крайне востребованной как опытными водителями, так и сотрудниками сервисных центров.
В начале 2010-х MEGAPOWER Automotive перешел к новому этапу своего развития. Существенно расширился ассортименти и параллельно был запущен проект по выходу на смежный рынок автомобильных запчастей. С этого момента компания разделила 2 своих направления: автотовары, светотехнику и аксессуары продолжили выпускать с исходным красным логотипом, а для автомобильных запчастей была разработана обновленная стилистика оформления, упаковки и черно-голубой логотип.
Абсолютно все запасные части MEGAPOWER Automotive перед тем как попасть к конечному потребителю проверяются на 4х независимых этапах: проверка качества сырья перед началом производственного цикла, постоянный контроль всех параметров технологического процесса, осмотр и контроль изготовленных деталей перед упаковкой, выборочные испытания деталей из каждой партии на специализированных стендах. Запчасти MEGAPOWER имеют расширенную гарантию до 2 лет.
Основу предложения запасных частей MEGAPOWER Automotive составили высококачественные детали для грузовиков, малотоннажного транспорта, а с 2022 года и легковых автомобилей. Сегодня бренд выпускает запчасти двигателя и трансмиссии, подвески и ходовой части, тормозной и рулевой систем, электрооборудование и многое другое.
Продолжая свое развитие, MEGAPOWER Automotive совершенствует технологии, расширяет ассортимент, активно взаимодействует с потребителями продукции, улучшая текущие товары и разрабатывая новые.
Преимущества бренда:
- постоянное расширение ассортимента;
- двухлетняя гарантия качества продукции (1 год на турбокомпрессоры и автотовары);
- более 3500 позиций для грузовых и легковых автомобилей;
- крупносерийное производство;
- квалифицированные специалисты в области инженерных разработок;

MEGAPOWER Automotive – бренд с почти 30-летней историей.
История производства автомобильных компонентов MEGAPOWER Automotive началась в 1995 году. Бренд MEGAPOWER Automotive стал одним из первых на рынке, кто предложил автомобилистам светодиодные лампы в качестве достойной и технологичной альтернативы традиционным лампочкам накаливания. На протяжении второй половины 90-х и начала 2000х годов к ассортименту выпускаемой MEGAPOWER продукции добавились компрессоры для шин, безотказно работающие при любой погоде и обстоятельствах, щетки стеклоочистителя для широкой гаммы легковых и грузовых автомобилей, гидравлические домкраты грузоподъемностью до 50-ти тонн, надежные буксировочные тросы, зарядные устройства, стяжки груза и многое другое.
Важная особенность MEGAPOWER Automotive – поступательное развитие и внимание к деталям. Сочетание высоких технических характеристик, практичность и разумные цены сделали продукцию MEGAPOWER крайне востребованной как опытными водителями, так и сотрудниками сервисных центров.
В начале 2010-х MEGAPOWER Automotive перешел к новому этапу своего развития. Существенно расширился ассортименти и параллельно был запущен проект по выходу на смежный рынок автомобильных запчастей. С этого момента компания разделила 2 своих направления: автотовары, светотехнику и аксессуары продолжили выпускать с исходным красным логотипом, а для автомобильных запчастей была разработана обновленная стилистика оформления, упаковки и черно-голубой логотип.
Абсолютно все запасные части MEGAPOWER Automotive перед тем как попасть к конечному потребителю проверяются на 4х независимых этапах: проверка качества сырья перед началом производственного цикла, постоянный контроль всех параметров технологического процесса, осмотр и контроль изготовленных деталей перед упаковкой, выборочные испытания деталей из каждой партии на специализированных стендах. Запчасти MEGAPOWER имеют расширенную гарантию до 2 лет.
Основу предложения запасных частей MEGAPOWER Automotive составили высококачественные детали для грузовиков, малотоннажного транспорта, а с 2022 года и легковых автомобилей. Сегодня бренд выпускает запчасти двигателя и трансмиссии, подвески и ходовой части, тормозной и рулевой систем, электрооборудование и многое другое.
Продолжая свое развитие, MEGAPOWER Automotive совершенствует технологии, расширяет ассортимент, активно взаимодействует с потребителями продукции, улучшая текущие товары и разрабатывая новые.
Преимущества бренда:
- постоянное расширение ассортимента;
- двухлетняя гарантия качества продукции (1 год на турбокомпрессоры и автотовары);
- более 3500 позиций для грузовых и легковых автомобилей;
- крупносерийное производство;
- квалифицированные специалисты в области инженерных разработок;
На складах : 1679 шт.

MEGAPOWER Automotive – бренд с почти 30-летней историей.
История производства автомобильных компонентов MEGAPOWER Automotive началась в 1995 году. Бренд MEGAPOWER Automotive стал одним из первых на рынке, кто предложил автомобилистам светодиодные лампы в качестве достойной и технологичной альтернативы традиционным лампочкам накаливания. На протяжении второй половины 90-х и начала 2000х годов к ассортименту выпускаемой MEGAPOWER продукции добавились компрессоры для шин, безотказно работающие при любой погоде и обстоятельствах, щетки стеклоочистителя для широкой гаммы легковых и грузовых автомобилей, гидравлические домкраты грузоподъемностью до 50-ти тонн, надежные буксировочные тросы, зарядные устройства, стяжки груза и многое другое.
Важная особенность MEGAPOWER Automotive – поступательное развитие и внимание к деталям. Сочетание высоких технических характеристик, практичность и разумные цены сделали продукцию MEGAPOWER крайне востребованной как опытными водителями, так и сотрудниками сервисных центров.
В начале 2010-х MEGAPOWER Automotive перешел к новому этапу своего развития. Существенно расширился ассортименти и параллельно был запущен проект по выходу на смежный рынок автомобильных запчастей. С этого момента компания разделила 2 своих направления: автотовары, светотехнику и аксессуары продолжили выпускать с исходным красным логотипом, а для автомобильных запчастей была разработана обновленная стилистика оформления, упаковки и черно-голубой логотип.
Абсолютно все запасные части MEGAPOWER Automotive перед тем как попасть к конечному потребителю проверяются на 4х независимых этапах: проверка качества сырья перед началом производственного цикла, постоянный контроль всех параметров технологического процесса, осмотр и контроль изготовленных деталей перед упаковкой, выборочные испытания деталей из каждой партии на специализированных стендах. Запчасти MEGAPOWER имеют расширенную гарантию до 2 лет.
Основу предложения запасных частей MEGAPOWER Automotive составили высококачественные детали для грузовиков, малотоннажного транспорта, а с 2022 года и легковых автомобилей. Сегодня бренд выпускает запчасти двигателя и трансмиссии, подвески и ходовой части, тормозной и рулевой систем, электрооборудование и многое другое.
Продолжая свое развитие, MEGAPOWER Automotive совершенствует технологии, расширяет ассортимент, активно взаимодействует с потребителями продукции, улучшая текущие товары и разрабатывая новые.
Преимущества бренда:
- постоянное расширение ассортимента;
- двухлетняя гарантия качества продукции (1 год на турбокомпрессоры и автотовары);
- более 3500 позиций для грузовых и легковых автомобилей;
- крупносерийное производство;
- квалифицированные специалисты в области инженерных разработок;

ОАО «КАМАЗ», как крупнейший производитель грузовых автомобилей в России, занимает лидирующие позиции и на рынке продаж запасных частей к своей технике. Значительное увеличение доли высококачественной фирменной продукции на нём признаётся компанией одним из стратегически важных направлений продуктовой и сбытовой политики. ТФК «КАМАЗ» это эксклюзивный дистрибьютор, которому предоставлено исключительное право на продажу основной продукции ОАО «КАМАЗ» на территории России. Единый производственный комплекс группы организаций ОАО "КАМАЗ" охватывает весь технологический цикл производства грузовых автомобилей - от разработки, изготовления, сборки автотехники и автокомпонентов до сбыта готовой продукции и сервисного сопровождения. Система качества продукции ОАО "КАМАЗ" отвечает требованиям международного стандарта ИСО 9001-2000 и одобрена органом по сертификации систем управления "Русский регистр". Двигатели КАМАЗ-740.60-360, КАМАЗ-740.61-320 и КАМАЗ-740.62-280 соответствуют требованиям международных экологических стандартов "Евро-3". ОАО "КАМАЗ" выпускает широкую гамму грузовой техники: грузовые автомобили (более 30 моделей, свыше 400 комплектаций) ,прицепы, автобусы, двигатели, силовые агрегаты и различный инструмент. "КАМАЗ" традиционно позиционируется на рынке грузовых автомобилей полной массой от 14 до 40 тонн. В последние годы гамма продукции компании значительно расширилась. Освоено производство среднетоннажных автомобилей, модернизированной модели КАМАЗ-5460М ("Стайер"), расширен модельный ряд автомобилей повышенной грузоподъемности. Эти машины не раз доказали свою надежность и уникальную проходимость. Именно поэтому опытные водители, которые занимаются перевозками, отдают предпочтение такой продукции как автомобили КАМАЗ. Техника КАМАЗ работает в любых дорожных и климатических условиях: в районах Крайнего Севера и в тропиках, в зонах пустынь и высокогорья. Есть только одна особенность у этих автомашин - при поломке стоит использовать только те запасные части, которые соответствуют качеству машины. "АвтоАльянс" предлагает именно такие запчасти КАМАЗ. "АвтоАльянс" является официальным дилером по продаже запасных частей и силовых агрегатов ОАО "КАМАЗ". Компания предлагает оригинальные запасные части к автомобилям "КАМАЗ". Главные принципы нашей работы - это всесторонняя поддержка клиентов при формировании заявки на запчасти, а также широчайший ассортимент запчастей производства ОАО "КАМАЗ". В "АвтоАльянс" можно заказывать запчасти от "А" до "Я", от шайбы до агрегата. Экономия нужна везде и во всем, но нельзя экономить на своем верном помощнике. Вся продукция ОАО "КАМАЗ", предлагаемая к продаже, имеет сертификаты качества. Причем это касается не только крупных узлов и агрегатов. От работы множеств мелких деталей так же зависит успешное функционирование всего механизма в целом. Каждый год появляются все более совершенные модели автомобиля КАМАЗ. И "АвтоАльянс" идет в ногу со временем и постоянно расширяет ассортиментный ряд запасных частей на новые КАМАЗы. "АвтоАльянс" в заводском рейтинге дилеров является крупнейшим дилером по запчастям КАМАЗ в Центральном регионе РФ.
На складах : 879 шт.

ОАО «КАМАЗ», как крупнейший производитель грузовых автомобилей в России, занимает лидирующие позиции и на рынке продаж запасных частей к своей технике. Значительное увеличение доли высококачественной фирменной продукции на нём признаётся компанией одним из стратегически важных направлений продуктовой и сбытовой политики. ТФК «КАМАЗ» это эксклюзивный дистрибьютор, которому предоставлено исключительное право на продажу основной продукции ОАО «КАМАЗ» на территории России. Единый производственный комплекс группы организаций ОАО "КАМАЗ" охватывает весь технологический цикл производства грузовых автомобилей - от разработки, изготовления, сборки автотехники и автокомпонентов до сбыта готовой продукции и сервисного сопровождения. Система качества продукции ОАО "КАМАЗ" отвечает требованиям международного стандарта ИСО 9001-2000 и одобрена органом по сертификации систем управления "Русский регистр". Двигатели КАМАЗ-740.60-360, КАМАЗ-740.61-320 и КАМАЗ-740.62-280 соответствуют требованиям международных экологических стандартов "Евро-3". ОАО "КАМАЗ" выпускает широкую гамму грузовой техники: грузовые автомобили (более 30 моделей, свыше 400 комплектаций) ,прицепы, автобусы, двигатели, силовые агрегаты и различный инструмент. "КАМАЗ" традиционно позиционируется на рынке грузовых автомобилей полной массой от 14 до 40 тонн. В последние годы гамма продукции компании значительно расширилась. Освоено производство среднетоннажных автомобилей, модернизированной модели КАМАЗ-5460М ("Стайер"), расширен модельный ряд автомобилей повышенной грузоподъемности. Эти машины не раз доказали свою надежность и уникальную проходимость. Именно поэтому опытные водители, которые занимаются перевозками, отдают предпочтение такой продукции как автомобили КАМАЗ. Техника КАМАЗ работает в любых дорожных и климатических условиях: в районах Крайнего Севера и в тропиках, в зонах пустынь и высокогорья. Есть только одна особенность у этих автомашин - при поломке стоит использовать только те запасные части, которые соответствуют качеству машины. "АвтоАльянс" предлагает именно такие запчасти КАМАЗ. "АвтоАльянс" является официальным дилером по продаже запасных частей и силовых агрегатов ОАО "КАМАЗ". Компания предлагает оригинальные запасные части к автомобилям "КАМАЗ". Главные принципы нашей работы - это всесторонняя поддержка клиентов при формировании заявки на запчасти, а также широчайший ассортимент запчастей производства ОАО "КАМАЗ". В "АвтоАльянс" можно заказывать запчасти от "А" до "Я", от шайбы до агрегата. Экономия нужна везде и во всем, но нельзя экономить на своем верном помощнике. Вся продукция ОАО "КАМАЗ", предлагаемая к продаже, имеет сертификаты качества. Причем это касается не только крупных узлов и агрегатов. От работы множеств мелких деталей так же зависит успешное функционирование всего механизма в целом. Каждый год появляются все более совершенные модели автомобиля КАМАЗ. И "АвтоАльянс" идет в ногу со временем и постоянно расширяет ассортиментный ряд запасных частей на новые КАМАЗы. "АвтоАльянс" в заводском рейтинге дилеров является крупнейшим дилером по запчастям КАМАЗ в Центральном регионе РФ.

ROSTAR — это бренд, ставший синонимом надёжности, технологичности и настоящего промышленного достоинства. Он не просто производит автозапчасти — он создает основу для стабильной и уверенной работы коммерческого транспорта на дорогах России и далеко за её пределами. С 2000 года, с момента своего основания в Набережных Челнах, ROSTAR последовательно и уверенно строит репутацию одного из ведущих российских производителей автокомпонентов для грузовиков, автобусов и прицепной техники.
Сила бренда ROSTAR в балансе между передовыми инженерными разработками и практическим пониманием условий эксплуатации на российских дорогах. Здесь разрабатываются и выпускаются компоненты, которым доверяют перевозчики, логистические компании и ремонтные мастерские. Это бренд, с которым не боятся зимней метели, весенней распутицы и разбитого асфальта: ROSTAR работает там, где другим «тесно» — в суровых, нестабильных условиях, где важна каждая мелочь, каждая сварка, каждый миллиметр в допуске.
Сегодня под маркой ROSTAR выпускается более 1100 наименований продукции. Это штанги V-образные и реактивные, амортизаторы, сайлентблоки, рулевые тяги и наконечники, тормозные колодки, элементы подвески и детали сцепления. Не просто детали, а элементы систем, от которых напрямую зависит безопасность и эффективность грузоперевозок. ROSTAR проектирует свои компоненты с учётом российских реалий: холодов, вибрационных нагрузок, нестабильного дорожного покрытия.
Производственные мощности ROSTAR располагаются в Татарстане, на высокотехнологичном заводе, который не просто повторяет мировые стандарты, а во многом формирует их в отечественной отрасли. Все компоненты проходят многоступенчатый контроль качества и соответствуют техническим требованиям не только российского ГОСТа, но и стандартов европейских производителей. Именно поэтому ROSTAR уже много лет успешно поставляет детали не только для КАМАЗа, но и для Scania, Volvo, MAN, IVECO, ISUZU, DAF, Mercedes-Benz и других мировых брендов.
Отдельное внимание в философии бренда уделено инновациям. ROSTAR активно внедряет запатентованные технические решения, экспериментирует с композитными и полимерными материалами, предлагает рынку новые форматы продукции. И всё это — под знаком стабильности, ответственности и инженерной эволюции.
АвтоАльянс — ваш надёжный партнёр в мире автозапчастей! Мы предлагаем продукцию ROSTAR — надёжные и износостойкие детали для грузовых автомобилей и прицепной техники. В ассортименте — всё, что нужно для уверенной работы транспорта в любых условиях. Работаем по всей России, гарантируя качество и доступные цены.
- Штанги V-образные
- Штанги реактивные
- Рем.комплекты реактивных штанг
- Амортизаторы подвески
- Сайлентблоки
- Тяги рулевые
- Тяги стабилизатора
- Наконечники тяг рулевых
- Колодки барабанного тормоза
- Колодки дискового тормоза
- Стремянки рессоры
- Шкворни ТСУ
- Детали привода управления КПП
- Камеры тормозные, энергоаккумуляторы
- Пневмогидроусилители (ПГУ)
- Рем.комплекты суппорта
- Детали из полимерных композиционных материалов
- Кронштейны подвески
- Рессоры пневматические
- Рычаги тормозные
На складах : 189 шт.

ROSTAR — это бренд, ставший синонимом надёжности, технологичности и настоящего промышленного достоинства. Он не просто производит автозапчасти — он создает основу для стабильной и уверенной работы коммерческого транспорта на дорогах России и далеко за её пределами. С 2000 года, с момента своего основания в Набережных Челнах, ROSTAR последовательно и уверенно строит репутацию одного из ведущих российских производителей автокомпонентов для грузовиков, автобусов и прицепной техники.
Сила бренда ROSTAR в балансе между передовыми инженерными разработками и практическим пониманием условий эксплуатации на российских дорогах. Здесь разрабатываются и выпускаются компоненты, которым доверяют перевозчики, логистические компании и ремонтные мастерские. Это бренд, с которым не боятся зимней метели, весенней распутицы и разбитого асфальта: ROSTAR работает там, где другим «тесно» — в суровых, нестабильных условиях, где важна каждая мелочь, каждая сварка, каждый миллиметр в допуске.
Сегодня под маркой ROSTAR выпускается более 1100 наименований продукции. Это штанги V-образные и реактивные, амортизаторы, сайлентблоки, рулевые тяги и наконечники, тормозные колодки, элементы подвески и детали сцепления. Не просто детали, а элементы систем, от которых напрямую зависит безопасность и эффективность грузоперевозок. ROSTAR проектирует свои компоненты с учётом российских реалий: холодов, вибрационных нагрузок, нестабильного дорожного покрытия.
Производственные мощности ROSTAR располагаются в Татарстане, на высокотехнологичном заводе, который не просто повторяет мировые стандарты, а во многом формирует их в отечественной отрасли. Все компоненты проходят многоступенчатый контроль качества и соответствуют техническим требованиям не только российского ГОСТа, но и стандартов европейских производителей. Именно поэтому ROSTAR уже много лет успешно поставляет детали не только для КАМАЗа, но и для Scania, Volvo, MAN, IVECO, ISUZU, DAF, Mercedes-Benz и других мировых брендов.
Отдельное внимание в философии бренда уделено инновациям. ROSTAR активно внедряет запатентованные технические решения, экспериментирует с композитными и полимерными материалами, предлагает рынку новые форматы продукции. И всё это — под знаком стабильности, ответственности и инженерной эволюции.
АвтоАльянс — ваш надёжный партнёр в мире автозапчастей! Мы предлагаем продукцию ROSTAR — надёжные и износостойкие детали для грузовых автомобилей и прицепной техники. В ассортименте — всё, что нужно для уверенной работы транспорта в любых условиях. Работаем по всей России, гарантируя качество и доступные цены.
- Штанги V-образные
- Штанги реактивные
- Рем.комплекты реактивных штанг
- Амортизаторы подвески
- Сайлентблоки
- Тяги рулевые
- Тяги стабилизатора
- Наконечники тяг рулевых
- Колодки барабанного тормоза
- Колодки дискового тормоза
- Стремянки рессоры
- Шкворни ТСУ
- Детали привода управления КПП
- Камеры тормозные, энергоаккумуляторы
- Пневмогидроусилители (ПГУ)
- Рем.комплекты суппорта
- Детали из полимерных композиционных материалов
- Кронштейны подвески
- Рессоры пневматические
- Рычаги тормозные

MEGAPOWER Automotive – бренд с почти 30-летней историей.
История производства автомобильных компонентов MEGAPOWER Automotive началась в 1995 году. Бренд MEGAPOWER Automotive стал одним из первых на рынке, кто предложил автомобилистам светодиодные лампы в качестве достойной и технологичной альтернативы традиционным лампочкам накаливания. На протяжении второй половины 90-х и начала 2000х годов к ассортименту выпускаемой MEGAPOWER продукции добавились компрессоры для шин, безотказно работающие при любой погоде и обстоятельствах, щетки стеклоочистителя для широкой гаммы легковых и грузовых автомобилей, гидравлические домкраты грузоподъемностью до 50-ти тонн, надежные буксировочные тросы, зарядные устройства, стяжки груза и многое другое.
Важная особенность MEGAPOWER Automotive – поступательное развитие и внимание к деталям. Сочетание высоких технических характеристик, практичность и разумные цены сделали продукцию MEGAPOWER крайне востребованной как опытными водителями, так и сотрудниками сервисных центров.
В начале 2010-х MEGAPOWER Automotive перешел к новому этапу своего развития. Существенно расширился ассортименти и параллельно был запущен проект по выходу на смежный рынок автомобильных запчастей. С этого момента компания разделила 2 своих направления: автотовары, светотехнику и аксессуары продолжили выпускать с исходным красным логотипом, а для автомобильных запчастей была разработана обновленная стилистика оформления, упаковки и черно-голубой логотип.
Абсолютно все запасные части MEGAPOWER Automotive перед тем как попасть к конечному потребителю проверяются на 4х независимых этапах: проверка качества сырья перед началом производственного цикла, постоянный контроль всех параметров технологического процесса, осмотр и контроль изготовленных деталей перед упаковкой, выборочные испытания деталей из каждой партии на специализированных стендах. Запчасти MEGAPOWER имеют расширенную гарантию до 2 лет.
Основу предложения запасных частей MEGAPOWER Automotive составили высококачественные детали для грузовиков, малотоннажного транспорта, а с 2022 года и легковых автомобилей. Сегодня бренд выпускает запчасти двигателя и трансмиссии, подвески и ходовой части, тормозной и рулевой систем, электрооборудование и многое другое.
Продолжая свое развитие, MEGAPOWER Automotive совершенствует технологии, расширяет ассортимент, активно взаимодействует с потребителями продукции, улучшая текущие товары и разрабатывая новые.
Преимущества бренда:
- постоянное расширение ассортимента;
- двухлетняя гарантия качества продукции (1 год на турбокомпрессоры и автотовары);
- более 3500 позиций для грузовых и легковых автомобилей;
- крупносерийное производство;
- квалифицированные специалисты в области инженерных разработок;
На складах : 563 шт.

MEGAPOWER Automotive – бренд с почти 30-летней историей.
История производства автомобильных компонентов MEGAPOWER Automotive началась в 1995 году. Бренд MEGAPOWER Automotive стал одним из первых на рынке, кто предложил автомобилистам светодиодные лампы в качестве достойной и технологичной альтернативы традиционным лампочкам накаливания. На протяжении второй половины 90-х и начала 2000х годов к ассортименту выпускаемой MEGAPOWER продукции добавились компрессоры для шин, безотказно работающие при любой погоде и обстоятельствах, щетки стеклоочистителя для широкой гаммы легковых и грузовых автомобилей, гидравлические домкраты грузоподъемностью до 50-ти тонн, надежные буксировочные тросы, зарядные устройства, стяжки груза и многое другое.
Важная особенность MEGAPOWER Automotive – поступательное развитие и внимание к деталям. Сочетание высоких технических характеристик, практичность и разумные цены сделали продукцию MEGAPOWER крайне востребованной как опытными водителями, так и сотрудниками сервисных центров.
В начале 2010-х MEGAPOWER Automotive перешел к новому этапу своего развития. Существенно расширился ассортименти и параллельно был запущен проект по выходу на смежный рынок автомобильных запчастей. С этого момента компания разделила 2 своих направления: автотовары, светотехнику и аксессуары продолжили выпускать с исходным красным логотипом, а для автомобильных запчастей была разработана обновленная стилистика оформления, упаковки и черно-голубой логотип.
Абсолютно все запасные части MEGAPOWER Automotive перед тем как попасть к конечному потребителю проверяются на 4х независимых этапах: проверка качества сырья перед началом производственного цикла, постоянный контроль всех параметров технологического процесса, осмотр и контроль изготовленных деталей перед упаковкой, выборочные испытания деталей из каждой партии на специализированных стендах. Запчасти MEGAPOWER имеют расширенную гарантию до 2 лет.
Основу предложения запасных частей MEGAPOWER Automotive составили высококачественные детали для грузовиков, малотоннажного транспорта, а с 2022 года и легковых автомобилей. Сегодня бренд выпускает запчасти двигателя и трансмиссии, подвески и ходовой части, тормозной и рулевой систем, электрооборудование и многое другое.
Продолжая свое развитие, MEGAPOWER Automotive совершенствует технологии, расширяет ассортимент, активно взаимодействует с потребителями продукции, улучшая текущие товары и разрабатывая новые.
Преимущества бренда:
- постоянное расширение ассортимента;
- двухлетняя гарантия качества продукции (1 год на турбокомпрессоры и автотовары);
- более 3500 позиций для грузовых и легковых автомобилей;
- крупносерийное производство;
- квалифицированные специалисты в области инженерных разработок;

Компания FENOX начала свой путь в 1989 году, когда на постсоветском пространстве появилась небольшая фирма, выпускавшая гидравлические цилиндры для автомобилей ВАЗ. С тех пор компания прошла долгий путь развития — от узкоспециализированного производителя до международного концерна с современными заводами в Беларуси, России и Германии. В 1996 году FENOX сделала важный шаг, приобретя оборудование немецкой Bremse Hydraulic, что позволило значительно повысить качество продукции и выйти на рынки Европы и Америки. Сегодня FENOX — это более 12 современных производственных площадок и тысячи сотрудников, среди которых сотни инженеров, работающих над инновационными решениями и расширением ассортимента.
Ассортимент продукции FENOX насчитывает более 5000 наименований автокомпонентов, охватывающих все ключевые системы автомобиля. Компания производит детали для тормозных систем, электрических и охлаждающих систем, подвески, трансмиссии и рулевого управления. В числе выпускаемых изделий — амортизаторы, тормозные диски и колодки, гидроцилиндры, генераторы, стартеры, свечи зажигания, рулевые рейки, насосы, муфты сцепления, вентиляторы отопления и охлаждения, а также комплектующие для карданных шарниров и многое другое. Продукция ориентирована на широкий спектр техники: от легковых автомобилей ВАЗ и зарубежных брендов до грузовиков КАМАЗ, МАЗ, ГАЗ и УАЗ.
FENOX известна своей приверженностью качеству и инновациям. Компания обладает собственным конструкторским бюро и испытательным центром, аккредитованным по международным стандартам, что гарантирует надежность и безопасность выпускаемых изделий. Сертификация по ISO 9001 и соответствие требованиям VDA 6.1 позволяют поставлять продукцию не только на вторичный рынок, но и на конвейеры ведущих мировых автопроизводителей, таких как Volkswagen, Renault, General Motors и другие.
Сегодня FENOX экспортирует свою продукцию более чем в 50 стран мира, укрепляя позиции на международном рынке и продолжая расширять ассортимент. В планах компании — дальнейшее внедрение современных технологий, развитие производства и создание новых решений, которые помогут сделать автомобили еще более надежными и безопасными. История FENOX — это пример успешного развития, основанного на качестве, инновациях и стремлении удовлетворять потребности самых требовательных клиентов.
Ассортимент:
- Система охлаждения
- Электрическая система
- Система рулевого управления
- Система подвески
- Система трансмиссии
- Главные тормозные цилиндры
- Датчики ABS
- Лямбда-зонды

Компания FENOX начала свой путь в 1989 году, когда на постсоветском пространстве появилась небольшая фирма, выпускавшая гидравлические цилиндры для автомобилей ВАЗ. С тех пор компания прошла долгий путь развития — от узкоспециализированного производителя до международного концерна с современными заводами в Беларуси, России и Германии. В 1996 году FENOX сделала важный шаг, приобретя оборудование немецкой Bremse Hydraulic, что позволило значительно повысить качество продукции и выйти на рынки Европы и Америки. Сегодня FENOX — это более 12 современных производственных площадок и тысячи сотрудников, среди которых сотни инженеров, работающих над инновационными решениями и расширением ассортимента.
Ассортимент продукции FENOX насчитывает более 5000 наименований автокомпонентов, охватывающих все ключевые системы автомобиля. Компания производит детали для тормозных систем, электрических и охлаждающих систем, подвески, трансмиссии и рулевого управления. В числе выпускаемых изделий — амортизаторы, тормозные диски и колодки, гидроцилиндры, генераторы, стартеры, свечи зажигания, рулевые рейки, насосы, муфты сцепления, вентиляторы отопления и охлаждения, а также комплектующие для карданных шарниров и многое другое. Продукция ориентирована на широкий спектр техники: от легковых автомобилей ВАЗ и зарубежных брендов до грузовиков КАМАЗ, МАЗ, ГАЗ и УАЗ.
FENOX известна своей приверженностью качеству и инновациям. Компания обладает собственным конструкторским бюро и испытательным центром, аккредитованным по международным стандартам, что гарантирует надежность и безопасность выпускаемых изделий. Сертификация по ISO 9001 и соответствие требованиям VDA 6.1 позволяют поставлять продукцию не только на вторичный рынок, но и на конвейеры ведущих мировых автопроизводителей, таких как Volkswagen, Renault, General Motors и другие.
Сегодня FENOX экспортирует свою продукцию более чем в 50 стран мира, укрепляя позиции на международном рынке и продолжая расширять ассортимент. В планах компании — дальнейшее внедрение современных технологий, развитие производства и создание новых решений, которые помогут сделать автомобили еще более надежными и безопасными. История FENOX — это пример успешного развития, основанного на качестве, инновациях и стремлении удовлетворять потребности самых требовательных клиентов.
Ассортимент:
- Система охлаждения
- Электрическая система
- Система рулевого управления
- Система подвески
- Система трансмиссии
- Главные тормозные цилиндры
- Датчики ABS
- Лямбда-зонды

Trialli — это бренд автомобильных автозапчастей с интересной историей. Он зародился в 1995 году в Италии, когда шесть независимых OEM‐поставщиков автокомпонентов, работающих на FIAT Group, объединились под маркой «Trìplice Alleanza».
Цель заключалась в объединении производств и формирования собственной сети дистрибуции. На раннем этапе в альянс входили исключительно итальянские предприятия, но со временем география расширилась: к ним добавились компании из других стран.
В 2012 году Carville стал правообладателем бренда Trialli на всех рынках СНГ, и бренд окончательно трансформировался в полностью российскую торговую марку.
Ассортимент продукции Trialli охватывает широкий спектр автокомпонентов для легковых и грузовых автомобилей. Выпускаются детали тормозных систем, трансмиссии, рулевого управления, а также подшипники, прокладки и резинометаллические изделия. Два уровня качества — Linea Qualita и Linea Superiore — делают компленктующие доступными как для массового потребителя, так и для тех, кто ищет более премиальные решение. В каталоге представлены амортизаторы, тормозные диски и барабаны, суппорты, сцепления и карданные крестовины, а также ремни ГРМ, фильтры, шаровые опоры, втулки и подшипники.
У бренда Trialli есть инженерно-маркетинговая база в России: собственные лаборатории контроля и склады в Москве, Санкт-Петербурге и Екатеринбурге, что обеспечивает качественное тестирование продукции до и после производства. Также бренд активно взаимодействует с клиентами через круглые столы и специальные мероприятия, создавая обратную связь и повышая доверие.
В 2023 году Trialli стал титульным спонсором команды Carville Racing, участвующей в чемпионатах RDS. Их детали тормозной системы проходили испытания на гоночных автомобилях, что подтвердило высокую надёжность даже в экстремальных условиях.
Trialli — это бренд, который вырос из европейского объединения, но сегодня представлен как проработанная инженерно-маркетинговая марка с широкой распределённой сетью, надёжным качеством и обещаниями, которые подкреплены гарантиями и партнёрскими инициативами. Продукция ориентирована на спрос локального рынка, но при этом остаётся конкурентоспособной по цене и качеству.
АвтоАльянс — ваш надёжный партнёр в мире автозапчастей! Мы поставляем продукцию Trialli напрямую от официального дистрибьютора, гарантируя подлинность и высокое качество каждой детали. С нами вы получаете экспертную поддержку, удобный подбор, оперативную доставку и уверенность в надежности вашего автомобиля.
Ассортимент:
- Амортизатор
- Барабан тормозной
- Вал карданный
- Втулка амортизатора
- Гидронатяжитель
- Глушитель
- Глушитель универсальный
- Диск сцепления
- Диск тормозной
- Колодки тормозные
- Колпачок
- Корзина сцепления
- Крестовина
- Кронштейн
- Маховик

Trialli — это бренд автомобильных автозапчастей с интересной историей. Он зародился в 1995 году в Италии, когда шесть независимых OEM‐поставщиков автокомпонентов, работающих на FIAT Group, объединились под маркой «Trìplice Alleanza».
Цель заключалась в объединении производств и формирования собственной сети дистрибуции. На раннем этапе в альянс входили исключительно итальянские предприятия, но со временем география расширилась: к ним добавились компании из других стран.
В 2012 году Carville стал правообладателем бренда Trialli на всех рынках СНГ, и бренд окончательно трансформировался в полностью российскую торговую марку.
Ассортимент продукции Trialli охватывает широкий спектр автокомпонентов для легковых и грузовых автомобилей. Выпускаются детали тормозных систем, трансмиссии, рулевого управления, а также подшипники, прокладки и резинометаллические изделия. Два уровня качества — Linea Qualita и Linea Superiore — делают компленктующие доступными как для массового потребителя, так и для тех, кто ищет более премиальные решение. В каталоге представлены амортизаторы, тормозные диски и барабаны, суппорты, сцепления и карданные крестовины, а также ремни ГРМ, фильтры, шаровые опоры, втулки и подшипники.
У бренда Trialli есть инженерно-маркетинговая база в России: собственные лаборатории контроля и склады в Москве, Санкт-Петербурге и Екатеринбурге, что обеспечивает качественное тестирование продукции до и после производства. Также бренд активно взаимодействует с клиентами через круглые столы и специальные мероприятия, создавая обратную связь и повышая доверие.
В 2023 году Trialli стал титульным спонсором команды Carville Racing, участвующей в чемпионатах RDS. Их детали тормозной системы проходили испытания на гоночных автомобилях, что подтвердило высокую надёжность даже в экстремальных условиях.
Trialli — это бренд, который вырос из европейского объединения, но сегодня представлен как проработанная инженерно-маркетинговая марка с широкой распределённой сетью, надёжным качеством и обещаниями, которые подкреплены гарантиями и партнёрскими инициативами. Продукция ориентирована на спрос локального рынка, но при этом остаётся конкурентоспособной по цене и качеству.
АвтоАльянс — ваш надёжный партнёр в мире автозапчастей! Мы поставляем продукцию Trialli напрямую от официального дистрибьютора, гарантируя подлинность и высокое качество каждой детали. С нами вы получаете экспертную поддержку, удобный подбор, оперативную доставку и уверенность в надежности вашего автомобиля.
Ассортимент:
- Амортизатор
- Барабан тормозной
- Вал карданный
- Втулка амортизатора
- Гидронатяжитель
- Глушитель
- Глушитель универсальный
- Диск сцепления
- Диск тормозной
- Колодки тормозные
- Колпачок
- Корзина сцепления
- Крестовина
- Кронштейн
- Маховик

Сегодня SORL представлен в Азии, Австралии, Европе, Северной и Южной Америке. SORL - один из лидеров по производству тормозных механизмов, пневматической аппаратуры и компонентов для грузовых автомобилей, признанный во всем мире. SORL является конвейерным поставщиком для ведущих отечественных автомобильных заводов: KAMAZ, ГАЗ, МАЗ; производителей прицепов: Nordtank, Политранс, Сеспель, Grunwald и еще порядка 20 заводов. Весь производственный процесс реализован на современных роботизированных заводах. На всех 11-х производствах автоматизированное оборудование контролируется внедренной системой контроля качества на основе машинного 3D-зрения.
Вся продукция SORL сертифицирована в соответствии с международными и российскими стандартами качества.
Комплектующие SORL - это выбор крупнейших поставщиков запасных частей и комплектующих:
- Качество оригинальной детали по разумной цене
- Высокий ресурс деталей и полное соответствие OEM чертежам
- Расширенная гарантия (до 24 месяцев) без ограничений по пробегу
- Широкий ассортимент компонентов: более 500 наименований на складах в РФ и более 8 тысяч - под заказ из Китая
- Минимальный процент брака с количеством частей на миллион (PPM) менее 50
Продукция SORL всегда в наличии на складах АвтоАльянса.

Сегодня SORL представлен в Азии, Австралии, Европе, Северной и Южной Америке. SORL - один из лидеров по производству тормозных механизмов, пневматической аппаратуры и компонентов для грузовых автомобилей, признанный во всем мире. SORL является конвейерным поставщиком для ведущих отечественных автомобильных заводов: KAMAZ, ГАЗ, МАЗ; производителей прицепов: Nordtank, Политранс, Сеспель, Grunwald и еще порядка 20 заводов. Весь производственный процесс реализован на современных роботизированных заводах. На всех 11-х производствах автоматизированное оборудование контролируется внедренной системой контроля качества на основе машинного 3D-зрения.
Вся продукция SORL сертифицирована в соответствии с международными и российскими стандартами качества.
Комплектующие SORL - это выбор крупнейших поставщиков запасных частей и комплектующих:
- Качество оригинальной детали по разумной цене
- Высокий ресурс деталей и полное соответствие OEM чертежам
- Расширенная гарантия (до 24 месяцев) без ограничений по пробегу
- Широкий ассортимент компонентов: более 500 наименований на складах в РФ и более 8 тысяч - под заказ из Китая
- Минимальный процент брака с количеством частей на миллион (PPM) менее 50
Продукция SORL всегда в наличии на складах АвтоАльянса.

MEGAPOWER Automotive – бренд с почти 30-летней историей.
История производства автомобильных компонентов MEGAPOWER Automotive началась в 1995 году. Бренд MEGAPOWER Automotive стал одним из первых на рынке, кто предложил автомобилистам светодиодные лампы в качестве достойной и технологичной альтернативы традиционным лампочкам накаливания. На протяжении второй половины 90-х и начала 2000х годов к ассортименту выпускаемой MEGAPOWER продукции добавились компрессоры для шин, безотказно работающие при любой погоде и обстоятельствах, щетки стеклоочистителя для широкой гаммы легковых и грузовых автомобилей, гидравлические домкраты грузоподъемностью до 50-ти тонн, надежные буксировочные тросы, зарядные устройства, стяжки груза и многое другое.
Важная особенность MEGAPOWER Automotive – поступательное развитие и внимание к деталям. Сочетание высоких технических характеристик, практичность и разумные цены сделали продукцию MEGAPOWER крайне востребованной как опытными водителями, так и сотрудниками сервисных центров.
В начале 2010-х MEGAPOWER Automotive перешел к новому этапу своего развития. Существенно расширился ассортименти и параллельно был запущен проект по выходу на смежный рынок автомобильных запчастей. С этого момента компания разделила 2 своих направления: автотовары, светотехнику и аксессуары продолжили выпускать с исходным красным логотипом, а для автомобильных запчастей была разработана обновленная стилистика оформления, упаковки и черно-голубой логотип.
Абсолютно все запасные части MEGAPOWER Automotive перед тем как попасть к конечному потребителю проверяются на 4х независимых этапах: проверка качества сырья перед началом производственного цикла, постоянный контроль всех параметров технологического процесса, осмотр и контроль изготовленных деталей перед упаковкой, выборочные испытания деталей из каждой партии на специализированных стендах. Запчасти MEGAPOWER имеют расширенную гарантию до 2 лет.
Основу предложения запасных частей MEGAPOWER Automotive составили высококачественные детали для грузовиков, малотоннажного транспорта, а с 2022 года и легковых автомобилей. Сегодня бренд выпускает запчасти двигателя и трансмиссии, подвески и ходовой части, тормозной и рулевой систем, электрооборудование и многое другое.
Продолжая свое развитие, MEGAPOWER Automotive совершенствует технологии, расширяет ассортимент, активно взаимодействует с потребителями продукции, улучшая текущие товары и разрабатывая новые.
Преимущества бренда:
- постоянное расширение ассортимента;
- двухлетняя гарантия качества продукции (1 год на турбокомпрессоры и автотовары);
- более 3500 позиций для грузовых и легковых автомобилей;
- крупносерийное производство;
- квалифицированные специалисты в области инженерных разработок;

MEGAPOWER Automotive – бренд с почти 30-летней историей.
История производства автомобильных компонентов MEGAPOWER Automotive началась в 1995 году. Бренд MEGAPOWER Automotive стал одним из первых на рынке, кто предложил автомобилистам светодиодные лампы в качестве достойной и технологичной альтернативы традиционным лампочкам накаливания. На протяжении второй половины 90-х и начала 2000х годов к ассортименту выпускаемой MEGAPOWER продукции добавились компрессоры для шин, безотказно работающие при любой погоде и обстоятельствах, щетки стеклоочистителя для широкой гаммы легковых и грузовых автомобилей, гидравлические домкраты грузоподъемностью до 50-ти тонн, надежные буксировочные тросы, зарядные устройства, стяжки груза и многое другое.
Важная особенность MEGAPOWER Automotive – поступательное развитие и внимание к деталям. Сочетание высоких технических характеристик, практичность и разумные цены сделали продукцию MEGAPOWER крайне востребованной как опытными водителями, так и сотрудниками сервисных центров.
В начале 2010-х MEGAPOWER Automotive перешел к новому этапу своего развития. Существенно расширился ассортименти и параллельно был запущен проект по выходу на смежный рынок автомобильных запчастей. С этого момента компания разделила 2 своих направления: автотовары, светотехнику и аксессуары продолжили выпускать с исходным красным логотипом, а для автомобильных запчастей была разработана обновленная стилистика оформления, упаковки и черно-голубой логотип.
Абсолютно все запасные части MEGAPOWER Automotive перед тем как попасть к конечному потребителю проверяются на 4х независимых этапах: проверка качества сырья перед началом производственного цикла, постоянный контроль всех параметров технологического процесса, осмотр и контроль изготовленных деталей перед упаковкой, выборочные испытания деталей из каждой партии на специализированных стендах. Запчасти MEGAPOWER имеют расширенную гарантию до 2 лет.
Основу предложения запасных частей MEGAPOWER Automotive составили высококачественные детали для грузовиков, малотоннажного транспорта, а с 2022 года и легковых автомобилей. Сегодня бренд выпускает запчасти двигателя и трансмиссии, подвески и ходовой части, тормозной и рулевой систем, электрооборудование и многое другое.
Продолжая свое развитие, MEGAPOWER Automotive совершенствует технологии, расширяет ассортимент, активно взаимодействует с потребителями продукции, улучшая текущие товары и разрабатывая новые.
Преимущества бренда:
- постоянное расширение ассортимента;
- двухлетняя гарантия качества продукции (1 год на турбокомпрессоры и автотовары);
- более 3500 позиций для грузовых и легковых автомобилей;
- крупносерийное производство;
- квалифицированные специалисты в области инженерных разработок;
На складах : 193 шт.
На складах : 42 шт.
На складах : 49 шт.

ОАО «КАМАЗ», как крупнейший производитель грузовых автомобилей в России, занимает лидирующие позиции и на рынке продаж запасных частей к своей технике. Значительное увеличение доли высококачественной фирменной продукции на нём признаётся компанией одним из стратегически важных направлений продуктовой и сбытовой политики. ТФК «КАМАЗ» это эксклюзивный дистрибьютор, которому предоставлено исключительное право на продажу основной продукции ОАО «КАМАЗ» на территории России. Единый производственный комплекс группы организаций ОАО "КАМАЗ" охватывает весь технологический цикл производства грузовых автомобилей - от разработки, изготовления, сборки автотехники и автокомпонентов до сбыта готовой продукции и сервисного сопровождения. Система качества продукции ОАО "КАМАЗ" отвечает требованиям международного стандарта ИСО 9001-2000 и одобрена органом по сертификации систем управления "Русский регистр". Двигатели КАМАЗ-740.60-360, КАМАЗ-740.61-320 и КАМАЗ-740.62-280 соответствуют требованиям международных экологических стандартов "Евро-3". ОАО "КАМАЗ" выпускает широкую гамму грузовой техники: грузовые автомобили (более 30 моделей, свыше 400 комплектаций) ,прицепы, автобусы, двигатели, силовые агрегаты и различный инструмент. "КАМАЗ" традиционно позиционируется на рынке грузовых автомобилей полной массой от 14 до 40 тонн. В последние годы гамма продукции компании значительно расширилась. Освоено производство среднетоннажных автомобилей, модернизированной модели КАМАЗ-5460М ("Стайер"), расширен модельный ряд автомобилей повышенной грузоподъемности. Эти машины не раз доказали свою надежность и уникальную проходимость. Именно поэтому опытные водители, которые занимаются перевозками, отдают предпочтение такой продукции как автомобили КАМАЗ. Техника КАМАЗ работает в любых дорожных и климатических условиях: в районах Крайнего Севера и в тропиках, в зонах пустынь и высокогорья. Есть только одна особенность у этих автомашин - при поломке стоит использовать только те запасные части, которые соответствуют качеству машины. "АвтоАльянс" предлагает именно такие запчасти КАМАЗ. "АвтоАльянс" является официальным дилером по продаже запасных частей и силовых агрегатов ОАО "КАМАЗ". Компания предлагает оригинальные запасные части к автомобилям "КАМАЗ". Главные принципы нашей работы - это всесторонняя поддержка клиентов при формировании заявки на запчасти, а также широчайший ассортимент запчастей производства ОАО "КАМАЗ". В "АвтоАльянс" можно заказывать запчасти от "А" до "Я", от шайбы до агрегата. Экономия нужна везде и во всем, но нельзя экономить на своем верном помощнике. Вся продукция ОАО "КАМАЗ", предлагаемая к продаже, имеет сертификаты качества. Причем это касается не только крупных узлов и агрегатов. От работы множеств мелких деталей так же зависит успешное функционирование всего механизма в целом. Каждый год появляются все более совершенные модели автомобиля КАМАЗ. И "АвтоАльянс" идет в ногу со временем и постоянно расширяет ассортиментный ряд запасных частей на новые КАМАЗы. "АвтоАльянс" в заводском рейтинге дилеров является крупнейшим дилером по запчастям КАМАЗ в Центральном регионе РФ.

ОАО «КАМАЗ», как крупнейший производитель грузовых автомобилей в России, занимает лидирующие позиции и на рынке продаж запасных частей к своей технике. Значительное увеличение доли высококачественной фирменной продукции на нём признаётся компанией одним из стратегически важных направлений продуктовой и сбытовой политики. ТФК «КАМАЗ» это эксклюзивный дистрибьютор, которому предоставлено исключительное право на продажу основной продукции ОАО «КАМАЗ» на территории России. Единый производственный комплекс группы организаций ОАО "КАМАЗ" охватывает весь технологический цикл производства грузовых автомобилей - от разработки, изготовления, сборки автотехники и автокомпонентов до сбыта готовой продукции и сервисного сопровождения. Система качества продукции ОАО "КАМАЗ" отвечает требованиям международного стандарта ИСО 9001-2000 и одобрена органом по сертификации систем управления "Русский регистр". Двигатели КАМАЗ-740.60-360, КАМАЗ-740.61-320 и КАМАЗ-740.62-280 соответствуют требованиям международных экологических стандартов "Евро-3". ОАО "КАМАЗ" выпускает широкую гамму грузовой техники: грузовые автомобили (более 30 моделей, свыше 400 комплектаций) ,прицепы, автобусы, двигатели, силовые агрегаты и различный инструмент. "КАМАЗ" традиционно позиционируется на рынке грузовых автомобилей полной массой от 14 до 40 тонн. В последние годы гамма продукции компании значительно расширилась. Освоено производство среднетоннажных автомобилей, модернизированной модели КАМАЗ-5460М ("Стайер"), расширен модельный ряд автомобилей повышенной грузоподъемности. Эти машины не раз доказали свою надежность и уникальную проходимость. Именно поэтому опытные водители, которые занимаются перевозками, отдают предпочтение такой продукции как автомобили КАМАЗ. Техника КАМАЗ работает в любых дорожных и климатических условиях: в районах Крайнего Севера и в тропиках, в зонах пустынь и высокогорья. Есть только одна особенность у этих автомашин - при поломке стоит использовать только те запасные части, которые соответствуют качеству машины. "АвтоАльянс" предлагает именно такие запчасти КАМАЗ. "АвтоАльянс" является официальным дилером по продаже запасных частей и силовых агрегатов ОАО "КАМАЗ". Компания предлагает оригинальные запасные части к автомобилям "КАМАЗ". Главные принципы нашей работы - это всесторонняя поддержка клиентов при формировании заявки на запчасти, а также широчайший ассортимент запчастей производства ОАО "КАМАЗ". В "АвтоАльянс" можно заказывать запчасти от "А" до "Я", от шайбы до агрегата. Экономия нужна везде и во всем, но нельзя экономить на своем верном помощнике. Вся продукция ОАО "КАМАЗ", предлагаемая к продаже, имеет сертификаты качества. Причем это касается не только крупных узлов и агрегатов. От работы множеств мелких деталей так же зависит успешное функционирование всего механизма в целом. Каждый год появляются все более совершенные модели автомобиля КАМАЗ. И "АвтоАльянс" идет в ногу со временем и постоянно расширяет ассортиментный ряд запасных частей на новые КАМАЗы. "АвтоАльянс" в заводском рейтинге дилеров является крупнейшим дилером по запчастям КАМАЗ в Центральном регионе РФ.

Акционерное общество «СТРОЙМАШ» - российское предприятие, производящее резинотехнические изделия высшего качества. Производство компании налажено с учетом использования новейших технологий и современного сырья.

Акционерное общество «СТРОЙМАШ» - российское предприятие, производящее резинотехнические изделия высшего качества. Производство компании налажено с учетом использования новейших технологий и современного сырья.