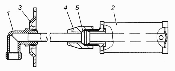
Трубка приемная с фильтром в сборе 65115-1104012 КамАЗ-4308. Каталог 2004г.
Свыше 30 лет предприятие удерживает лидерство на территории России и стран СНГ по производству фильтров и фильтроэлементов. За это время накоплен богатый опыт, создан большой технический и научный потенциал. Надежность продукции оценена по достоинству, подтверждение тому - доверие таких предприятий как: АВТОВАЗ, ГАЗ, ЗМЗ, КамАЗ, УАЗ, Волжские моторы, ЯМЗ, Тутаевскмй моторный, Уфимскмй моторный, ЗиЛ, МАЗ, УралАЗ, ПАЗ, ЛИАЗ, Ростсельмаш, АгромашХолдинг, Красноярский комбайновый, Алтайдизель, Минский тракторный, Минский моторный, Волгоградский тракторный, Липецкий тракторный и др. Номенклатура завода составляет более 400 наименований фильтров и фильтроэлементов очистки масла, топлива, воздуха на все виды авто- и мототехники. Продукция изготавливается на современном, высокотехнологичном, западноевропейском и японском оборудовании, с применением высококачественных материалов: -фильтровальную бумагу на конвейер поставляет корпорация "AHLSTROM" (Италия), мировой лидер по производству фильтровальной бумаги -производство оснащено станками, прессами, и поточными линиями известных мировых лидеров машиностроения: AIDA (Япония), SAVARA (Италия), ERFURD(Германия), KOMORI(Япония), KAWASAKI(Япония) -уникальная испытательная лаборатория оборудована японской техникой KAWASAKI(Япония), аттестована Госстандартом России для проведения сертификационных испытаний -производство сертифицировано международным сертификатом качества ГОСТ Р ИСО 9001-2001. Фильтры ОАО "Автоагрегат" это: -Гарантия работоспособности изделия на протяжении всего срока эксплуатации; -Высокая степень очистки благодаря высококачественным фильтровальным материалам; -Максимальная защита двигателя от загрязнения и соответственно увеличение его ресурса; -Сокращение расхода топлива и масла; -Оптимальное соотношение цены и качества; -Широкий ассортимент выпускаемой продукции; -Бережное отношение к окружающей среде.
На складах : 291 шт.
Свыше 30 лет предприятие удерживает лидерство на территории России и стран СНГ по производству фильтров и фильтроэлементов. За это время накоплен богатый опыт, создан большой технический и научный потенциал. Надежность продукции оценена по достоинству, подтверждение тому - доверие таких предприятий как: АВТОВАЗ, ГАЗ, ЗМЗ, КамАЗ, УАЗ, Волжские моторы, ЯМЗ, Тутаевскмй моторный, Уфимскмй моторный, ЗиЛ, МАЗ, УралАЗ, ПАЗ, ЛИАЗ, Ростсельмаш, АгромашХолдинг, Красноярский комбайновый, Алтайдизель, Минский тракторный, Минский моторный, Волгоградский тракторный, Липецкий тракторный и др. Номенклатура завода составляет более 400 наименований фильтров и фильтроэлементов очистки масла, топлива, воздуха на все виды авто- и мототехники. Продукция изготавливается на современном, высокотехнологичном, западноевропейском и японском оборудовании, с применением высококачественных материалов: -фильтровальную бумагу на конвейер поставляет корпорация "AHLSTROM" (Италия), мировой лидер по производству фильтровальной бумаги -производство оснащено станками, прессами, и поточными линиями известных мировых лидеров машиностроения: AIDA (Япония), SAVARA (Италия), ERFURD(Германия), KOMORI(Япония), KAWASAKI(Япония) -уникальная испытательная лаборатория оборудована японской техникой KAWASAKI(Япония), аттестована Госстандартом России для проведения сертификационных испытаний -производство сертифицировано международным сертификатом качества ГОСТ Р ИСО 9001-2001. Фильтры ОАО "Автоагрегат" это: -Гарантия работоспособности изделия на протяжении всего срока эксплуатации; -Высокая степень очистки благодаря высококачественным фильтровальным материалам; -Максимальная защита двигателя от загрязнения и соответственно увеличение его ресурса; -Сокращение расхода топлива и масла; -Оптимальное соотношение цены и качества; -Широкий ассортимент выпускаемой продукции; -Бережное отношение к окружающей среде.
На складах : 397 шт.
На складах : 2273 шт.
На складах : 158 шт.