8 800 700-05-95 Все контакты

C 9:00 до 20:00. Звонок по РФ бесплатный

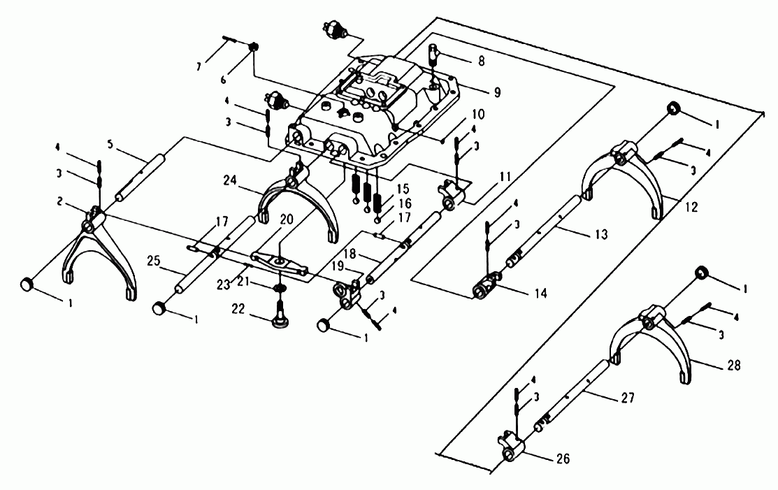
Крышка верхняя Foton-BJ1099. Каталог 2007г.

ВниманиеЭлектронный автокаталог запчастей предназначен для справочных целей! Наша компания продает только те товары, у которых есть цены в списке.

Вид отображения:

Детали справа
1

Номер детали на чертеже: 

1

Заглушка

Заводской номер: 1701015-С1 Количество на модель: 1
1701015-С1
1
2

Номер детали на чертеже: 

2

Вилка переключения пятой и шестой передач

Заводской номер: 1702062-14 Количество на модель: 1
1702062-14
1
3

Номер детали на чертеже: 

3

Штифт

Заводской номер: 1702041-11 Количество на модель: 8
1702041-11
8
4

Номер детали на чертеже: 

4

Упругий штифт блокировки вилки переключения передач

Заводской номер: 1702042-11 Количество на модель: 8
1702042-11
8
5

Номер детали на чертеже: 

5

Вал вилки переключения пятой и шестой скорости

Заводской номер: 1702072-14 Количество на модель: 1
1702072-14
1
6

Номер детали на чертеже: 

6

Гайка корончатая

Заводской номер: СQ38714 Количество на модель: 1
СQ38714
1
7

Номер детали на чертеже: 

7

Шплинт

Заводской номер: Q5003025 Количество на модель: 1
Q5003025
1
8

Номер детали на чертеже: 

8

Вентиляционная пробка

Заводской номер: 1702091-11 Количество на модель: 1
1702091-11
1
9

Номер детали на чертеже: 

9

Верхняя крышка коробки передач

Заводской номер: 1702021-8С Количество на модель: 1
1702021-8С
1
10

Номер детали на чертеже: 

10

Заглушка

Заводской номер: СQ72112 Количество на модель: 1
СQ72112
1
11

Номер детали на чертеже: 

11

Направляющий блок переключения пятой и шестой передач

Заводской номер: 1702065-11 Количество на модель: 1
1702065-11
1
12

Номер детали на чертеже: 

12

Вилка переключения первой и второй передач

Заводской номер: 1702054-680 Количество на модель: 1
1702054-680
1
13

Номер детали на чертеже: 

13

Вал вилки переключения первой и второй передач

Заводской номер: 1702053-11 Количество на модель: 1
1702053-11
1
14

Номер детали на чертеже: 

14

Направляющий блок переключения первой и второй передач

Заводской номер: 1702056-11 Количество на модель: 1
1702056-11
1
15

Номер детали на чертеже: 

15

Пружина блокировки вала вилки переключения передач

Заводской номер: 1702026-11 Количество на модель: 4
1702026-11
4
16

Номер детали на чертеже: 

16

Шарик блокировки вала вилки переключения передач

Заводской номер: Q966955 Количество на модель: 4
Q966955
4
17

Номер детали на чертеже: 

17

Штифт

Заводской номер: 1702028-11 Количество на модель: 4
1702028-11
4
18

Номер детали на чертеже: 

18

Вал вилки переключения пятой и шестой передач

Заводской номер: 1702061-120 Количество на модель:
1702061-120
19

Номер детали на чертеже: 

19

Направляющий блок переключения пятой и шестой скорости

Заводской номер: 1702071-14 Количество на модель: 1
1702071-14
1
20

Номер детали на чертеже: 

20

Рычаг переключения пятой и шестой скорости

Заводской номер: 1702074-14 Количество на модель: 1
1702074-14
1
21

Номер детали на чертеже: 

21

Шайба

Заводской номер: 1702076-14 Количество на модель: 1
1702076-14
1
22

Номер детали на чертеже: 

22

Переводный вал-пятая и шестая скорости

Заводской номер: 1702073-14 Количество на модель: 1
1702073-14
1
23

Номер детали на чертеже: 

23

Штифт

Заводской номер: 1702029-11 Количество на модель: 3
1702029-11
3
24

Номер детали на чертеже: 

24

Вилка переключения третьей и четвертой передач

Заводской номер: 1702058-11 Количество на модель: 1
1702058-11
1
25

Номер детали на чертеже: 

25

Вал вилки переключения третьей и четвертой передач

Заводской номер: 1702057-14 Количество на модель: 1
1702057-14
1
26

Номер детали на чертеже: 

26

Головка переключения заднего хода

Заводской номер: 1702045-11 Количество на модель: 1
1702045-11
1
27

Номер детали на чертеже: 

27

Вал вилки включения заднего хода

Заводской номер: 1702036-11 Количество на модель: 1
1702036-11
1
28

Номер детали на чертеже: 

28

Вилка переключения заднего хода

Заводской номер: 1702037-11 Количество на модель: 1
1702037-11
1