8 800 700-05-95 Все контакты

C 9:00 до 20:00. Звонок по РФ бесплатный

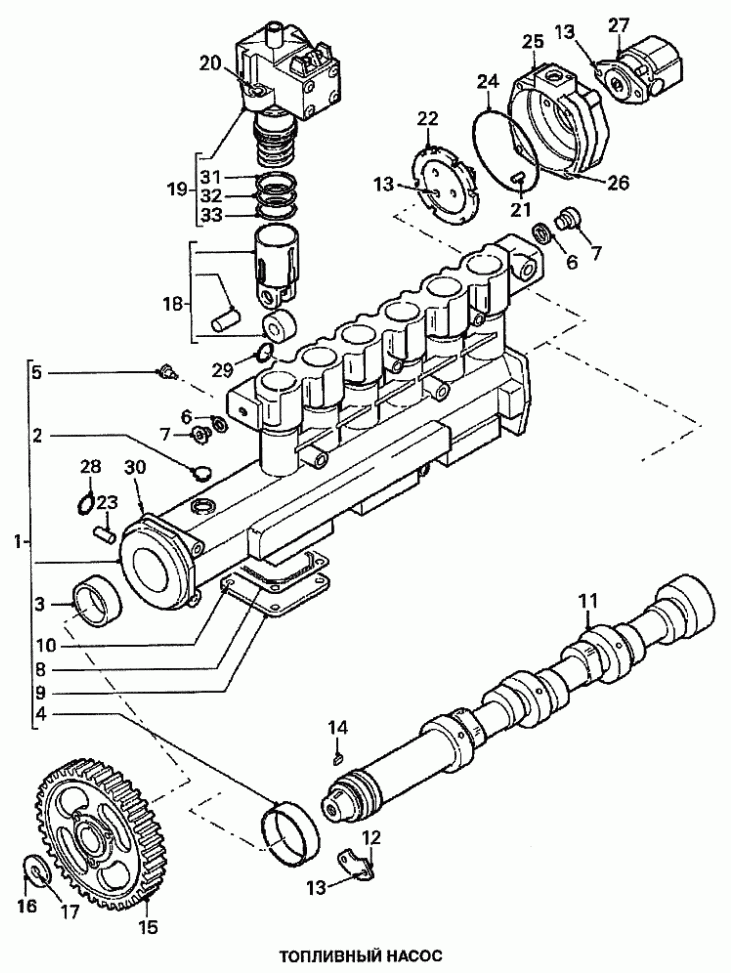
Насос топливный 95XF

ВниманиеЭлектронный автокаталог запчастей предназначен для справочных целей! Наша компания продает только те товары, у которых есть цены в списке.

Вид отображения:

Детали справа
1

Номер детали на чертеже: 

1

Корпус топливного насоса

Заводской номер: 1368664 Количество на модель: 1
1368664
1
2

Номер детали на чертеже: 

2

Пробка для прокачки (D=25)

Заводской номер: 0214991 Количество на модель: 1
0214991
1
3

Номер детали на чертеже: 

3

Вкладыш подшипника скольжения

Заводской номер: 0241754 Количество на модель: 2
0241754
2
4

Номер детали на чертеже: 

4

Вкладыш

Заводской номер: 1307213 Количество на модель: 3
1307213
3
5

Номер детали на чертеже: 

5

Стопор

Заводской номер: 1309849 Количество на модель: 6
1309849
6
6

Номер детали на чертеже: 

6

Медное уплотнительное кольцо 14,2х19,9х1,5

Заводской номер: 0244680 Количество на модель: 1
0244680
1
7

Номер детали на чертеже: 

7

Пробка М14х1,5

Заводской номер: 0210914 Количество на модель: 1
0210914
1
8

Номер детали на чертеже: 

8

Прокладка

Заводской номер: 1355385 Количество на модель: 3
1355385
3
9

Номер детали на чертеже: 

9

Крышка

Заводской номер: 1337898 Количество на модель: 3
1337898
3
10

Номер детали на чертеже: 

10

Болт с фланцем М8х18

Заводской номер: 1313139 Количество на модель: 12
1313139
12
11

Номер детали на чертеже: 

11

Кулачковый вал

Заводской номер: 1340851 Количество на модель: 1
1340851
1
12

Номер детали на чертеже: 

12

Фиксирующая пластина

Заводской номер: 1317855 Количество на модель: 1
1317855
1
13

Номер детали на чертеже: 

13

Болт с фланцем М8х22 10,9

Заводской номер: 1317881 Количество на модель: 7
1317881
7
14

Номер детали на чертеже: 

14

Шпонка

Заводской номер: 1340462 Количество на модель: 1
1340462
1
15

Номер детали на чертеже: 

15

Звездочка привода ТНВД

Заводской номер: 1320336 Количество на модель: 1
1320336
1
16

Номер детали на чертеже: 

16

Прижимная шайба

Заводской номер: 1303544 Количество на модель: 1
1303544
1
17

Номер детали на чертеже: 

17

Болт с фланцем М16х50 10,9

Заводской номер: 1231065 Количество на модель: 1
1231065
1
18

Номер детали на чертеже: 

18

Толкатель

Заводской номер: 1324179 Количество на модель: 6
1324179
6
19

Номер детали на чертеже: 

19

Секция топливного насоса

Заводской номер: 1379110 Количество на модель: 6
1379110
6
20

Номер детали на чертеже: 

20

Болт с шестигранным гнездом в головке

Заводской номер: 1345207 Количество на модель: 12
1345207
12
21

Номер детали на чертеже: 

21

Штифт

Заводской номер: 0202591 Количество на модель: 2
0202591
2
22

Номер детали на чертеже: 

22

Ведущий фланец

Заводской номер: 1376732 Количество на модель: 1
1376732
1
23

Номер детали на чертеже: 

23

Штифт 10х20

Заводской номер: 0251837 Количество на модель: 2
0251837
2
24

Номер детали на чертеже: 

24

Уплотнительное кольцо

Заводской номер: 0761099 Количество на модель: 1
0761099
1
25

Номер детали на чертеже: 

25

Крышка ТНВД

Заводской номер: 1355387 Количество на модель: 1
1355387
1
26

Номер детали на чертеже: 

26

Болт с фланцем М8х65 10,9

Заводской номер: 1313122 Количество на модель: 4
1313122
4
27

Номер детали на чертеже: 

27

Подкачивающий насос

Заводской номер: 1339200 Количество на модель: 1
1339200
1
28

Номер детали на чертеже: 

28

Уплотнительное кольцо (D=17)

Заводской номер: 1285660 Количество на модель: 1
1285660
1
29

Номер детали на чертеже: 

29

Уплотнительное кольцо (D=21,82)

Заводской номер: 1285613 Количество на модель: 1
1285613
1
30

Номер детали на чертеже: 

30

Болт с фланцем М10х120

Заводской номер: 1313562 Количество на модель: 5
1313562
5
31

Номер детали на чертеже: 

31

Верхнее уплотнительное кольцо ТНВД

Заводской номер: 1351365 Количество на модель:
1351365
32

Номер детали на чертеже: 

32

Среднее уплотнительное кольцо ТНВД

Заводской номер: 1351366 Количество на модель:
1351366
33

Номер детали на чертеже: 

33

Нижнее уплотнительное кольцо ТНВД

Заводской номер: 1351367 Количество на модель:
1351367