C 9:00 до 20:00. Звонок по РФ бесплатный

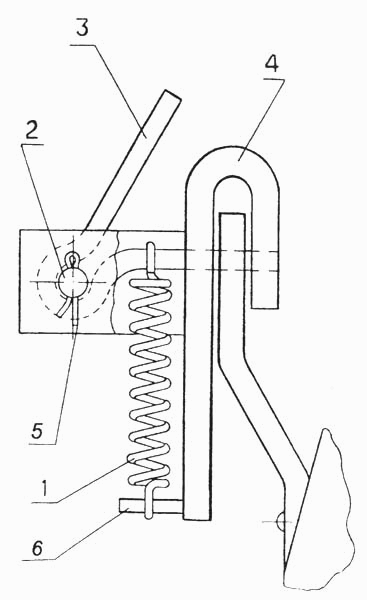
Рычажный механизм глубины хода секции рабочих органов КРНВ-5.6-02. Каталог 2008г.

ВниманиеЭлектронный автокаталог запчастей предназначен для справочных целей! Наша компания продает только те товары, у которых есть цены в списке.

Вид отображения:

Детали справа
1
2
3
4
5
6
1

Номер детали на чертеже: 

1

Пружина

Заводской номер: Н-089.02.606 Количество на модель: 13
Н-089.02.606
13
2

Номер детали на чертеже: 

2

Штырь

Заводской номер: С4.601 Количество на модель: 13
С4.601
13
3

Номер детали на чертеже: 

3

Крюк

Заводской номер: Н 089.02.604 Количество на модель: 13
Н 089.02.604
13
4

Номер детали на чертеже: 

4

Рычаг

Заводской номер: Н-089.02.404 Количество на модель: 13
Н-089.02.404
13
5

Номер детали на чертеже: 

5

Шплинт

Заводской номер: 3.2х20.019 ГОСТ 397 Количество на модель: 13
3.2х20.019 ГОСТ 397
13
6

Номер детали на чертеже: 

6

Шплинт

Заводской номер: 5х36.019 ГОСТ 397 Количество на модель: 13
5х36.019 ГОСТ 397
13