C 9:00 до 20:00. Звонок по РФ бесплатный

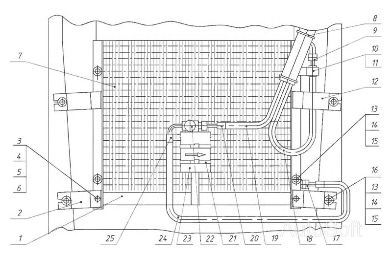
Установка конденсатора и фильтра-осушителя МТЗ-2022. Каталог 2010г.

ВниманиеЭлектронный автокаталог запчастей предназначен для справочных целей! Наша компания продает только те товары, у которых есть цены в списке.

Вид отображения:

Детали справа
1

Номер детали на чертеже: 

1

Кронштейн

Заводской номер: 3022-8112050 Количество на модель: 1
3022-8112050
1
2

Номер детали на чертеже: 

2

Кронштейн

Заводской номер: 3022-8112110 Количество на модель: 1
3022-8112110
1
3

Номер детали на чертеже: 

3

Винт

Заводской номер: M6-6gx25.88.35.019 Количество на модель: 2
M6-6gx25.88.35.019
2
4

Номер детали на чертеже: 

4

Гайка

Заводской номер: М6-6Н.6.019 Количество на модель: 2
М6-6Н.6.019
2
261521
МТЗ
913011 М6-6Н.6.019
Код: 261521
Артикул: 913011, М6-6Н.6.019
Нет в наличии

На складах : Нет в наличии

Производитель: МТЗ
5

Номер детали на чертеже: 

5

Шайба

Заводской номер: С6.01.019 Количество на модель: 2
С6.01.019
2
6

Номер детали на чертеже: 

6

Шайба

Заводской номер: Количество на модель: 2
2
7

Номер детали на чертеже: 

7

Конденсатор

Заводской номер: U00022437 Количество на модель: 1
U00022437
1
8

Номер детали на чертеже: 

8

Манжета

Заводской номер: 80-3723045-01 Количество на модель: 2
80-3723045-01
2
9

Номер детали на чертеже: 

9

Фитинг 70108FG095

Заводской номер: 70108FG095 Количество на модель: 1
70108FG095
1
10

Номер детали на чертеже: 

10

Хомутик

Заводской номер: 923-3723012 Количество на модель: 1
923-3723012
1
11

Номер детали на чертеже: 

11

Трубка

Заводской номер: 3022-8100011 Количество на модель: 1
3022-8100011
1
12

Номер детали на чертеже: 

12

Кронштейн

Заводской номер: 3022-8112110-01 Количество на модель: 1
3022-8112110-01
1
13

Номер детали на чертеже: 

13

Гайка

Заводской номер: М8-6Н.6.019 Количество на модель: 6
М8-6Н.6.019
6
14

Номер детали на чертеже: 

14

Шайба

Заводской номер: С8.01.019 Количество на модель: 6
С8.01.019
6
15

Номер детали на чертеже: 

15

Шайба

Заводской номер: Количество на модель: 6
6
16

Номер детали на чертеже: 

16

Болт

Заводской номер: M8-6gx25.88.35.019 Количество на модель: 2
M8-6gx25.88.35.019
2
17

Номер детали на чертеже: 

17

Фитинг 70106FG056

Заводской номер: 70106FG056 Количество на модель: 1
70106FG056
1
18

Номер детали на чертеже: 

18

Шланг

Заводской номер: 90008GN1 Количество на модель: 1
90008GN1
1
19

Номер детали на чертеже: 

19

Шланг

Заводской номер: 90006 GN1 Количество на модель: 1
90006 GN1
1
20

Номер детали на чертеже: 

20

Фитинг

Заводской номер: 70106 FG039 Количество на модель: 1
70106 FG039
1
21

Номер детали на чертеже: 

21

Хомут

Заводской номер: TORRO 70-90/9-C6W Количество на модель: 2
TORRO 70-90/9-C6W
2
22

Номер детали на чертеже: 

22

Датчик давления

Заводской номер: Датчик давления Количество на модель: 1
Датчик давления
1
23

Номер детали на чертеже: 

23

Фильтр-осушитель 017051

Заводской номер: 017051 Количество на модель: 1
017051
1
24

Номер детали на чертеже: 

24

Шланг

Заводской номер: 90006GN1 Количество на модель: 1
90006GN1
1
25

Номер детали на чертеже: 

25

Фитинг

Заводской номер: 70106FG032 Количество на модель: 1
70106FG032
1