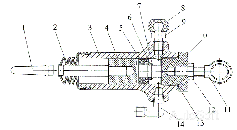
Рабочий цилиндр МТЗ-1222/1523. Каталог 2009г.
Компания FENOX начала свой путь в 1989 году, когда на постсоветском пространстве появилась небольшая фирма, выпускавшая гидравлические цилиндры для автомобилей ВАЗ. С тех пор компания прошла долгий путь развития — от узкоспециализированного производителя до международного концерна с современными заводами в Беларуси, России и Германии. В 1996 году FENOX сделала важный шаг, приобретя оборудование немецкой Bremse Hydraulic, что позволило значительно повысить качество продукции и выйти на рынки Европы и Америки. Сегодня FENOX — это более 12 современных производственных площадок и тысячи сотрудников, среди которых сотни инженеров, работающих над инновационными решениями и расширением ассортимента.
Ассортимент продукции FENOX насчитывает более 5000 наименований автокомпонентов, охватывающих все ключевые системы автомобиля. Компания производит детали для тормозных систем, электрических и охлаждающих систем, подвески, трансмиссии и рулевого управления. В числе выпускаемых изделий — амортизаторы, тормозные диски и колодки, гидроцилиндры, генераторы, стартеры, свечи зажигания, рулевые рейки, насосы, муфты сцепления, вентиляторы отопления и охлаждения, а также комплектующие для карданных шарниров и многое другое. Продукция ориентирована на широкий спектр техники: от легковых автомобилей ВАЗ и зарубежных брендов до грузовиков КАМАЗ, МАЗ, ГАЗ и УАЗ.
FENOX известна своей приверженностью качеству и инновациям. Компания обладает собственным конструкторским бюро и испытательным центром, аккредитованным по международным стандартам, что гарантирует надежность и безопасность выпускаемых изделий. Сертификация по ISO 9001 и соответствие требованиям VDA 6.1 позволяют поставлять продукцию не только на вторичный рынок, но и на конвейеры ведущих мировых автопроизводителей, таких как Volkswagen, Renault, General Motors и другие.
Сегодня FENOX экспортирует свою продукцию более чем в 50 стран мира, укрепляя позиции на международном рынке и продолжая расширять ассортимент. В планах компании — дальнейшее внедрение современных технологий, развитие производства и создание новых решений, которые помогут сделать автомобили еще более надежными и безопасными. История FENOX — это пример успешного развития, основанного на качестве, инновациях и стремлении удовлетворять потребности самых требовательных клиентов.
Ассортимент:
- Система охлаждения
- Электрическая система
- Система рулевого управления
- Система подвески
- Система трансмиссии
- Главные тормозные цилиндры
- Датчики ABS
- Лямбда-зонды
Компания FENOX начала свой путь в 1989 году, когда на постсоветском пространстве появилась небольшая фирма, выпускавшая гидравлические цилиндры для автомобилей ВАЗ. С тех пор компания прошла долгий путь развития — от узкоспециализированного производителя до международного концерна с современными заводами в Беларуси, России и Германии. В 1996 году FENOX сделала важный шаг, приобретя оборудование немецкой Bremse Hydraulic, что позволило значительно повысить качество продукции и выйти на рынки Европы и Америки. Сегодня FENOX — это более 12 современных производственных площадок и тысячи сотрудников, среди которых сотни инженеров, работающих над инновационными решениями и расширением ассортимента.
Ассортимент продукции FENOX насчитывает более 5000 наименований автокомпонентов, охватывающих все ключевые системы автомобиля. Компания производит детали для тормозных систем, электрических и охлаждающих систем, подвески, трансмиссии и рулевого управления. В числе выпускаемых изделий — амортизаторы, тормозные диски и колодки, гидроцилиндры, генераторы, стартеры, свечи зажигания, рулевые рейки, насосы, муфты сцепления, вентиляторы отопления и охлаждения, а также комплектующие для карданных шарниров и многое другое. Продукция ориентирована на широкий спектр техники: от легковых автомобилей ВАЗ и зарубежных брендов до грузовиков КАМАЗ, МАЗ, ГАЗ и УАЗ.
FENOX известна своей приверженностью качеству и инновациям. Компания обладает собственным конструкторским бюро и испытательным центром, аккредитованным по международным стандартам, что гарантирует надежность и безопасность выпускаемых изделий. Сертификация по ISO 9001 и соответствие требованиям VDA 6.1 позволяют поставлять продукцию не только на вторичный рынок, но и на конвейеры ведущих мировых автопроизводителей, таких как Volkswagen, Renault, General Motors и другие.
Сегодня FENOX экспортирует свою продукцию более чем в 50 стран мира, укрепляя позиции на международном рынке и продолжая расширять ассортимент. В планах компании — дальнейшее внедрение современных технологий, развитие производства и создание новых решений, которые помогут сделать автомобили еще более надежными и безопасными. История FENOX — это пример успешного развития, основанного на качестве, инновациях и стремлении удовлетворять потребности самых требовательных клиентов.
Ассортимент:
- Система охлаждения
- Электрическая система
- Система рулевого управления
- Система подвески
- Система трансмиссии
- Главные тормозные цилиндры
- Датчики ABS
- Лямбда-зонды
MEGAPOWER Automotive – бренд с почти 30-летней историей.
История производства автомобильных компонентов MEGAPOWER Automotive началась в 1995 году. Бренд MEGAPOWER Automotive стал одним из первых на рынке, кто предложил автомобилистам светодиодные лампы в качестве достойной и технологичной альтернативы традиционным лампочкам накаливания. На протяжении второй половины 90-х и начала 2000х годов к ассортименту выпускаемой MEGAPOWER продукции добавились компрессоры для шин, безотказно работающие при любой погоде и обстоятельствах, щетки стеклоочистителя для широкой гаммы легковых и грузовых автомобилей, гидравлические домкраты грузоподъемностью до 50-ти тонн, надежные буксировочные тросы, зарядные устройства, стяжки груза и многое другое.
Важная особенность MEGAPOWER Automotive – поступательное развитие и внимание к деталям. Сочетание высоких технических характеристик, практичность и разумные цены сделали продукцию MEGAPOWER крайне востребованной как опытными водителями, так и сотрудниками сервисных центров.
В начале 2010-х MEGAPOWER Automotive перешел к новому этапу своего развития. Существенно расширился ассортименти и параллельно был запущен проект по выходу на смежный рынок автомобильных запчастей. С этого момента компания разделила 2 своих направления: автотовары, светотехнику и аксессуары продолжили выпускать с исходным красным логотипом, а для автомобильных запчастей была разработана обновленная стилистика оформления, упаковки и черно-голубой логотип.
Абсолютно все запасные части MEGAPOWER Automotive перед тем как попасть к конечному потребителю проверяются на 4х независимых этапах: проверка качества сырья перед началом производственного цикла, постоянный контроль всех параметров технологического процесса, осмотр и контроль изготовленных деталей перед упаковкой, выборочные испытания деталей из каждой партии на специализированных стендах. Запчасти MEGAPOWER имеют расширенную гарантию до 2 лет.
Основу предложения запасных частей MEGAPOWER Automotive составили высококачественные детали для грузовиков, малотоннажного транспорта, а с 2022 года и легковых автомобилей. Сегодня бренд выпускает запчасти двигателя и трансмиссии, подвески и ходовой части, тормозной и рулевой систем, электрооборудование и многое другое.
Продолжая свое развитие, MEGAPOWER Automotive совершенствует технологии, расширяет ассортимент, активно взаимодействует с потребителями продукции, улучшая текущие товары и разрабатывая новые.
Преимущества бренда:
- постоянное расширение ассортимента;
- двухлетняя гарантия качества продукции (1 год на турбокомпрессоры и автотовары);
- более 3500 позиций для грузовых и легковых автомобилей;
- крупносерийное производство;
- квалифицированные специалисты в области инженерных разработок;
На складах : 72 шт.
MEGAPOWER Automotive – бренд с почти 30-летней историей.
История производства автомобильных компонентов MEGAPOWER Automotive началась в 1995 году. Бренд MEGAPOWER Automotive стал одним из первых на рынке, кто предложил автомобилистам светодиодные лампы в качестве достойной и технологичной альтернативы традиционным лампочкам накаливания. На протяжении второй половины 90-х и начала 2000х годов к ассортименту выпускаемой MEGAPOWER продукции добавились компрессоры для шин, безотказно работающие при любой погоде и обстоятельствах, щетки стеклоочистителя для широкой гаммы легковых и грузовых автомобилей, гидравлические домкраты грузоподъемностью до 50-ти тонн, надежные буксировочные тросы, зарядные устройства, стяжки груза и многое другое.
Важная особенность MEGAPOWER Automotive – поступательное развитие и внимание к деталям. Сочетание высоких технических характеристик, практичность и разумные цены сделали продукцию MEGAPOWER крайне востребованной как опытными водителями, так и сотрудниками сервисных центров.
В начале 2010-х MEGAPOWER Automotive перешел к новому этапу своего развития. Существенно расширился ассортименти и параллельно был запущен проект по выходу на смежный рынок автомобильных запчастей. С этого момента компания разделила 2 своих направления: автотовары, светотехнику и аксессуары продолжили выпускать с исходным красным логотипом, а для автомобильных запчастей была разработана обновленная стилистика оформления, упаковки и черно-голубой логотип.
Абсолютно все запасные части MEGAPOWER Automotive перед тем как попасть к конечному потребителю проверяются на 4х независимых этапах: проверка качества сырья перед началом производственного цикла, постоянный контроль всех параметров технологического процесса, осмотр и контроль изготовленных деталей перед упаковкой, выборочные испытания деталей из каждой партии на специализированных стендах. Запчасти MEGAPOWER имеют расширенную гарантию до 2 лет.
Основу предложения запасных частей MEGAPOWER Automotive составили высококачественные детали для грузовиков, малотоннажного транспорта, а с 2022 года и легковых автомобилей. Сегодня бренд выпускает запчасти двигателя и трансмиссии, подвески и ходовой части, тормозной и рулевой систем, электрооборудование и многое другое.
Продолжая свое развитие, MEGAPOWER Automotive совершенствует технологии, расширяет ассортимент, активно взаимодействует с потребителями продукции, улучшая текущие товары и разрабатывая новые.
Преимущества бренда:
- постоянное расширение ассортимента;
- двухлетняя гарантия качества продукции (1 год на турбокомпрессоры и автотовары);
- более 3500 позиций для грузовых и легковых автомобилей;
- крупносерийное производство;
- квалифицированные специалисты в области инженерных разработок;
Компания FENOX начала свой путь в 1989 году, когда на постсоветском пространстве появилась небольшая фирма, выпускавшая гидравлические цилиндры для автомобилей ВАЗ. С тех пор компания прошла долгий путь развития — от узкоспециализированного производителя до международного концерна с современными заводами в Беларуси, России и Германии. В 1996 году FENOX сделала важный шаг, приобретя оборудование немецкой Bremse Hydraulic, что позволило значительно повысить качество продукции и выйти на рынки Европы и Америки. Сегодня FENOX — это более 12 современных производственных площадок и тысячи сотрудников, среди которых сотни инженеров, работающих над инновационными решениями и расширением ассортимента.
Ассортимент продукции FENOX насчитывает более 5000 наименований автокомпонентов, охватывающих все ключевые системы автомобиля. Компания производит детали для тормозных систем, электрических и охлаждающих систем, подвески, трансмиссии и рулевого управления. В числе выпускаемых изделий — амортизаторы, тормозные диски и колодки, гидроцилиндры, генераторы, стартеры, свечи зажигания, рулевые рейки, насосы, муфты сцепления, вентиляторы отопления и охлаждения, а также комплектующие для карданных шарниров и многое другое. Продукция ориентирована на широкий спектр техники: от легковых автомобилей ВАЗ и зарубежных брендов до грузовиков КАМАЗ, МАЗ, ГАЗ и УАЗ.
FENOX известна своей приверженностью качеству и инновациям. Компания обладает собственным конструкторским бюро и испытательным центром, аккредитованным по международным стандартам, что гарантирует надежность и безопасность выпускаемых изделий. Сертификация по ISO 9001 и соответствие требованиям VDA 6.1 позволяют поставлять продукцию не только на вторичный рынок, но и на конвейеры ведущих мировых автопроизводителей, таких как Volkswagen, Renault, General Motors и другие.
Сегодня FENOX экспортирует свою продукцию более чем в 50 стран мира, укрепляя позиции на международном рынке и продолжая расширять ассортимент. В планах компании — дальнейшее внедрение современных технологий, развитие производства и создание новых решений, которые помогут сделать автомобили еще более надежными и безопасными. История FENOX — это пример успешного развития, основанного на качестве, инновациях и стремлении удовлетворять потребности самых требовательных клиентов.
Ассортимент:
- Система охлаждения
- Электрическая система
- Система рулевого управления
- Система подвески
- Система трансмиссии
- Главные тормозные цилиндры
- Датчики ABS
- Лямбда-зонды
Компания FENOX начала свой путь в 1989 году, когда на постсоветском пространстве появилась небольшая фирма, выпускавшая гидравлические цилиндры для автомобилей ВАЗ. С тех пор компания прошла долгий путь развития — от узкоспециализированного производителя до международного концерна с современными заводами в Беларуси, России и Германии. В 1996 году FENOX сделала важный шаг, приобретя оборудование немецкой Bremse Hydraulic, что позволило значительно повысить качество продукции и выйти на рынки Европы и Америки. Сегодня FENOX — это более 12 современных производственных площадок и тысячи сотрудников, среди которых сотни инженеров, работающих над инновационными решениями и расширением ассортимента.
Ассортимент продукции FENOX насчитывает более 5000 наименований автокомпонентов, охватывающих все ключевые системы автомобиля. Компания производит детали для тормозных систем, электрических и охлаждающих систем, подвески, трансмиссии и рулевого управления. В числе выпускаемых изделий — амортизаторы, тормозные диски и колодки, гидроцилиндры, генераторы, стартеры, свечи зажигания, рулевые рейки, насосы, муфты сцепления, вентиляторы отопления и охлаждения, а также комплектующие для карданных шарниров и многое другое. Продукция ориентирована на широкий спектр техники: от легковых автомобилей ВАЗ и зарубежных брендов до грузовиков КАМАЗ, МАЗ, ГАЗ и УАЗ.
FENOX известна своей приверженностью качеству и инновациям. Компания обладает собственным конструкторским бюро и испытательным центром, аккредитованным по международным стандартам, что гарантирует надежность и безопасность выпускаемых изделий. Сертификация по ISO 9001 и соответствие требованиям VDA 6.1 позволяют поставлять продукцию не только на вторичный рынок, но и на конвейеры ведущих мировых автопроизводителей, таких как Volkswagen, Renault, General Motors и другие.
Сегодня FENOX экспортирует свою продукцию более чем в 50 стран мира, укрепляя позиции на международном рынке и продолжая расширять ассортимент. В планах компании — дальнейшее внедрение современных технологий, развитие производства и создание новых решений, которые помогут сделать автомобили еще более надежными и безопасными. История FENOX — это пример успешного развития, основанного на качестве, инновациях и стремлении удовлетворять потребности самых требовательных клиентов.
Ассортимент:
- Система охлаждения
- Электрическая система
- Система рулевого управления
- Система подвески
- Система трансмиссии
- Главные тормозные цилиндры
- Датчики ABS
- Лямбда-зонды
ЗАО «Концерн «ПРАМО» - один из ведущих производителей автомобильного и моторного оборудования в России и странах СНГ. Миссия Концерна «ПРАМО» - удовлетворение потребностей рынка транспортных средств в автомобильных комплектующих. Видение Концерна «ПРАМО» - стать в России компанией-лидером по производству современных автомобильных комплектующих. Концерн «ПРАМО» производит следующие виды автомобильных компонентов: - Автомобильное электрооборудование (генераторы, стартеры, системы стеклоочистки); - Системы охлаждения двигателя (радиаторы, термостаты); Собственная производственная деятельность Концерна «ПРАМО» осуществляется на следующих площадках, расположенных в Центральном Федеральном Округе России: - ОАО «ЭЛТРА», ООО "Прамо - Электро" г.Ржев, Тверская область. Производство генераторов и стартеров; - ОАО «Ставровский завод автотракторного оборудования», пос.Ставрово, Владимирская область. Производство щеток и рычагов стеклоочистителей; - ООО «СТАТО», пос.Ставрово, Владимирская область. Производство термостатов, термосиловых датчиков, жиклеров, стеклоомывателей и стеклоочистителей; - ООО Совместное Предприятие «ПРАМО ИСКРА», г.Ржев, Тверская область. Производство редукторных стартеров; Практически все предприятия, входящие в Концерн «ПРАМО» сертифицированы на соответствие требованиям международного стандарта ISO 9001:2001. В настоящее время ведется работа по дальнейшему совершенствованию системы управления качеством с целью ее сертификации на соответствие требованиям ISO 16949:2002. Ключевыми партнерами Концерна «ПРАМО» являются такие производители автомобильной техники и комплектующих в России как АВТОВАЗ, КАМАЗ, ГАЗ, ЗМЗ, ЯМЗ и др., а также крупнейшие национальные оптово-розничные сети по продажам автозапчастей, в том числе и содружество компаний "АвтоАльянс".
ЗАО «Концерн «ПРАМО» - один из ведущих производителей автомобильного и моторного оборудования в России и странах СНГ. Миссия Концерна «ПРАМО» - удовлетворение потребностей рынка транспортных средств в автомобильных комплектующих. Видение Концерна «ПРАМО» - стать в России компанией-лидером по производству современных автомобильных комплектующих. Концерн «ПРАМО» производит следующие виды автомобильных компонентов: - Автомобильное электрооборудование (генераторы, стартеры, системы стеклоочистки); - Системы охлаждения двигателя (радиаторы, термостаты); Собственная производственная деятельность Концерна «ПРАМО» осуществляется на следующих площадках, расположенных в Центральном Федеральном Округе России: - ОАО «ЭЛТРА», ООО "Прамо - Электро" г.Ржев, Тверская область. Производство генераторов и стартеров; - ОАО «Ставровский завод автотракторного оборудования», пос.Ставрово, Владимирская область. Производство щеток и рычагов стеклоочистителей; - ООО «СТАТО», пос.Ставрово, Владимирская область. Производство термостатов, термосиловых датчиков, жиклеров, стеклоомывателей и стеклоочистителей; - ООО Совместное Предприятие «ПРАМО ИСКРА», г.Ржев, Тверская область. Производство редукторных стартеров; Практически все предприятия, входящие в Концерн «ПРАМО» сертифицированы на соответствие требованиям международного стандарта ISO 9001:2001. В настоящее время ведется работа по дальнейшему совершенствованию системы управления качеством с целью ее сертификации на соответствие требованиям ISO 16949:2002. Ключевыми партнерами Концерна «ПРАМО» являются такие производители автомобильной техники и комплектующих в России как АВТОВАЗ, КАМАЗ, ГАЗ, ЗМЗ, ЯМЗ и др., а также крупнейшие национальные оптово-розничные сети по продажам автозапчастей, в том числе и содружество компаний "АвтоАльянс".
