C 9:00 до 20:00. Звонок по РФ бесплатный

Axle for track marker D30x595 668A Thorit 9/400 KA. Каталог 2003г.

ВниманиеЭлектронный автокаталог запчастей предназначен для справочных целей! Наша компания продает только те товары, у которых есть цены в списке.

Вид отображения:

Детали справа
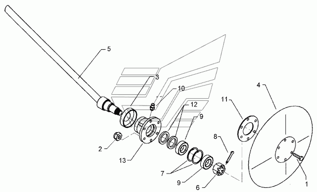
1
2
3
4
5
6
7
8
9
10
11
12
13
1

Номер детали на чертеже: 

1

Screw

Заводской номер: 301 3224 Количество на модель: 6
301 3224
6
2

Номер детали на чертеже: 

2

Selflocking nut

Заводской номер: 303 0933 Количество на модель: 6
303 0933
6
3

Номер детали на чертеже: 

3

Cap

Заводской номер: 323 0410 Количество на модель: 1
323 0410
1
4

Номер детали на чертеже: 

4

Hollow disc

Заводской номер: 349 0460 Количество на модель: 1
349 0460
1
5

Номер детали на чертеже: 

5

Axle

Заводской номер: 482 1248 Количество на модель: 1
482 1248
1
6

Номер детали на чертеже: 

6

Castle nut

Заводской номер: 303 0193 Количество на модель: 1
303 0193
1
7

Номер детали на чертеже: 

7

Securing ring

Заводской номер: 305 8924 Количество на модель: 2
305 8924
2
8

Номер детали на чертеже: 

8

Peg

Заводской номер: 311 7613 Количество на модель: 1
311 7613
1
9

Номер детали на чертеже: 

9

Bearing

Заводской номер: 319 9116 Количество на модель: 2
319 9116
2
10

Номер детали на чертеже: 

10

Grease nipple

Заводской номер: 323 6345 Количество на модель: 1
323 6345
1
11

Номер детали на чертеже: 

11

Seal

Заводской номер: 323 7641 Количество на модель: 1
323 7641
1
12

Номер детали на чертеже: 

12

Oil seal

Заводской номер: 323 8032 Количество на модель: 2
323 8032
2
13

Номер детали на чертеже: 

13

Hub

Заводской номер: 447 8882 Количество на модель: 1
447 8882
1