8 800 700-05-95 Все контакты

C 9:00 до 20:00. Звонок по РФ бесплатный

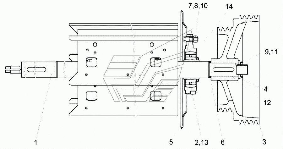
Битер отбойный КЗК 0105150 KЗС-812. Каталог 2016г.

ВниманиеЭлектронный автокаталог запчастей предназначен для справочных целей! Наша компания продает только те товары, у которых есть цены в списке.

Номер детали на чертеже: 

Битер отбойный

Заводской номер: КЗК0105150 Количество на модель: 1
КЗК0105150
1

Номер детали на чертеже: 

Битер отбойный

Заводской номер: КЗК0105160 Количество на модель: 1
КЗК0105160
1

Номер детали на чертеже: 

Фланец

Заводской номер: КЗК-10-0102070 Количество на модель: 1
КЗК-10-0102070
1

Номер детали на чертеже: 

Опора

Заводской номер: КЗК0102350 Количество на модель: 1
КЗК0102350
1
2

Номер детали на чертеже: 

2

Корпус подшипника

Заводской номер: КЗК0102101 Количество на модель: 1
КЗК0102101
1
3

Номер детали на чертеже: 

3

Шкив

Заводской номер: КЗК0105203 Количество на модель: 1
КЗК0105203
1
4

Номер детали на чертеже: 

4

Шайба

Заводской номер: КЗК0102433 Количество на модель: 1
КЗК0102433
1
5

Номер детали на чертеже: 

5

Фланец

Заводской номер: КЗК-10-0102425 Количество на модель: 1
КЗК-10-0102425
1
6

Номер детали на чертеже: 

6

Кольцо

Заводской номер: КИС0114518-01 Количество на модель: 4
КИС0114518-01
4
7

Номер детали на чертеже: 

7

Болт М16-6gx50 - 7802

Заводской номер: БолтМ16-6gx50-7802 Количество на модель: 4
БолтМ16-6gx50-7802
4
8

Номер детали на чертеже: 

8

Гайка М16-6G-5915

Заводской номер: ГайкаМ16-6G-5915 Количество на модель: 4
ГайкаМ16-6G-5915
4
9

Номер детали на чертеже: 

9

Гайка М42Х1,5-6H - 11871

Заводской номер: ГайкаМ42Х1,5-6H-11871 Количество на модель: 1
ГайкаМ42Х1,5-6H-11871
1
10

Номер детали на чертеже: 

10

Шайба 16.65Г-6402

Заводской номер: Шайба1665Г-6402 Количество на модель: 4
Шайба1665Г-6402
4
11

Номер детали на чертеже: 

11

Шайба Н 42.01-11872

Заводской номер: ШайбаН42.01-11872 Количество на модель: 1
ШайбаН42.01-11872
1
12

Номер детали на чертеже: 

12

Шпонка 16Х10Х90 - 23360

Заводской номер: Шпонка16Х10Х90-23360 Количество на модель: 1
Шпонка16Х10Х90-23360
1
13

Номер детали на чертеже: 

13

Масленка 1.3.Ц6-19853

Заводской номер: 1.3.Ц6-19853 Количество на модель: 1
1.3.Ц6-19853
1
14

Номер детали на чертеже: 

14

Подшипник

Заводской номер: 680314НК7С17 Количество на модель: 1
680314НК7С17
1