8 800 700-05-95 Все контакты

C 9:00 до 20:00. Звонок по РФ бесплатный

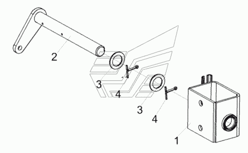
Опора КЗК 0119420А КЗС-575. Каталог 2016г.

ВниманиеЭлектронный автокаталог запчастей предназначен для справочных целей! Наша компания продает только те товары, у которых есть цены в списке.

Вид отображения:

Детали справа

Номер детали на чертеже: 

Опора

Заводской номер: КЗК0119420А Количество на модель: 1
КЗК0119420А
1
1

Номер детали на чертеже: 

1

Кронштейн

Заводской номер: КЗК0119430 Количество на модель: 1
КЗК0119430
1
2

Номер детали на чертеже: 

2

Вал

Заводской номер: КЗК0119440А Количество на модель: 1
КЗК0119440А
1
3

Номер детали на чертеже: 

3

Шайба специальная

Заводской номер: КИС0105438 Количество на модель: 2
КИС0105438
2
4

Номер детали на чертеже: 

4

Шплинт 4х36-397

Заводской номер: Шплинт4х36-397 Количество на модель: 2
Шплинт4х36-397
2