8 800 700-05-95 Все контакты

C 9:00 до 20:00. Звонок по РФ бесплатный

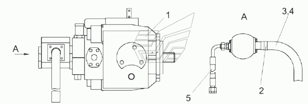
Установка гидронасосов КЗК-12-0601610 КЗС-10К Палессе GS10. Каталог 2018г.

ВниманиеЭлектронный автокаталог запчастей предназначен для справочных целей! Наша компания продает только те товары, у которых есть цены в списке.

Вид отображения:

Детали справа

Номер детали на чертеже: 

Установка гидронасосов

Заводской номер: КЗК-12-0601610 Количество на модель: 1
КЗК-12-0601610
1
1

Номер детали на чертеже: 

1

Насос двухсекционный

Заводской номер: КЗК-12-0601400 Количество на модель: 1
КЗК-12-0601400
1
2

Номер детали на чертеже: 

2

Хомут стяжной

Заводской номер: А23.02.170 Количество на модель: 1
А23.02.170
1
3

Номер детали на чертеже: 

3

Заглушка

Заводской номер: ЗРГ0600001-05 Количество на модель: 1
ЗРГ0600001-05
1
4

Номер детали на чертеже: 

4

Рукав всасывающий 17 G-20

Заводской номер: РНД0320022-65 Количество на модель: 1
РНД0320022-65
1
5

Номер детали на чертеже: 

5

Рукав высокого давления

Заводской номер: РВД16-2SN-М27х1,5 Количество на модель: 1
РВД16-2SN-М27х1,5
1