8 800 700-05-95 Все контакты

C 9:00 до 20:00. Звонок по РФ бесплатный

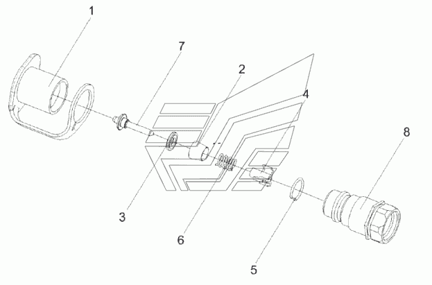
Полумуфта внутренняя МС 12-3-020 КВК-800 (FS80-7). Каталог 2017г.

ВниманиеЭлектронный автокаталог запчастей предназначен для справочных целей! Наша компания продает только те товары, у которых есть цены в списке.

Вид отображения:

Детали справа

Номер детали на чертеже: 

Полумуфта внутренняя

Заводской номер: МС12-3-020 Количество на модель: 1
МС12-3-020
1
1

Номер детали на чертеже: 

1

Заглушка наружная

Заводской номер: МС12-3-001 Количество на модель: 1
МС12-3-001
1
2

Номер детали на чертеже: 

2

Прижим

Заводской номер: МС12-3-002 Количество на модель: 1
МС12-3-002
1
3

Номер детали на чертеже: 

3

Кольцо

Заводской номер: МС12-3-003 Количество на модель: 1
МС12-3-003
1
4

Номер детали на чертеже: 

4

Втулка направляющая

Заводской номер: МС12-3-005 Количество на модель: 1
МС12-3-005
1
5

Номер детали на чертеже: 

5

Кольцо запорное

Заводской номер: МС12-3-601 Количество на модель: 1
МС12-3-601
1
6

Номер детали на чертеже: 

6

Пружина

Заводской номер: МС12-3-602 Количество на модель: 1
МС12-3-602
1
7

Номер детали на чертеже: 

7

Клапан

Заводской номер: МС12-3-607 Количество на модель: 1
МС12-3-607
1
8

Номер детали на чертеже: 

8

Корпус

Заводской номер: МС12-3-608 Количество на модель: 1
МС12-3-608
1