8 800 700-05-95 Все контакты

C 9:00 до 20:00. Звонок по РФ бесплатный

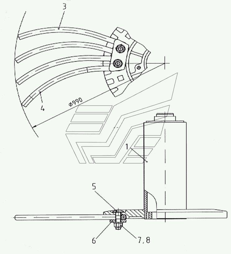
Очистительный ротор, в сборе, впереди - справа и слева SF-10-2. Каталог 2005г.

ВниманиеЭлектронный автокаталог запчастей предназначен для справочных целей! Наша компания продает только те товары, у которых есть цены в списке.

Вид отображения:

Детали справа

Номер детали на чертеже: 

Очистительный ротор

Заводской номер: 1S6-106-090-0 Количество на модель:
1S6-106-090-0
1

Номер детали на чертеже: 

1

Ступица очистительного ротора

Заводской номер: S6-106-090-002 Количество на модель:
S6-106-090-002
3

Номер детали на чертеже: 

3

Зубья очистительного ротора

Заводской номер: S1-101-090-001-001 Количество на модель:
S1-101-090-001-001
4

Номер детали на чертеже: 

4

Зубья очистительного ротора,

Заводской номер: S1-101-090-001-002 Количество на модель:
S1-101-090-001-002
5

Номер детали на чертеже: 

5

винт с плоской круглой головкой М16x60

Заводской номер: 4894 Количество на модель:
4894
6

Номер детали на чертеже: 

6

Плита

Заводской номер: S6-100-090-001-005 Количество на модель:
S6-100-090-001-005
7

Номер детали на чертеже: 

7

Шестигранная гайка М16

Заводской номер: 16918 Количество на модель:
16918
8

Номер детали на чертеже: 

8

Упругая зажимная шайба 16

Заводской номер: 25463 Количество на модель:
25463