8 800 700-05-95 Все контакты

C 9:00 до 20:00. Звонок по РФ бесплатный

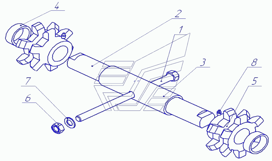
Вал ведомый ТП-10. Каталог 2010г.

ВниманиеЭлектронный автокаталог запчастей предназначен для справочных целей! Наша компания продает только те товары, у которых есть цены в списке.

Вид отображения:

Детали справа
1
2
3
4
5
6
7
8
1

Номер детали на чертеже: 

1

Болт натяжной

Заводской номер: ПТР23.00.000 Количество на модель: 1
ПТР23.00.000
1
2

Номер детали на чертеже: 

2

Вал

Заводской номер: ПТР00.00.006 Количество на модель: 1
ПТР00.00.006
1
3

Номер детали на чертеже: 

3

Втулка

Заводской номер: ПТР00.00.007 Количество на модель: 1
ПТР00.00.007
1
4

Номер детали на чертеже: 

4

Втулка

Заводской номер: ПТР00.00.008 Количество на модель: 2
ПТР00.00.008
2
5

Номер детали на чертеже: 

5

Звёздочка ведомая

Заводской номер: ПРТ-7А.16.05.000 Количество на модель: 2
ПРТ-7А.16.05.000
2
6

Номер детали на чертеже: 

6

Гайка

Заводской номер: М20-6Н.6.019 Количество на модель: 1
М20-6Н.6.019
1
7

Номер детали на чертеже: 

7

Шайба

Заводской номер: А.20.01.08кп.019 Количество на модель: 1
А.20.01.08кп.019
1
8

Номер детали на чертеже: 

8

Масленка

Заводской номер: 1.2.Ц6 Количество на модель: 2
1.2.Ц6
2