8 800 700-05-95 Все контакты

C 9:00 до 20:00. Звонок по РФ бесплатный

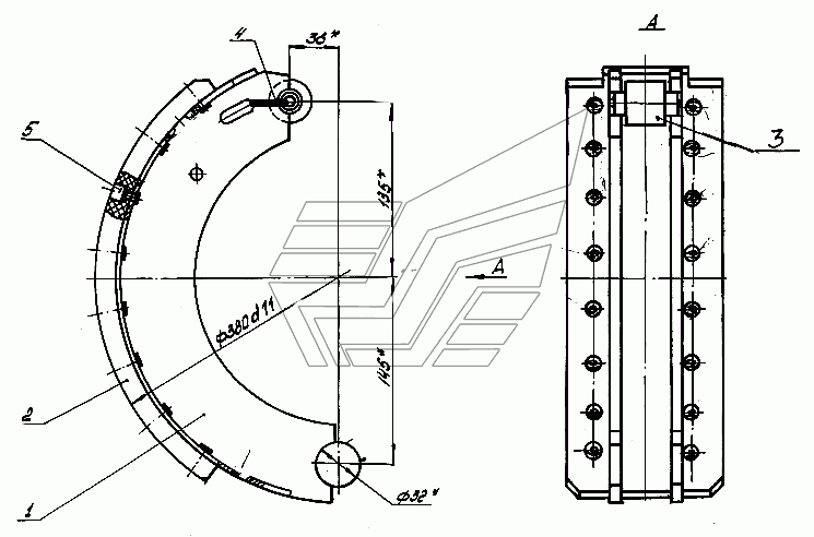
Колодка с накладкой (Н 129.00.030) ПСТБ-6. Каталог 2011г.

ВниманиеЭлектронный автокаталог запчастей предназначен для справочных целей! Наша компания продает только те товары, у которых есть цены в списке.

Вид отображения:

Детали справа
1
2
3
4
5
1

Номер детали на чертеже: 

1

Колодка

Заводской номер: Н129.00.040 Количество на модель: 1
Н129.00.040
1
2

Номер детали на чертеже: 

2

Накладка

Заводской номер: Н129.00.001 Количество на модель: 1
Н129.00.001
1
3

Номер детали на чертеже: 

3

Ролик

Заводской номер: Н129.00.602 Количество на модель: 1
Н129.00.602
1
4

Номер детали на чертеже: 

4

Стопор

Заводской номер: Н129.00.603 Количество на модель: 1
Н129.00.603
1
5

Номер детали на чертеже: 

5

Заклепка

Заводской номер: 2-6х10-62СТ12643-67 Количество на модель: 16
2-6х10-62СТ12643-67
16