8 800 700-05-95 Все контакты

C 9:00 до 20:00. Звонок по РФ бесплатный

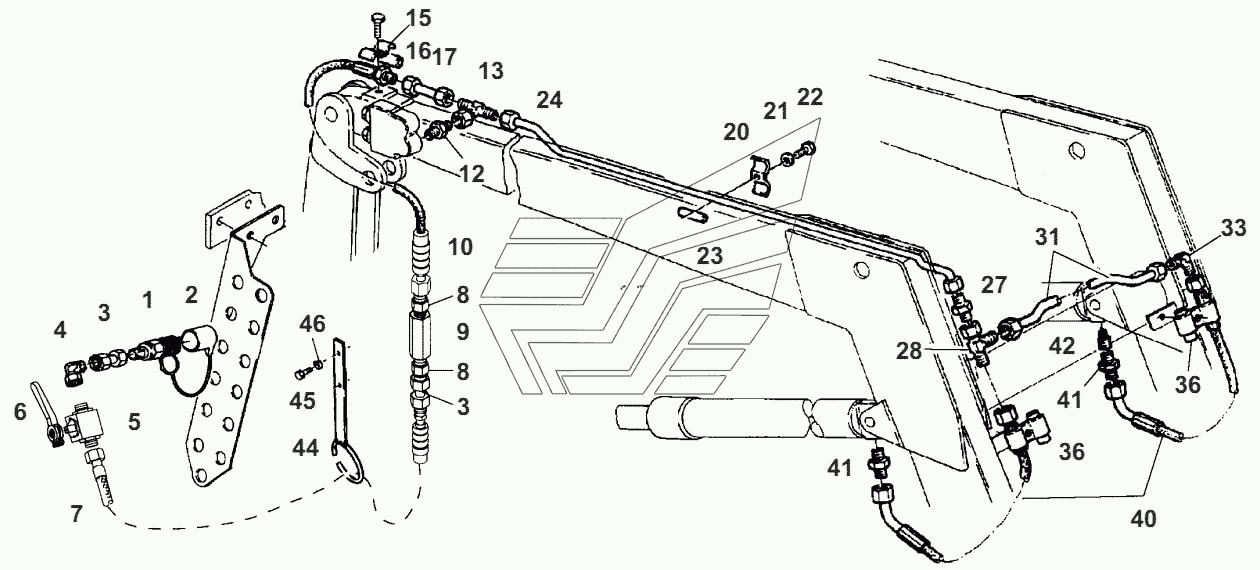
PIPING LIFT ARM Fendt-524 (Xylon) часть3. Каталог 2012г.

ВниманиеЭлектронный автокаталог запчастей предназначен для справочных целей! Наша компания продает только те товары, у которых есть цены в списке.

Вид отображения:

Детали справа
1

Номер детали на чертеже: 

1

COUPLING SLEEVE

Заводской номер: G380922030011 Количество на модель: 1
G380922030011
1
1

Номер детали на чертеже: 

1

SET OF GASKETS

Заводской номер: F380922030011 Количество на модель: 1
F380922030011
1
2

Номер детали на чертеже: 

2

DUST GUARD CAP

Заводской номер: 380922030010 Количество на модель: 1
380922030010
1
3

Номер детали на чертеже: 

3

PRESSURE PIPE

Заводской номер: H175890510210 Количество на модель: 2
H175890510210
2
4

Номер детали на чертеже: 

4

FITTING

Заводской номер: X584316300000 Количество на модель: 1
X584316300000
1
5

Номер детали на чертеже: 

5

2-WAY BALL VALVE

Заводской номер: X597905500000 Количество на модель: 1
X597905500000
1
6

Номер детали на чертеже: 

6

COCK SPANNER

Заводской номер: X598020200000 Количество на модель: 1
X598020200000
1
7

Номер детали на чертеже: 

7

PRESSURE HOSE

Заводской номер: X591638700000 Количество на модель: 1
X591638700000
1
8

Номер детали на чертеже: 

8

THREADED SOCKET

Заводской номер: X592502201000 Количество на модель: 2
X592502201000
2
9

Номер детали на чертеже: 

9

2-WAY VALVE

Заводской номер: G175890071060 Количество на модель: 1
G175890071060
1
10

Номер детали на чертеже: 

10

PRESSURE HOSE

Заводской номер: X591638600000 Количество на модель: 1
X591638600000
1
12

Номер детали на чертеже: 

12

THREADED SOCKET

Заводской номер: X592501300000 Количество на модель: 1
X592501300000
1
13

Номер детали на чертеже: 

13

FITTING

Заводской номер: X581616300000 Количество на модель: 1
X581616300000
1
15

Номер детали на чертеже: 

15

COLLAR

Заводской номер: 250600130090 Количество на модель: 3
250600130090
3
16

Номер детали на чертеже: 

16

PIPE

Заводской номер: 250890030520 Количество на модель: 1
250890030520
1
20

Номер детали на чертеже: 

20

COLLAR

Заводской номер: 278951130280 Количество на модель: 1
278951130280
1
21

Номер детали на чертеже: 

21

SPRING RING

Заводской номер: X520803001000 Количество на модель: 1
X520803001000
1
22

Номер детали на чертеже: 

22

HEXAGON SCREW

Заводской номер: X487520941000 Количество на модель: 1
X487520941000
1
23

Номер детали на чертеже: 

23

PRESSURE PIPE

Заводской номер: 275951010150 Количество на модель: 1
275951010150
1
24

Номер детали на чертеже: 

24

PRESSURE PIPE

Заводской номер: H524893070180 Количество на модель: 1
H524893070180
1
27

Номер детали на чертеже: 

27

REDUCER FITTING

Заводской номер: X594427500000 Количество на модель: 1
X594427500000
1
28

Номер детали на чертеже: 

28

FITTING

Заводской номер: X584416200000 Количество на модель: 1
X584416200000
1
31

Номер детали на чертеже: 

31

PRESSURE PIPE

Заводской номер: H524893070170 Количество на модель: 1
H524893070170
1
33

Номер детали на чертеже: 

33

SOCKET

Заводской номер: X592216200000 Количество на модель: 1
X592216200000
1
36

Номер детали на чертеже: 

36

BUSH

Заводской номер: 278900011050 Количество на модель: 1
278900011050
1
40

Номер детали на чертеже: 

40

PRESSURE HOSE

Заводской номер: X591609000000 Количество на модель: 2
X591609000000
2
41

Номер детали на чертеже: 

41

THREADED SOCKET

Заводской номер: X592502700000 Количество на модель: 2
X592502700000
2
42

Номер детали на чертеже: 

42

SAFETY VALVE DEVICE

Заводской номер: G175890071050 Количество на модель: 1
G175890071050
1
44

Номер детали на чертеже: 

44

HOSE SUPPORT

Заводской номер: H524890900010 Количество на модель: 1
H524890900010
1
45

Номер детали на чертеже: 

45

HEXAGON SCREW

Заводской номер: X487527741000 Количество на модель: 2
X487527741000
2
46

Номер детали на чертеже: 

46

SPRING RING

Заводской номер: X520803901000 Количество на модель: 2
X520803901000
2