8 800 700-05-95 Все контакты

C 9:00 до 20:00. Звонок по РФ бесплатный

Electric System, With Platform Allis AA6.190. Каталог 2012г.

ВниманиеЭлектронный автокаталог запчастей предназначен для справочных целей! Наша компания продает только те товары, у которых есть цены в списке.

Вид отображения:

Детали справа
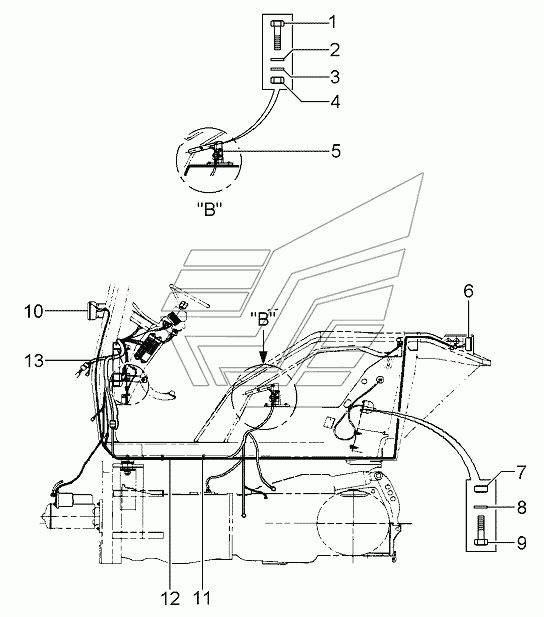
1
2
3
4
5
6
6
6
7
8
9
10
11
12
13
1

Номер детали на чертеже: 

1

BOLT

Заводской номер: 2802251M1 Количество на модель: 2
2802251M1
2
2

Номер детали на чертеже: 

2

WASHER

Заводской номер: 353445X1 Количество на модель: 2
353445X1
2
3

Номер детали на чертеже: 

3

WASHER

Заводской номер: 353753X1 Количество на модель: 2
353753X1
2
4

Номер детали на чертеже: 

4

NUT

Заводской номер: 354120X1 Количество на модель: 2
354120X1
2
5

Номер детали на чертеже: 

5

SWITCH

Заводской номер: 3760061M91 Количество на модель: 2
3760061M91
2
6

Номер детали на чертеже: 

6

BOLT

Заводской номер: 054626P1 Количество на модель: 4
054626P1
4
6

Номер детали на чертеже: 

6

LAMP

Заводской номер: 020364T1 Количество на модель: 1
020364T1
1
6

Номер детали на чертеже: 

6

LAMP

Заводской номер: 020363T1 Количество на модель: 1
020363T1
1
7

Номер детали на чертеже: 

7

GROMMET

Заводской номер: 3760211M1 Количество на модель: 1
3760211M1
1
8

Номер детали на чертеже: 

8

WASHER

Заводской номер: 339381X1 Количество на модель: 3
339381X1
3
9

Номер детали на чертеже: 

9

BOLT

Заводской номер: 3007933X1 Количество на модель: 3
3007933X1
3
10

Номер детали на чертеже: 

10

SIGNAL

Заводской номер: 055287T1 Количество на модель: 2
055287T1
2
11

Номер детали на чертеже: 

11

CLAMP

Заводской номер: 517587M1 Количество на модель: 4
517587M1
4
12

Номер детали на чертеже: 

12

HARNESS

Заводской номер: 060203T1 Количество на модель: 1
060203T1
1
13

Номер детали на чертеже: 

13

HARNESS

Заводской номер: 060344N1 Количество на модель: 1
060344N1
1