8 800 700-05-95 Все контакты

C 9:00 до 20:00. Звонок по РФ бесплатный

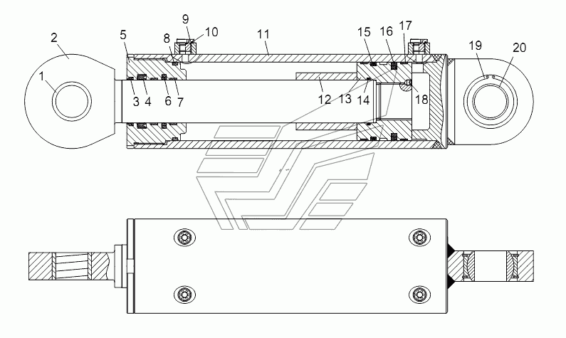
SUSPENSION CYLINDER D00757918401100000_6400Y RT-551 (4x4). Каталог 2013г.

ВниманиеЭлектронный автокаталог запчастей предназначен для справочных целей! Наша компания продает только те товары, у которых есть цены в списке.

Номер детали на чертеже: 

Suspension cylinder

Заводской номер: 00757918401100000 Количество на модель: 1
00757918401100000
1
1

Номер детали на чертеже: 

1

Bi-metal bushing

Заводской номер: 011299902A0000002 Количество на модель: 1
011299902A0000002
1
2

Номер детали на чертеже: 

2

Piston rod

Заводской номер: 00757918401102000 Количество на модель: 1
00757918401102000
1
3

Номер детали на чертеже: 

3

Dust ring

Заводской номер: 1081200366 Количество на модель: 1
1081200366
1
4

Номер детали на чертеже: 

4

U-ring

Заводской номер: 1081002309 Количество на модель: 1
1081002309
1
5

Номер детали на чертеже: 

5

Guide sleeve

Заводской номер: 00757918401100002 Количество на модель: 1
00757918401100002
1
6

Номер детали на чертеже: 

6

Step seal

Заводской номер: 1081002423 Количество на модель: 1
1081002423
1
7

Номер детали на чертеже: 

7

Guide ring

Заводской номер: 1081400844 Количество на модель: 2
1081400844
2
8

Номер детали на чертеже: 

8

O-ring

Заводской номер: 1081001674 Количество на модель: 1
1081001674
1
9

Номер детали на чертеже: 

9

Hexagon socket plug

Заводской номер: 1040101376 Количество на модель: 4
1040101376
4
10

Номер детали на чертеже: 

10

Diamond-shaped ring

Заводской номер: 1081000482 Количество на модель: 4
1081000482
4
11

Номер детали на чертеже: 

11

Cylinder

Заводской номер: 00757918401101000 Количество на модель: 1
00757918401101000
1
12

Номер детали на чертеже: 

12

Spacer sleeve

Заводской номер: 00757918401101004 Количество на модель: 1
00757918401101004
1
13

Номер детали на чертеже: 

13

Piston

Заводской номер: 00757918401101001 Количество на модель: 1
00757918401101001
1
14

Номер детали на чертеже: 

14

O-ring

Заводской номер: 1081200461 Количество на модель: 1
1081200461
1
15

Номер детали на чертеже: 

15

AQ seal

Заводской номер: 1081002098 Количество на модель: 1
1081002098
1
16

Номер детали на чертеже: 

16

Step seal

Заводской номер: 1081002410 Количество на модель: 1
1081002410
1
17

Номер детали на чертеже: 

17

Guide ring

Заводской номер: 1081400753 Количество на модель: 2
1081400753
2
18

Номер детали на чертеже: 

18

Screw

Заводской номер: 1040100368 Количество на модель: 1
1040100368
1
19

Номер детали на чертеже: 

19

Retaining ring

Заводской номер: 1040300500 Количество на модель: 2
1040300500
2
20

Номер детали на чертеже: 

20

Centripetal knuckle bearing

Заводской номер: 1050000136 Количество на модель: 1
1050000136
1
21

Номер детали на чертеже: 

21

Seal kit

Заводской номер: E0757918401100001 Количество на модель: 1
E0757918401100001
1