Кран ЕТ-18-20. Каталог 2005г.

ВниманиеЭлектронный автокаталог запчастей предназначен для справочных целей! Наша компания продает только те товары, у которых есть цены в списке.

Вид отображения:

Детали справа
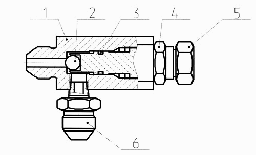
1
2
3
4
5
6
1

Номер детали на чертеже: 

1

Корпус

Заводской номер: 314-02-80.01.501 Количество на модель: 1
314-02-80.01.501
1
2

Номер детали на чертеже: 

2

Шарик

Заводской номер: 3722.Б-10-100 Количество на модель: 1
3722.Б-10-100
1
3

Номер детали на чертеже: 

3

Кольцо

Заводской номер: 9833.012-016-25-2-3 Количество на модель: 1
9833.012-016-25-2-3
1
069143
БЕЛОМО
8681.00.00.000-00 8681 р/ к 7494-353101001, 005-008-19-2-2
Код: 069143
Артикул: 8681.00.00.000-00, 8681 р/ к 7494-353101001, 005-008-19-2-2
Под заказ

На складах : Под заказ

Производитель: БЕЛОМО
405981
ВИТЯЗЬ
77.72А.011*РК 5015
Код: 405981
Артикул: 77.72А.011*РК, 5015
Производитель: ВИТЯЗЬ
4

Номер детали на чертеже: 

4

Гайка

Заводской номер: ЭО-3322Д.23.02.003 Количество на модель: 1
ЭО-3322Д.23.02.003
1
5

Номер детали на чертеже: 

5

Винт запорный

Заводской номер: ЭО-3322Б.23.02.702 Количество на модель: 1
ЭО-3322Б.23.02.702
1
6

Номер детали на чертеже: 

6

Штуцер

Заводской номер: ЭО-3322Б.11.00.004 Количество на модель: 1
ЭО-3322Б.11.00.004
1