C 9:00 до 20:00. Звонок по РФ бесплатный

Ход пневмоколесный 312-04-50.00.000-14 ЕК-14 (2005). Каталог 2005г.

ВниманиеЭлектронный автокаталог запчастей предназначен для справочных целей! Наша компания продает только те товары, у которых есть цены в списке.

Вид отображения:

Детали справа
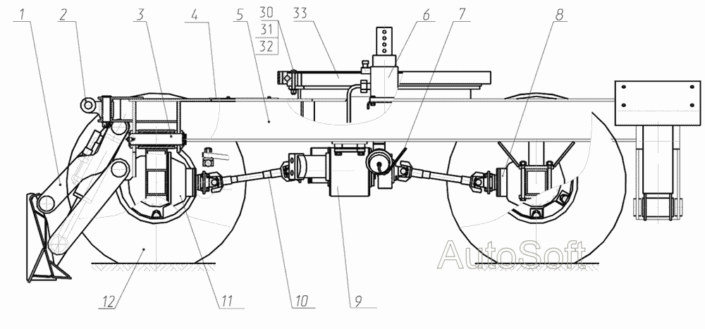
1
2
3
4
5
6
6
7
8
9
10
10
11
12
30
31
32
33
1

Номер детали на чертеже: 

1

Установка отвала

Заводской номер: 312-04-50.70.000 Количество на модель: 1
312-04-50.70.000
1
2

Номер детали на чертеже: 

2

Управление поворотом колес

Заводской номер: 314-02-70.40.000 Количество на модель: 1
314-02-70.40.000
1
3

Номер детали на чертеже: 

3

Палец

Заводской номер: 312-04-50.00.050 Количество на модель: 1
312-04-50.00.050
1
4

Номер детали на чертеже: 

4

Лист накрывающий

Заводской номер: 312-04-50.00.001 Количество на модель: 1
312-04-50.00.001
1
5

Номер детали на чертеже: 

5

Рама ходовая

Заводской номер: 312-04-50.10.000-14 Количество на модель: 1
312-04-50.10.000-14
1
6

Номер детали на чертеже: 

6

Гидрооборудование

Заводской номер: 314-30-72.00.000 Количество на модель: 1
314-30-72.00.000
1
6

Номер детали на чертеже: 

6

Гидрооборудование на ходовой раме

Заводской номер: 314-02-71.00.000 Количество на модель: 1
314-02-71.00.000
1
7

Номер детали на чертеже: 

7

Пневмоуправление на ходовой раме

Заводской номер: 314-02-82.00.000 Количество на модель: 1
314-02-82.00.000
1
8

Номер детали на чертеже: 

8

Мост приводной неуправляемый

Заводской номер: ЭО-3323.20.90.000 Количество на модель: 1
ЭО-3323.20.90.000
1
9

Номер детали на чертеже: 

9

Коробка перемены передач

Заводской номер: 314-02-72.51.000 Количество на модель: 1
314-02-72.51.000
1
10

Номер детали на чертеже: 

10

Вал карданный

Заводской номер: 695Е-2201010-40 Количество на модель: 2
695Е-2201010-40
2
10

Номер детали на чертеже: 

10

В ал кар данный

Заводской номер: ЭО-3323А.71.00.600-40 Количество на модель: 2
ЭО-3323А.71.00.600-40
2
11

Номер детали на чертеже: 

11

Мост приводной управляемый

Заводской номер: ЭО-3323.20.30.000 Количество на модель: 1
ЭО-3323.20.30.000
1
12

Номер детали на чертеже: 

12

Колесо с шиной

Заводской номер: 312-04-50.00.100 Количество на модель: 6
312-04-50.00.100
6
30

Номер детали на чертеже: 

30

Болт

Заводской номер: 7798.М16-8gх125.109.40Х.019 Количество на модель: 36
7798.М16-8gх125.109.40Х.019
36
31

Номер детали на чертеже: 

31

Гайка

Заводской номер: 15523.М16-7H.10.40X.019 Количество на модель: 36
15523.М16-7H.10.40X.019
36
32

Номер детали на чертеже: 

32

Шайба

Заводской номер: 6402.16.65Г.019 Количество на модель: 36
6402.16.65Г.019
36
33

Номер детали на чертеже: 

33

Опора поворотная роликовая

Заводской номер: ОПРУ-1250.10.24.00 Количество на модель: 1
ОПРУ-1250.10.24.00
1