8 800 700-05-95 Все контакты

C 9:00 до 20:00. Звонок по РФ бесплатный

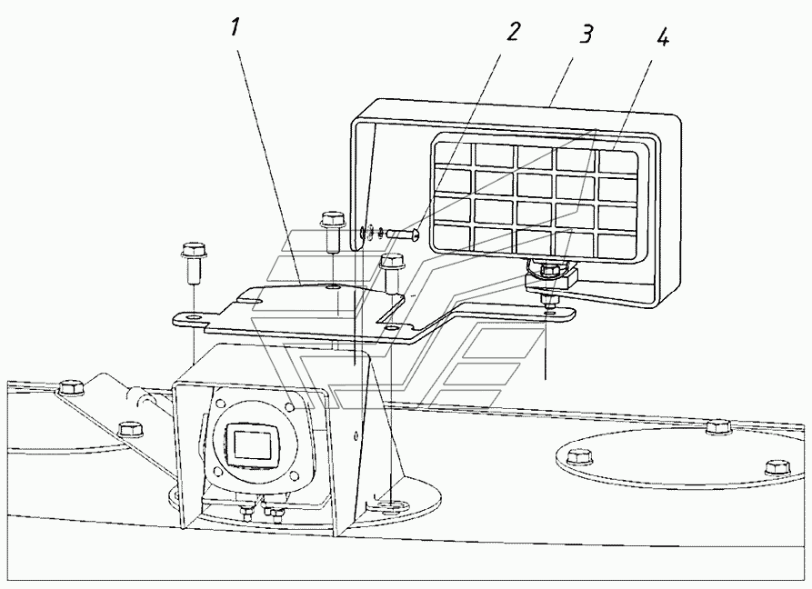
206090000000 09 Установка фары на противовес ТХ-270 / 300. Каталог 2017г.

ВниманиеЭлектронный автокаталог запчастей предназначен для справочных целей! Наша компания продает только те товары, у которых есть цены в списке.

Вид отображения:

Детали справа
1
2
3
4
1

Номер детали на чертеже: 

1

Кронштейн

Заводской номер: 20609000000100 Количество на модель: 1
20609000000100
1
2

Номер детали на чертеже: 

2

Винт М6х22.58.019

Заводской номер: 00002642021801 Количество на модель: 1
00002642021801
1
3

Номер детали на чертеже: 

3

Кронштейн

Заводской номер: 20609000000200 Количество на модель: 1
20609000000200
1
4

Номер детали на чертеже: 

4

Фара

Заводской номер: 00092487230501 Количество на модель: 1
00092487230501
1