C 9:00 до 20:00. Звонок по РФ бесплатный

WORKING PUMP ASSEMBLY LG953. Каталог 2009г.

ВниманиеЭлектронный автокаталог запчастей предназначен для справочных целей! Наша компания продает только те товары, у которых есть цены в списке.

Вид отображения:

Детали справа
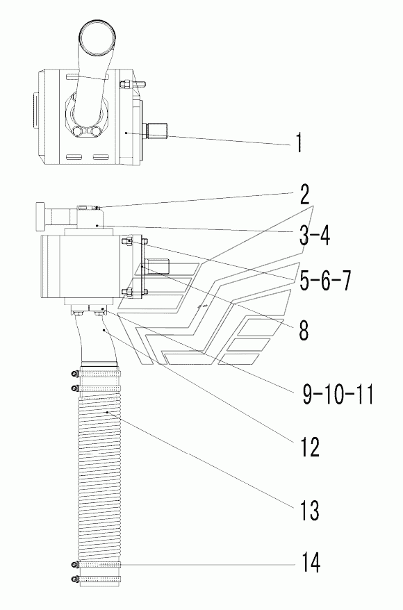
1
2
3
4
5
6
7
8
9
10
11
12
13
14
1

Номер детали на чертеже: 

1

GEAR PUMP

Заводской номер: 4120000684 Количество на модель: 1
4120000684
1
2

Номер детали на чертеже: 

2

BOLT

Заводской номер: 4011000473 Количество на модель: 4
4011000473
4
3

Номер детали на чертеже: 

3

OUT-OIL TUBE

Заводской номер: 29110001021 Количество на модель: 1
29110001021
1
4

Номер детали на чертеже: 

4

O-RING

Заводской номер: 4030000029 Количество на модель: 1
4030000029
1
5

Номер детали на чертеже: 

5

DOUBLE-SCREW BOLT

Заводской номер: 4012000003 Количество на модель: 4
4012000003
4
6

Номер детали на чертеже: 

6

NUT

Заводской номер: 4013000011 Количество на модель: 4
4013000011
4
7

Номер детали на чертеже: 

7

WASHER

Заводской номер: 4015000168 Количество на модель: 4
4015000168
4
8

Номер детали на чертеже: 

8

SEALING WASHER

Заводской номер: 29110000041 Количество на модель: 1
29110000041
1
9

Номер детали на чертеже: 

9

O-RING

Заводской номер: 4030000133 Количество на модель: 1
4030000133
1
10

Номер детали на чертеже: 

10

FLANGE

Заводской номер: 4041000009 Количество на модель: 1
4041000009
1
11

Номер детали на чертеже: 

11

BOLT

Заводской номер: 4011000320 Количество на модель: 4
4011000320
4
12

Номер детали на чертеже: 

12

INTAKE OIL TUBE OF PUMP

Заводской номер: 29110001061 Количество на модель: 1
29110001061
1
13

Номер детали на чертеже: 

13

Hose assembly

Заводской номер: 4120000683 Количество на модель: 1
4120000683
1
14

Номер детали на чертеже: 

14

CLAM JB8870-d100

Заводской номер: 4017000006 Количество на модель: 4
4017000006
4