8 800 700-05-95 Все контакты

C 9:00 до 20:00. Звонок по РФ бесплатный

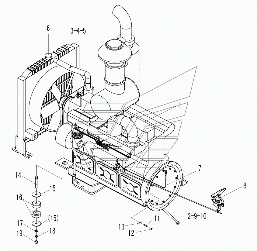
LG9530A1-2 DISESEL ENGINE SYSTEM WD615G.220 (G0375) LG953. Каталог 2008г.

ВниманиеЭлектронный автокаталог запчастей предназначен для справочных целей! Наша компания продает только те товары, у которых есть цены в списке.

Вид отображения:

Детали справа
1
2
3
4
5
6
7
8
9
10
11
12
13
14
15
16
17
18
19
1

Номер детали на чертеже: 

1

DISESEL ENGINE SYSTEM

Заводской номер: 4110000113 Количество на модель: 1
4110000113
1
2

Номер детали на чертеже: 

2

CLAMP

Заводской номер: 4120000075 Количество на модель: 6
4120000075
6
3

Номер детали на чертеже: 

3

HOSE

Заводской номер: 4030000195 Количество на модель: 2
4030000195
2
4

Номер детали на чертеже: 

4

VALVE-HEATER

Заводской номер: 4120000067 Количество на модель: 2
4120000067
2
5

Номер детали на чертеже: 

5

CLAMP

Заводской номер: 29030000041 Количество на модель: 1
29030000041
1
6

Номер детали на чертеже: 

6

RADIATOR

Заводской номер: 4120000597 Количество на модель: 1
4120000597
1
7

Номер детали на чертеже: 

7

PARKING CONCTROL SYSTEM

Заводской номер: 29010001021 Количество на модель: 1
29010001021
1
8

Номер детали на чертеже: 

8

GOVERNOR CONTROL SYSTEM

Заводской номер: 29010000021 Количество на модель: 1
29010000021
1
9

Номер детали на чертеже: 

9

HOSE JB8406-B16x265

Заводской номер: 4030000495 Количество на модель: 1
4030000495
1
10

Номер детали на чертеже: 

10

CONNECTOR

Заводской номер: 29010000121 Количество на модель: 1
29010000121
1
11

Номер детали на чертеже: 

11

DOUBLE BOLT

Заводской номер: 29010000111 Количество на модель: 12
29010000111
12
12

Номер детали на чертеже: 

12

NUT

Заводской номер: 4013000007 Количество на модель: 12
4013000007
12
13

Номер детали на чертеже: 

13

Washer

Заводской номер: 4015000025 Количество на модель: 12
4015000025
12
14

Номер детали на чертеже: 

14

BOLT GB5785-M20x1.5x120EpZn-8.8

Заводской номер: 4011000579 Количество на модель: 2
4011000579
2
15

Номер детали на чертеже: 

15

WASHER

Заводской номер: 29050000121 Количество на модель: 4
29050000121
4
16

Номер детали на чертеже: 

16

SHOCK MOUNT

Заводской номер: 29050000101 Количество на модель: 4
29050000101
4
17

Номер детали на чертеже: 

17

WASHER

Заводской номер: 4015000176 Количество на модель: 2
4015000176
2
18

Номер детали на чертеже: 

18

WASHER

Заводской номер: 4015000030 Количество на модель: 2
4015000030
2
19

Номер детали на чертеже: 

19

NUT GB889.2-M20x1.5 EpZn-8

Заводской номер: 4013000160 Количество на модель:
4013000160