8 800 700-05-95 Все контакты

C 9:00 до 20:00. Звонок по РФ бесплатный

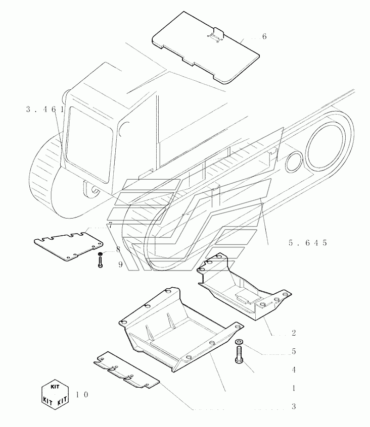
5.646(02) ­ COVER LOW Бульдозер D350. Каталог 2010г.

ВниманиеЭлектронный автокаталог запчастей предназначен для справочных целей! Наша компания продает только те товары, у которых есть цены в списке.

Вид отображения:

Детали справа
1
2
3
4
5
6
7
8
9
10
1

Номер детали на чертеже: 

1

Ограждение

Заводской номер: 76071117 Количество на модель: 1
76071117
1
2

Номер детали на чертеже: 

2

Ограждение

Заводской номер: 76071027 Количество на модель: 1
76071027
1
3

Номер детали на чертеже: 

3

Ограждение

Заводской номер: 76069965 Количество на модель: 1
76069965
1
4

Номер детали на чертеже: 

4

Винт

Заводской номер: 16041434 Количество на модель: 12
16041434
12
5

Номер детали на чертеже: 

5

Плоская шайба

Заводской номер: 79005245 Количество на модель: 12
79005245
12
6

Номер детали на чертеже: 

6

Люк

Заводской номер: 76071207 Количество на модель: 1
76071207
1
7

Номер детали на чертеже: 

7

Крышка

Заводской номер: 87316874 Количество на модель: 1
87316874
1
8

Номер детали на чертеже: 

8

Плоская шайба

Заводской номер: 14497131 Количество на модель: 66
14497131
66
9

Номер детали на чертеже: 

9

Болт

Заводской номер: 15988731 Количество на модель: 62
15988731
62
10

Номер детали на чертеже: 

10

Kit

Заводской номер: 87316884 Количество на модель: 1
87316884
1