8 800 700-05-95 Все контакты

C 9:00 до 20:00. Звонок по РФ бесплатный

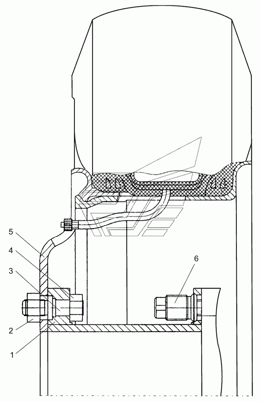
Установка задних колес Ш353М-3101070-Б Ш-353М. Каталог 2015г.

ВниманиеЭлектронный автокаталог запчастей предназначен для справочных целей! Наша компания продает только те товары, у которых есть цены в списке.

Вид отображения:

Детали справа
1
2
3
4
5
6
1

Номер детали на чертеже: 

1

Проставка

Заводской номер: Ш353М-3101090-Б Количество на модель: 1
Ш353М-3101090-Б
1
2

Номер детали на чертеже: 

2

Гайка правая

Заводской номер: 353-3101011 Количество на модель: 6
353-3101011
6
3

Номер детали на чертеже: 

3

Болт ступицы правый

Заводской номер: 353-3001041 Количество на модель: 6
353-3001041
6
4

Номер детали на чертеже: 

4

Гайка М20х1,5-6Н.6.019

Заводской номер: ГайкаМ20х1,5-6Н.6.019 Количество на модель: 6
ГайкаМ20х1,5-6Н.6.019
6
5

Номер детали на чертеже: 

5

Колесо

Заводской номер: 353-3101030 Количество на модель: 2
353-3101030
2
6

Номер детали на чертеже: 

6

Гайка

Заводской номер: Ш353М-3101027 Количество на модель: 6
Ш353М-3101027
6