C 9:00 до 20:00. Звонок по РФ бесплатный

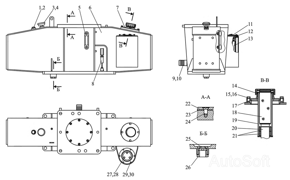
Гидробак-опора МР-40-01. Каталог 2010г.

ВниманиеЭлектронный автокаталог запчастей предназначен для справочных целей! Наша компания продает только те товары, у которых есть цены в списке.

Номер детали на чертеже: 

Гидробак-опора

Заводской номер: МР40-4608010 Количество на модель: 1
МР40-4608010
1
1

Номер детали на чертеже: 

1

Болт

Заводской номер: М14-6gх35.88.35.019 Количество на модель: 1
М14-6gх35.88.35.019
1
2

Номер детали на чертеже: 

2

Прокладка

Заводской номер: Ал 14x20x1,5 МН 3138-62 Количество на модель: 1
Ал 14x20x1,5 МН 3138-62
1
3

Номер детали на чертеже: 

3

Сапун

Заводской номер: МЛ131-3400075 Количество на модель: 1
МЛ131-3400075
1
4

Номер детали на чертеже: 

4

Кольцо

Заводской номер: 011-015-25-2-2 Количество на модель: 1
011-015-25-2-2
1
859593
УРАЛОПТ
6361-1602509-П 6361-1602514
Код: 859593
Артикул: 6361-1602509-П, 6361-1602514
Производитель: УРАЛОПТ
259370
УРАЛОПТ
6361-1602509 5557-1609052-01
Код: 259370
Артикул: 6361-1602509, 5557-1609052-01
Производитель: УРАЛОПТ
042995
ВИНЦЕР
В6361-1602501 6361-1602510РК РТИ 1-я комплектация, 5557-1609052-01
Код: 042995
Артикул: В6361-1602501, 6361-1602510РК РТИ 1-я комплектация, 5557-1609052-01
Производитель: ВИНЦЕР
177746
БЕЛАРУСЬРЕЗИНОТЕХНИКА
011-015-25-2-2
Код: 177746
Артикул: 011-015-25-2-2,
Нет в наличии

На складах : Нет в наличии

Производитель: БЕЛАРУСЬРЕЗИНОТЕХНИКА
5

Номер детали на чертеже: 

5

Указатель уровня масла

Заводской номер: LVА20SАМ12Р01 Количество на модель: 1
LVА20SАМ12Р01
1
6

Номер детали на чертеже: 

6

Бак

Заводской номер: МР40-4608100 Количество на модель: 1
МР40-4608100
1
7

Номер детали на чертеже: 

7

Горловина

Заводской номер: МР40-4608150 Количество на модель: 1
МР40-4608150
1
8

Номер детали на чертеже: 

8

Датчик-гидросигнализатор

Заводской номер: ДГС-М-101-24-01 Количество на модель: 1
ДГС-М-101-24-01
1
744142
VITOK
ДГС-М-101-24-01
Код: 744142
Артикул: ДГС-М-101-24-01,
Нет в наличии

На складах : Нет в наличии

Производитель: VITOK
9

Номер детали на чертеже: 

9

Заборник

Заводской номер: МР40-4600100 Количество на модель: 1
МР40-4600100
1
10

Номер детали на чертеже: 

10

Кольцо

Заводской номер: 055-061-36-2-2 Количество на модель: 1
055-061-36-2-2
1
11

Номер детали на чертеже: 

11

Прокладка

Заводской номер: 406-4600102 Количество на модель: 1
406-4600102
1
12

Номер детали на чертеже: 

12

Прокладка

Заводской номер: 354-3405037 Количество на модель: 1
354-3405037
1
13

Номер детали на чертеже: 

13

Фильтр

Заводской номер: 354-3405080 Количество на модель: 1
354-3405080
1
14

Номер детали на чертеже: 

14

Крышка

Заводской номер: ЛВ-203.10.810 Количество на модель: 1
ЛВ-203.10.810
1
15

Номер детали на чертеже: 

15

Болт

Заводской номер: М10-6gх18.88.35.019 Количество на модель: 4
М10-6gх18.88.35.019
4
16

Номер детали на чертеже: 

16

Шайба 10Л

Заводской номер: 4598166007 Количество на модель: 4
4598166007
4
17

Номер детали на чертеже: 

17

Кольцо

Заводской номер: 130-135-36-2-2 Количество на модель: 1
130-135-36-2-2
1
18

Номер детали на чертеже: 

18

Фильтр

Заводской номер: ЛВ-203.10.830 Количество на модель: 1
ЛВ-203.10.830
1
19

Номер детали на чертеже: 

19

Корзина

Заводской номер: ЛВ-203.10.850 Количество на модель: 1
ЛВ-203.10.850
1
20

Номер детали на чертеже: 

20

Доработка сепаратора

Заводской номер: ЛВ-203.10.840 Количество на модель: 1
ЛВ-203.10.840
1
21

Номер детали на чертеже: 

21

Кольцо

Заводской номер: ЛВ-203.10.806 Количество на модель: 2
ЛВ-203.10.806
2
22

Номер детали на чертеже: 

22

Крышка

Заводской номер: МР40-4608011 Количество на модель: 1
МР40-4608011
1
23

Номер детали на чертеже: 

23

Прокладка

Заводской номер: МР40-4608013 Количество на модель: 1
МР40-4608013
1
24

Номер детали на чертеже: 

24

Винт

Заводской номер: В.М8-6gх16.58.019 Количество на модель: 8
В.М8-6gх16.58.019
8
25

Номер детали на чертеже: 

25

Конус

Заводской номер: ГМ42-4501005 Количество на модель: 1
ГМ42-4501005
1
26

Номер детали на чертеже: 

26

Пробка

Заводской номер: МР40-4608012 Количество на модель: 1
МР40-4608012
1
27

Номер детали на чертеже: 

27

Болт

Заводской номер: М8-6gх20.88.35.019 Количество на модель: 3
М8-6gх20.88.35.019
3
261519
МТЗ
911031
Код: 261519
Артикул: 911031,
Нет в наличии

На складах : Нет в наличии

Производитель: МТЗ
28

Номер детали на чертеже: 

28

Шайба 8Т

Заводской номер: 4598166046 Количество на модель: 3
4598166046
3
461547
ЯМЗ
252135-П2
Производитель: ЯМЗ
29

Номер детали на чертеже: 

29

Болт ГОСТ 7798-70

Заводской номер: М6-6gх14.88.35.019 Количество на модель: 6
М6-6gх14.88.35.019
6
30

Номер детали на чертеже: 

30

Шайба 6Т

Заводской номер: 4598166045 Количество на модель: 6
4598166045
6
641766
МТЗ
916007
Код: 641766
Артикул: 916007,
Нет в наличии

На складах : Нет в наличии

Производитель: МТЗ