C 9:00 до 20:00. Звонок по РФ бесплатный

Fuel Tank LN-918. Каталог 2010г.

ВниманиеЭлектронный автокаталог запчастей предназначен для справочных целей! Наша компания продает только те товары, у которых есть цены в списке.

Вид отображения:

Детали справа
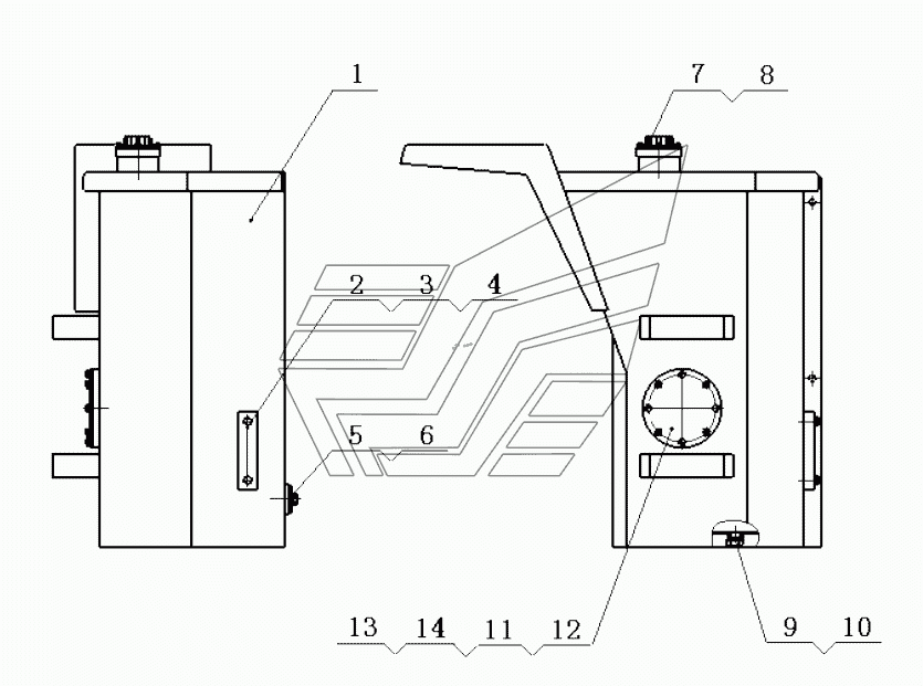
1
2
3
4
5
6
7
8
9
11
13
14
1

Номер детали на чертеже: 

1

Tank

Заводской номер: LN918.1.6 Количество на модель: 1
LN918.1.6
1
2

Номер детали на чертеже: 

2

Gauge Assy Level

Заводской номер: YWZ127 Количество на модель: 1
YWZ127
1
3

Номер детали на чертеже: 

3

Bolt

Заводской номер: GB5783-86 Количество на модель: 2
GB5783-86
2
4

Номер детали на чертеже: 

4

Washer

Заводской номер: GB93-87 Количество на модель: 2
GB93-87
2
5

Номер детали на чертеже: 

5

Oil Filter

Заводской номер: LN918.1.6-2 Количество на модель: 1
LN918.1.6-2
1
6

Номер детали на чертеже: 

6

O-Ring

Заводской номер: GB/T3452.1-92 Количество на модель: 1
GB/T3452.1-92
1
7

Номер детали на чертеже: 

7

Greaser Filter

Заводской номер: LN918.1.6-3 Количество на модель: 1
LN918.1.6-3
1
8

Номер детали на чертеже: 

8

Bolt

Заводской номер: GB/T820 Количество на модель: 4
GB/T820
4
9

Номер детали на чертеже: 

9

Cover

Заводской номер: LN918.1.6-1 Количество на модель: 1
LN918.1.6-1
1
11

Номер детали на чертеже: 

11

Bolt

Заводской номер: GB/T5781-86 Количество на модель: 8
GB/T5781-86
8
13

Номер детали на чертеже: 

13

Plug

Заводской номер: JB/T1000-77 Количество на модель: 1
JB/T1000-77
1
14

Номер детали на чертеже: 

14

Washer

Заводской номер: JB982-77 Количество на модель: 1
JB982-77
1