C 9:00 до 20:00. Звонок по РФ бесплатный

Steering Cylinder LN-918. Каталог 2010г.

ВниманиеЭлектронный автокаталог запчастей предназначен для справочных целей! Наша компания продает только те товары, у которых есть цены в списке.

Вид отображения:

Детали справа
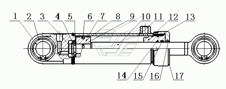
1
2
3
4
5
6
7
8
9
10
11
12
14
15
16
17
1

Номер детали на чертеже: 

1

Spherical

Заводской номер: GB304.5-81 Количество на модель: 1
GB304.5-81
1
2

Номер детали на чертеже: 

2

Snap Ring Cover

Заводской номер: GB893.1-86 Количество на модель: 1
GB893.1-86
1
3

Номер детали на чертеже: 

3

Snap Ring Cover

Заводской номер: GB894.1-86 Количество на модель: 1
GB894.1-86
1
4

Номер детали на чертеже: 

4

Snap Ring

Заводской номер: LN918.5.1-1 Количество на модель: 1
LN918.5.1-1
1
5

Номер детали на чертеже: 

5

Snap Ring

Заводской номер: LN918.5.1-2 Количество на модель: 1
LN918.5.1-2
1
6

Номер детали на чертеже: 

6

Glydring

Заводской номер: S-55044 Количество на модель: 1
S-55044
1
7

Номер детали на чертеже: 

7

Supporting Ring

Заводской номер: LN918.5.1-3 Количество на модель: 2
LN918.5.1-3
2
8

Номер детали на чертеже: 

8

Piston

Заводской номер: LN918.5.1-4 Количество на модель: 1
LN918.5.1-4
1
9

Номер детали на чертеже: 

9

O-Ring

Заводской номер: GB/T3452.1-92 Количество на модель: 1
GB/T3452.1-92
1
10

Номер детали на чертеже: 

10

Piston Rod

Заводской номер: LN918.5.1-5 Количество на модель: 1
LN918.5.1-5
1
11

Номер детали на чертеже: 

11

Cylinder Body

Заводской номер: LN918.5.1-6 Количество на модель: 1
LN918.5.1-6
1
12

Номер детали на чертеже: 

12

Guide Sleeve

Заводской номер: LN918.5.1-7 Количество на модель: 1
LN918.5.1-7
1
14

Номер детали на чертеже: 

14

Supporting Ring

Заводской номер: LN918.5.1-8 Количество на модель: 1
LN918.5.1-8
1
15

Номер детали на чертеже: 

15

Stepseal

Заводской номер: S-55013 Количество на модель: 1
S-55013
1
16

Номер детали на чертеже: 

16

Seal Ring

Заводской номер: GB10708.3-89 Количество на модель: 1
GB10708.3-89
1
17

Номер детали на чертеже: 

17

Cover

Заводской номер: LN918.5.1-9 Количество на модель: 1
LN918.5.1-9
1