8 800 700-05-95 Все контакты

C 9:00 до 20:00. Звонок по РФ бесплатный

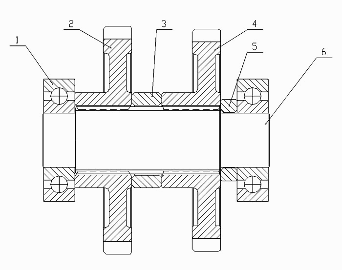
Shaft IV Assembly CDM-816

ВниманиеЭлектронный автокаталог запчастей предназначен для справочных целей! Наша компания продает только те товары, у которых есть цены в списке.

Вид отображения:

Детали справа
1
2
3
4
5
6
1

Номер детали на чертеже: 

1

Dеер glоvе bаll bеаring 6308

Заводской номер: GВ/Т276-1994 [Dеер glоvе bаll bеаring 6308] Количество на модель: 2
GВ/Т276-1994 [Dеер glоvе bаll bеаring 6308]
2
2

Номер детали на чертеже: 

2

Gеаr

Заводской номер: LG816.03.01.06-001 [Gеаr] Количество на модель: 1
LG816.03.01.06-001 [Gеаr]
1
3

Номер детали на чертеже: 

3

Shаft slееvе

Заводской номер: LG816.03.01.06-002 [Shаft slееvе] Количество на модель: 1
LG816.03.01.06-002 [Shаft slееvе]
1
4

Номер детали на чертеже: 

4

Gеаr

Заводской номер: LG816.03.01.06-003 [Gеаr] Количество на модель: 1
LG816.03.01.06-003 [Gеаr]
1
5

Номер детали на чертеже: 

5

Shаft slееvе

Заводской номер: LG816.03.01.06-004 [Shаft slееvе] Количество на модель: 1
LG816.03.01.06-004 [Shаft slееvе]
1
6

Номер детали на чертеже: 

6

Shаft IV

Заводской номер: LG816.03.01.06-005 [Shаft IV] Количество на модель: 1
LG816.03.01.06-005 [Shаft IV]
1