C 9:00 до 20:00. Звонок по РФ бесплатный

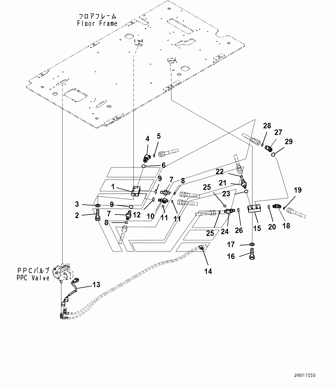
Cab, Floor, P, T Block (#80001-80565) PC300-8MO. Каталог 2010г.

ВниманиеЭлектронный автокаталог запчастей предназначен для справочных целей! Наша компания продает только те товары, у которых есть цены в списке.

Вид отображения:

Детали справа
1
2
3
4
5
6
7
8
10
13
14
18
1

Номер детали на чертеже: 

1

BLOCK

Заводской номер: 20Y-62-15831 Количество на модель: 1
20Y-62-15831
1
2

Номер детали на чертеже: 

2

BOLT

Заводской номер: 01010-81045 Количество на модель: 2
01010-81045
2
3

Номер детали на чертеже: 

3

WASHER

Заводской номер: 01643-31032 Количество на модель: 2
01643-31032
2
4

Номер детали на чертеже: 

4

Elbow

Заводской номер: 11Y-62-12510 Количество на модель: 1
11Y-62-12510
1
5

Номер детали на чертеже: 

5

O-RING

Заводской номер: 02896-11009 Количество на модель: 1
02896-11009
1
6

Номер детали на чертеже: 

6

O-RING

Заводской номер: 07002-11423 Количество на модель: 1
07002-11423
1
7

Номер детали на чертеже: 

7

UNION

Заводской номер: 02781-0021D Количество на модель: 2
02781-0021D
2
8

Номер детали на чертеже: 

8

O-RING

Заводской номер: 02896-11008 Количество на модель: 2
02896-11008
2
10

Номер детали на чертеже: 

10

ELBOW

Заводской номер: 11Y-62-12330 Количество на модель: 1
11Y-62-12330
1
13

Номер детали на чертеже: 

13

Wiring Harness

Заводской номер: 20Y-06-41251 Количество на модель: 1
20Y-06-41251
1
14

Номер детали на чертеже: 

14

CLIP

Заводской номер: 04435-51210 Количество на модель: 1
04435-51210
1
18

Номер детали на чертеже: 

18

ELBOW

Заводской номер: 02783-10210 Количество на модель: 1
02783-10210
1