8 800 700-05-95 Все контакты

C 9:00 до 20:00. Звонок по РФ бесплатный

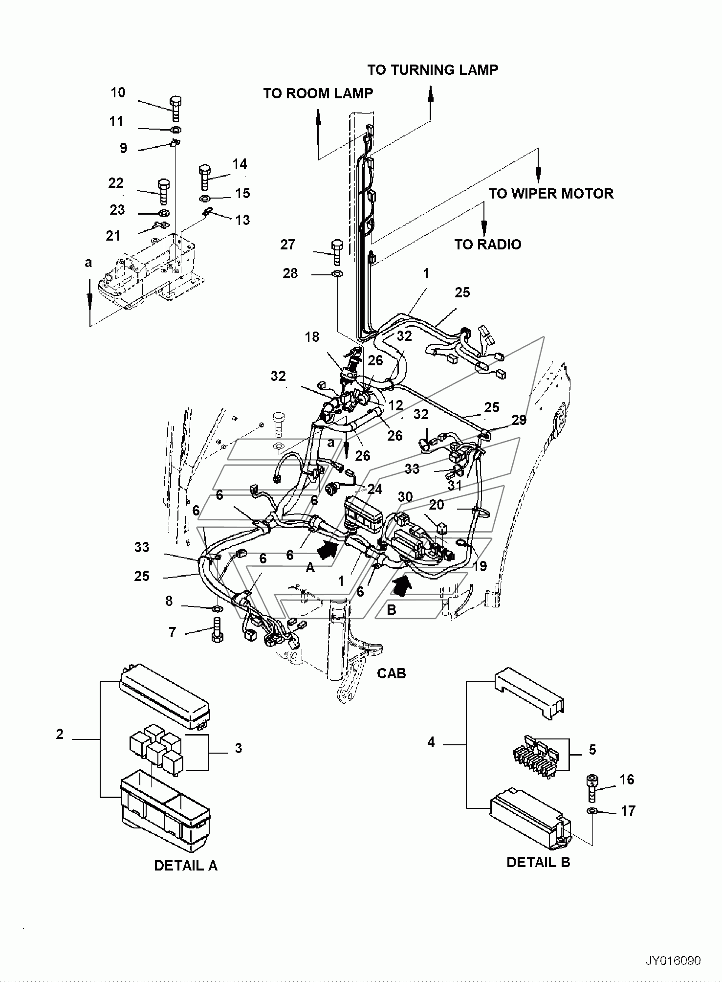
CAB, WITH PROPORTIONAL CONTROL LEVER, 1-ATTACHMENT, CAB IN PARTS, WIRING HARNESS PC35MR-3. Каталог 2010г.

ВниманиеЭлектронный автокаталог запчастей предназначен для справочных целей! Наша компания продает только те товары, у которых есть цены в списке.

Номер детали на чертеже: 

FUSE¤ 15A

Заводской номер: 08041-01500 Количество на модель: 1
08041-01500
1

Номер детали на чертеже: 

FUSE¤ 20A

Заводской номер: 08041-02000 Количество на модель: 3
08041-02000
3

Номер детали на чертеже: 

Fuse, 30Amp.

Заводской номер: 08041-03000 Количество на модель: 3
08041-03000
3
1

Номер детали на чертеже: 

1

WIRING HARNESS

Заводской номер: 22F-06-34310 Количество на модель: 1
22F-06-34310
1
1

Номер детали на чертеже: 

1

WIRING HARNESS

Заводской номер: 22F-06-34410 Количество на модель: 1
22F-06-34410
1
2

Номер детали на чертеже: 

2

BOX, RELAY

Заводской номер: 22M-06-24260 Количество на модель: 1
22M-06-24260
1
3

Номер детали на чертеже: 

3

RELAY

Заводской номер: 20U-06-42520 Количество на модель: 5
20U-06-42520
5
4

Номер детали на чертеже: 

4

FUSE BOX

Заводской номер: 08044-01000 Количество на модель: 1
08044-01000
1
5

Номер детали на чертеже: 

5

FUSE¤ 10A

Заводской номер: 08041-01000 Количество на модель: 6
08041-01000
6
6

Номер детали на чертеже: 

6

CLIP

Заводской номер: 04434-52712 Количество на модель: 7
04434-52712
7
7

Номер детали на чертеже: 

7

BOLT

Заводской номер: 01010-81020 Количество на модель: 6
01010-81020
6
8

Номер детали на чертеже: 

8

WASHER

Заводской номер: 01643-31032 Количество на модель: 6
01643-31032
6
9

Номер детали на чертеже: 

9

CLIP

Заводской номер: 08053-01510 Количество на модель: 1
08053-01510
1
12

Номер детали на чертеже: 

12

HORN, ASSY.

Заводской номер: 21Y-06-11260 Количество на модель: 1
21Y-06-11260
1
13

Номер детали на чертеже: 

13

PLATE

Заводской номер: 21Y-06-11270 Количество на модель: 1
21Y-06-11270
1
14

Номер детали на чертеже: 

14

BOLT

Заводской номер: 01010-80612 Количество на модель: 1
01010-80612
1
15

Номер детали на чертеже: 

15

WASHER

Заводской номер: 01643-30623 Количество на модель: 1
01643-30623
1
16

Номер детали на чертеже: 

16

BOLT

Заводской номер: 01252-80620 Количество на модель: 2
01252-80620
2
17

Номер детали на чертеже: 

17

WASHER

Заводской номер: 01643-70623 Количество на модель: 2
01643-70623
2
18

Номер детали на чертеже: 

18

STARTING BLOCK

Заводской номер: 20S-06-31130 Количество на модель: 1
20S-06-31130
1
19

Номер детали на чертеже: 

19

BAND

Заводской номер: 08034-40521 Количество на модель: 4
08034-40521
4
20

Номер детали на чертеже: 

20

BAND

Заводской номер: 08034-20536 Количество на модель: 1
08034-20536
1
21

Номер детали на чертеже: 

21

CLIP

Заводской номер: 08193-21012 Количество на модель: 1
08193-21012
1
24

Номер детали на чертеже: 

24

SOCKET

Заводской номер: 22F-06-31431 Количество на модель: 1
22F-06-31431
1
25

Номер детали на чертеже: 

25

WIRING HARNESS

Заводской номер: 22F-06-32652 Количество на модель: 1
22F-06-32652
1
26

Номер детали на чертеже: 

26

CLIP

Заводской номер: 04434-52310 Количество на модель: 3
04434-52310
3
27

Номер детали на чертеже: 

27

BOLT

Заводской номер: 01010-D1016 Количество на модель: 1
01010-D1016
1
28

Номер детали на чертеже: 

28

WASHER

Заводской номер: 01643-71032 Количество на модель: 1
01643-71032
1
29

Номер детали на чертеже: 

29

CLIP

Заводской номер: 04434-51010 Количество на модель: 1
04434-51010
1
30

Номер детали на чертеже: 

30

RELAY

Заводской номер: 363-06-31130 Количество на модель: 3
363-06-31130
3
32

Номер детали на чертеже: 

32

BAND

Заводской номер: 08034-20519 Количество на модель: 3
08034-20519
3
33

Номер детали на чертеже: 

33

BAND

Заводской номер: 08034-20823 Количество на модель: 10
08034-20823
10