C 9:00 до 20:00. Звонок по РФ бесплатный

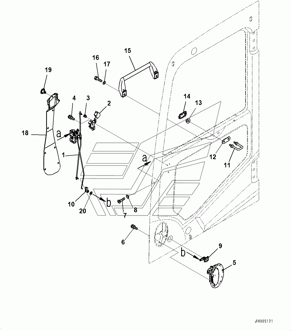
Cab, Door Lock (#100001-100012) PC220LC-8MO. Каталог 2010г.

ВниманиеЭлектронный автокаталог запчастей предназначен для справочных целей! Наша компания продает только те товары, у которых есть цены в списке.

Номер детали на чертеже: 

Cab Assembly

Заводской номер: 20Y-53-00371 Количество на модель: 1
20Y-53-00371
1

Номер детали на чертеже: 

Door Assembly

Заводской номер: 20Y-53-00390 Количество на модель: 1
20Y-53-00390
1
1

Номер детали на чертеже: 

1

Latch Assembly

Заводской номер: 20Y-53-12201 Количество на модель: 1
20Y-53-12201
1
2

Номер детали на чертеже: 

2

HANDLE ASS'Y

Заводской номер: 20Y-54-52300 Количество на модель: 1
20Y-54-52300
1
3

Номер детали на чертеже: 

3

Snap

Заводской номер: 22B-54-16340 Количество на модель: 1
22B-54-16340
1
4

Номер детали на чертеже: 

4

SCREW

Заводской номер: 01023-10612 Количество на модель: 3
01023-10612
3
5

Номер детали на чертеже: 

5

Handle

Заводской номер: 20Y-53-12991 Количество на модель: 1
20Y-53-12991
1
7

Номер детали на чертеже: 

7

SCREW

Заводской номер: 01240-00616 Количество на модель: 3
01240-00616
3
8

Номер детали на чертеже: 

8

WASHER

Заводской номер: 195-Z11-1690 Количество на модель: 3
195-Z11-1690
3
9

Номер детали на чертеже: 

9

Lock Assembly

Заводской номер: 2A5-53-12710 Количество на модель: 1
2A5-53-12710
1
10

Номер детали на чертеже: 

10

SNAP

Заводской номер: 22B-54-16330 Количество на модель: 1
22B-54-16330
1
11

Номер детали на чертеже: 

11

Striker

Заводской номер: 20Y-53-11320 Количество на модель: 1
20Y-53-11320
1
12

Номер детали на чертеже: 

12

Plate

Заводской номер: 20Y-53-12940 Количество на модель: 1
20Y-53-12940
1
13

Номер детали на чертеже: 

13

NUT

Заводской номер: 01584-01008 Количество на модель: 2
01584-01008
2
14

Номер детали на чертеже: 

14

Cover

Заводской номер: 20Y-53-12661 Количество на модель: 1
20Y-53-12661
1
15

Номер детали на чертеже: 

15

GRIP

Заводской номер: 2A5-53-13130 Количество на модель: 1
2A5-53-13130
1
16

Номер детали на чертеже: 

16

BOLT

Заводской номер: 01010-80820 Количество на модель: 2
01010-80820
2
17

Номер детали на чертеже: 

17

WASHER

Заводской номер: 01643-30823 Количество на модель: 2
01643-30823
2
18

Номер детали на чертеже: 

18

Cover

Заводской номер: 20Y-53-11441 Количество на модель: 1
20Y-53-11441
1
19

Номер детали на чертеже: 

19

RIVET

Заводской номер: 22B-54-16461 Количество на модель: 7
22B-54-16461
7
20

Номер детали на чертеже: 

20

Washer

Заводской номер: 145-Z79-6270 Количество на модель: 1
145-Z79-6270
1