8 800 700-05-95 Все контакты

C 9:00 до 20:00. Звонок по РФ бесплатный

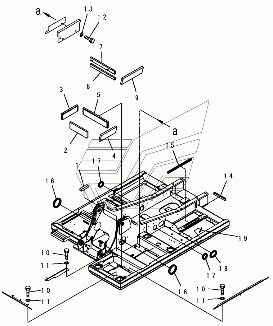
J1110-02A0 REVOLVING FRAME (SHEET AND GROMMET) PC200, 210(LC)-7. Каталог 2004г.

ВниманиеЭлектронный автокаталог запчастей предназначен для справочных целей! Наша компания продает только те товары, у которых есть цены в списке.

Вид отображения:

Детали справа
1
2
3
4
5
7
8
9
10
11
12
13
14
15
16
17
18
19
1

Номер детали на чертеже: 

1

SEAL

Заводской номер: 20Y-46-42210 Количество на модель: 1
20Y-46-42210
1
2

Номер детали на чертеже: 

2

SHEET

Заводской номер: 20Y-46-D1170 Количество на модель: 1
20Y-46-D1170
1
3

Номер детали на чертеже: 

3

SHEET

Заводской номер: 20Y-46-D1180 Количество на модель: 1
20Y-46-D1180
1
4

Номер детали на чертеже: 

4

SHEET

Заводской номер: 20Y-46-D1190 Количество на модель: 1
20Y-46-D1190
1
5

Номер детали на чертеже: 

5

SHEET

Заводской номер: 20Y-46-D1200 Количество на модель: 1
20Y-46-D1200
1
7

Номер детали на чертеже: 

7

SHEET

Заводской номер: 20Y-46-D1210 Количество на модель: 1
20Y-46-D1210
1
8

Номер детали на чертеже: 

8

SHEET

Заводской номер: 20Y-46-D1220 Количество на модель: 1
20Y-46-D1220
1
9

Номер детали на чертеже: 

9

SHEET

Заводской номер: 20Y-46-D1230 Количество на модель: 1
20Y-46-D1230
1
10

Номер детали на чертеже: 

10

BOLT

Заводской номер: 01010-81035 Количество на модель: 7
01010-81035
7
11

Номер детали на чертеже: 

11

WASHER

Заводской номер: 01643-31032 Количество на модель: 7
01643-31032
7
12

Номер детали на чертеже: 

12

BOLT

Заводской номер: 01010-81225 Количество на модель: 2
01010-81225
2
13

Номер детали на чертеже: 

13

WASHER

Заводской номер: 01643-31232 Количество на модель: 2
01643-31232
2
14

Номер детали на чертеже: 

14

SHEET

Заводской номер: 20Y-46-21890 Количество на модель: 1
20Y-46-21890
1
15

Номер детали на чертеже: 

15

SHEET

Заводской номер: 20Y-46-41150 Количество на модель: 1
20Y-46-41150
1
16

Номер детали на чертеже: 

16

GROMMET

Заводской номер: 20Y-46-41170 Количество на модель: 2
20Y-46-41170
2
17

Номер детали на чертеже: 

17

GROMMET

Заводской номер: 20Y-46-41180 Количество на модель: 2
20Y-46-41180
2
18

Номер детали на чертеже: 

18

GROMMET

Заводской номер: 20Y-46-41190 Количество на модель: 1
20Y-46-41190
1
19

Номер детали на чертеже: 

19

GROMMET

Заводской номер: 20Y-46-11281 Количество на модель: 1
20Y-46-11281
1