8 800 700-05-95 Все контакты

C 9:00 до 20:00. Звонок по РФ бесплатный

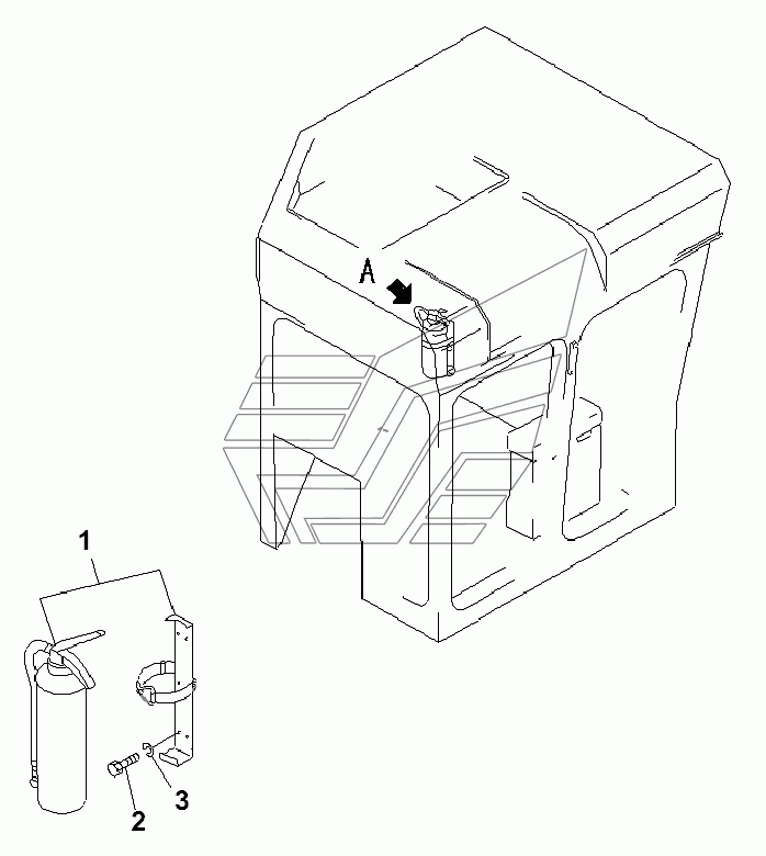
EXTINGUISHER(№31416-) D155C-1 (спец.). Каталог 2010г.

ВниманиеЭлектронный автокаталог запчастей предназначен для справочных целей! Наша компания продает только те товары, у которых есть цены в списке.

Вид отображения:

Детали справа
1
2
3
1

Номер детали на чертеже: 

1

EXTINGUISHER

Заводской номер: 09495-30010 Количество на модель: 1
09495-30010
1
2

Номер детали на чертеже: 

2

BOLT

Заводской номер: 01010-80620 Количество на модель: 6
01010-80620
6
3

Номер детали на чертеже: 

3

WASHER, SPRING

Заводской номер: 01602-20619 Количество на модель: 6
01602-20619
6