C 9:00 до 20:00. Звонок по РФ бесплатный

ARM (4.5M, R210W-9MH) R210W-9. Каталог 2013г.

ВниманиеЭлектронный автокаталог запчастей предназначен для справочных целей! Наша компания продает только те товары, у которых есть цены в списке.

Вид отображения:

Детали справа
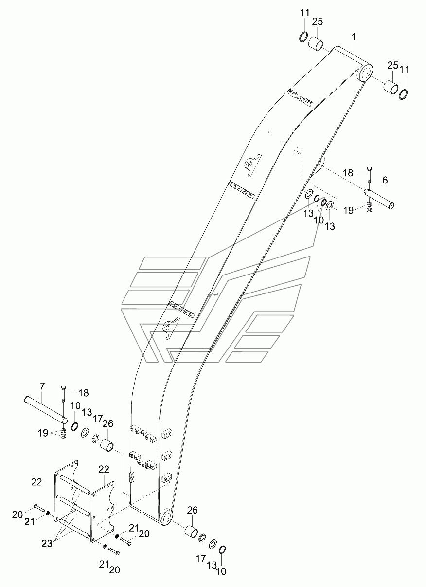
1

Номер детали на чертеже: 

1

ARM ASSY

Заводской номер: 101-5408 Количество на модель: 1
101-5408
1
6

Номер детали на чертеже: 

6

PIN

Заводской номер: 201-5256 Количество на модель: 1
201-5256
1
7

Номер детали на чертеже: 

7

PIN

Заводской номер: 2123-2192C Количество на модель: 1
2123-2192C
1
10

Номер детали на чертеже: 

10

SEAL-DUST

Заводской номер: SEAL-DUST Количество на модель: 4
SEAL-DUST
4
13

Номер детали на чертеже: 

13

SHIM

Заводской номер: 204-5109 Количество на модель: 4
204-5109
4
17

Номер детали на чертеже: 

17

SPACER

Заводской номер: SPACER Количество на модель: 2
SPACER
2
18

Номер детали на чертеже: 

18

S017-120656

Заводской номер: BOLT-HEX Количество на модель: 2
BOLT-HEX
2
19

Номер детали на чертеже: 

19

NUT-HEX

Заводской номер: NUT-HEX Количество на модель: 4
NUT-HEX
4
21

Номер детали на чертеже: 

21

WASHER-SPRING

Заводской номер: WASHER-SPRING Количество на модель: 18
WASHER-SPRING
18
22

Номер детали на чертеже: 

22

PLATE

Заводской номер: 306-1005 Количество на модель: 2
306-1005
2
23

Номер детали на чертеже: 

23

BAR

Заводской номер: 303-5006 Количество на модель: 3
303-5006
3
25

Номер детали на чертеже: 

25

BUSHING

Заводской номер: 2020022 Количество на модель: 2
2020022
2
26

Номер детали на чертеже: 

26

BUSHING

Заводской номер: 202-1036 Количество на модель: 2
202-1036
2