8 800 700-05-95 Все контакты

C 9:00 до 20:00. Звонок по РФ бесплатный

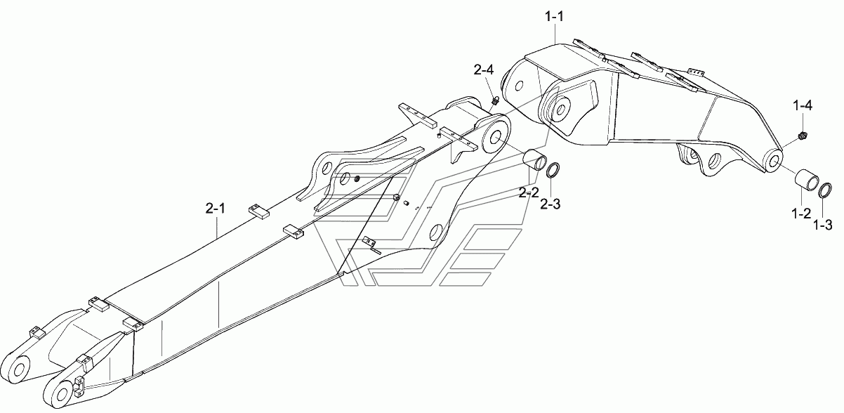
BOOM (ADJUST BOOM) R140W-9. Каталог 2013г.

ВниманиеЭлектронный автокаталог запчастей предназначен для справочных целей! Наша компания продает только те товары, у которых есть цены в списке.

Номер детали на чертеже: 

Boom Assy-1st

Заводской номер: 61Q4-19101 Количество на модель: 1
61Q4-19101
1

Номер детали на чертеже: 

NIPPLE-GREASE

Заводской номер: S651-810002 Количество на модель: 1
S651-810002
1

Номер детали на чертеже: 

Bushing

Заводской номер: 61Q4-15120 Количество на модель: 2
61Q4-15120
2

Номер детали на чертеже: 

Boom Wa-2nd

Заводской номер: 61Q4-19510 Количество на модель: 1
61Q4-19510
1

Номер детали на чертеже: 

Seal-Dust, Dli, Kpu

Заводской номер: Y020-070011 Количество на модель: 2
Y020-070011
2

Номер детали на чертеже: 

Bushing

Заводской номер: 61Q4-15100 Количество на модель: 2
61Q4-15100
2

Номер детали на чертеже: 

Boom Wa-1st

Заводской номер: 61Q4-19110 Количество на модель: 1
61Q4-19110
1

Номер детали на чертеже: 

Boom Assy-2nd

Заводской номер: 61Q4-19500 Количество на модель: 1
61Q4-19500
1

Номер детали на чертеже: 

Boom Assy-1st

Заводской номер: 61Q4-19100 Количество на модель: 1
61Q4-19100
1

Номер детали на чертеже: 

Boom Assy-2nd

Заводской номер: 61Q4-19501 Количество на модель: 1
61Q4-19501
1

Номер детали на чертеже: 

Bushing

Заводской номер: 61M9-90730 Количество на модель: 2
61M9-90730
2