8 800 700-05-95 Все контакты

C 9:00 до 20:00. Звонок по РФ бесплатный

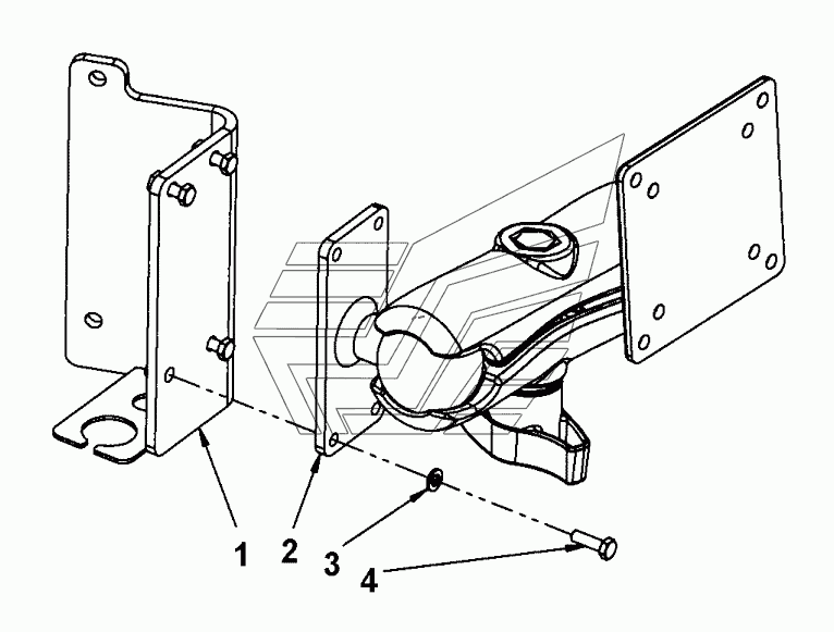
Holder Dynapac CA5000D. Каталог 2017г.

ВниманиеЭлектронный автокаталог запчастей предназначен для справочных целей! Наша компания продает только те товары, у которых есть цены в списке.

Вид отображения:

Детали справа
1
2
3
4
1

Номер детали на чертеже: 

1

Bracket

Заводской номер: 4700395888 Количество на модель: 1
4700395888
1
2

Номер детали на чертеже: 

2

Ball joint

Заводской номер: 4700394542 Количество на модель: 1
4700394542
1
3

Номер детали на чертеже: 

3

Steel plain washer

Заводской номер: 4700904228 Количество на модель: 4
4700904228
4
4

Номер детали на чертеже: 

4

Screw

Заводской номер: 4700500040 Количество на модель: 4
4700500040
4