8 800 700-05-95 Все контакты

C 9:00 до 20:00. Звонок по РФ бесплатный

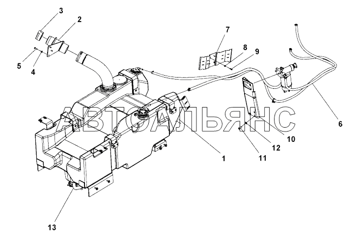
Fuel system CA2500D. Каталог 2018г.

ВниманиеЭлектронный автокаталог запчастей предназначен для справочных целей! Наша компания продает только те товары, у которых есть цены в списке.

Вид отображения:

Детали справа
1
2
3
4
5
6
7
8
9
10
11
12
13
1

Номер детали на чертеже: 

1

Fuel tank module

Заводской номер: Fuel tank module Количество на модель: 1
Fuel tank module
1
2

Номер детали на чертеже: 

2

Bracket

Заводской номер: 4812120376 Количество на модель: 1
4812120376
1
3

Номер детали на чертеже: 

3

Fuel cap

Заводской номер: 4700380436 Количество на модель: 1
4700380436
1
4

Номер детали на чертеже: 

4

Steel plain washer

Заводской номер: 4700904556 Количество на модель: 3
4700904556
3
5

Номер детали на чертеже: 

5

Hex. screw

Заводской номер: 4700500021 Количество на модель: 3
4700500021
3
6

Номер детали на чертеже: 

6

Fuel hose module

Заводской номер: 4812118060 Количество на модель: 1
4812118060
1
7

Номер детали на чертеже: 

7

Bracket

Заводской номер: 4812114212 Количество на модель: 1
4812114212
1
8

Номер детали на чертеже: 

8

Washer

Заводской номер: 4700603001 Количество на модель: 2
4700603001
2
9

Номер детали на чертеже: 

9

Bolt

Заводской номер: 4700508025 Количество на модель: 2
4700508025
2
10

Номер детали на чертеже: 

10

Bracket

Заводской номер: 4812115902 Количество на модель: 1
4812115902
1
11

Номер детали на чертеже: 

11

Hex. screw

Заводской номер: 4700500029 Количество на модель: 2
4700500029
2
12

Номер детали на чертеже: 

12

Washer

Заводской номер: 4700904230 Количество на модель: 2
4700904230
2
13

Номер детали на чертеже: 

13

Draining module, option

Заводской номер: Draining module, option Количество на модель: 1
Draining module, option
1